TOP
|
特許
|
意匠
|
商標
特許ウォッチ
Twitter
他の特許を見る
公開番号
2025135968
公報種別
公開特許公報(A)
公開日
2025-09-19
出願番号
2024034080
出願日
2024-03-06
発明の名称
廃棄物収集車両
出願人
株式会社 林物産発明研究所
代理人
主分類
B60P
3/00 20060101AFI20250911BHJP(車両一般)
要約
【課題】 本願は、廃棄物の体積を減らすことができる廃棄物収集車両を提供する。
【解決手段】 廃棄物に液体窒素を供給する液体窒素供給手段と、前記液体窒素で冷却した廃棄物を破砕する破砕手段と、前記破砕手段で破砕された廃棄物を収容する収容部を有する、廃棄物収集車両とした。
【選択図】 図1
特許請求の範囲
【請求項1】
廃棄物に液体窒素を供給する液体窒素供給手段と、
前記液体窒素で冷却した廃棄物を破砕する破砕手段と、
前記破砕手段で破砕された廃棄物を収容する収容部を有する、廃棄物収集車両。
続きを表示(約 820 文字)
【請求項2】
前記液体窒素供給手段が車室内の廃棄物に液体窒素を噴射可能であり、
前記破砕手段が車室内の廃棄物を破砕可能な位置に取り付けられている、請求項1の廃棄物収集車両。
【請求項3】
前記廃棄物収集車両の側方の路面を被覆可能なカバーと、
前記カバーの内容物を前記収容部に吸引する吸引手段を更に有し、
前記液体窒素供給手段が前記カバー内の廃棄物に液体窒素を噴射可能であり、
前記破砕手段が前記カバー内の廃棄物を破砕可能な位置に取り付けられている、請求項1の廃棄物収集車両。
【請求項4】
単一の前記破砕手段が車室内と前記カバー内で交換して取り付け可能である、請求項3の廃棄物収集車両。
【請求項5】
廃棄物に水を噴射する水噴射部を更に有する、請求項1の廃棄物収集車両。
【請求項6】
廃棄物の水分に応じて水の噴射を制御する水噴射制御手段を有する、請求項5の廃棄物収集車両。
【請求項7】
処理槽と、前記破砕手段が破砕した前記処理槽内の廃棄物を前記収容部に運搬する運搬手段を更に有し、前記液体窒素供給手段は前記処理槽に液体窒素を供給し、前記破砕手段は前記処理槽内で液体窒素に浸漬されて冷却された廃棄物を破砕する、請求項1の廃棄物収集車両。
【請求項8】
前記運搬手段は回転式の掬網状になっている、請求項7の廃棄物収集車両。
【請求項9】
液体窒素タンクと、前記処理槽から前記液体窒素タンクに液体窒素を輸送する輸送手段を更に有し、前記液体窒素供給手段は前記液体窒素タンクにある液体窒素を前記処理槽に供給する、請求項7の廃棄物収集車両。
【請求項10】
前記収容部を傾けてその内部にある破砕された廃棄物を車外に排出する排出手段を更に有する、請求項1の廃棄物収集車両。
発明の詳細な説明
【技術分野】
【0001】
本発明は、廃棄物収集車両に関する。
続きを表示(約 1,100 文字)
【背景技術】
【0002】
廃棄物を冷却し、粉砕する廃棄物処理システムが知られている(例えば、特許文献1)。
【0003】
廃棄物収集車両はゴミ収集場所(ゴミ集積場等)に置かれているゴミ等の廃棄物を収集し、廃棄物が一定量以上溜まると廃棄場(焼却場等)に行きゴミを捨てている。しかし、廃棄物は重量に対して嵩が大きい場合が多いため、少量の廃棄物で廃棄物収集車両が満載となり、その度、ゴミ収集場所と焼却場等の間を往復しなければならなかった。
【先行技術文献】
【特許文献】
【0004】
特許第3366695号公報
【発明の概要】
【発明が解決しようとする課題】
【0005】
本願は、廃棄物の体積を減少させ、及び/又は、積載可能な廃棄物量を増加させることができる廃棄物収集車両を提供することを目的とする。
【課題を解決するための手段】
【0006】
本願には、
廃棄物に液体窒素を供給する液体窒素供給手段と、
前記液体窒素で冷却した廃棄物を破砕する破砕手段と、
前記破砕手段で破砕された廃棄物を収容する収容部を有する、廃棄物収集車両が開示される。
【図面の簡単な説明】
【0007】
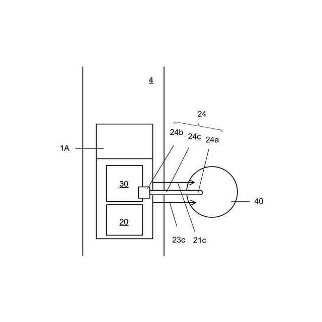
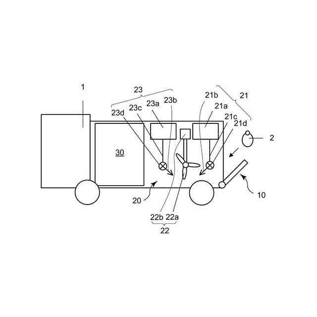
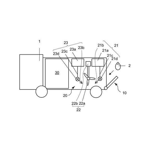
本発明の第一実施形態の廃棄物収集車両1を示す。
本発明の第二実施形態の廃棄物収集車両1Aを示す。
カバー40の拡大図を示す。
本発明の第三実施形態の廃棄物収集車両1Bを示す。
廃棄物収集車両1Bの車室が傾いた状態を示す。
【発明を実施するための形態】
【0008】
図1は、本発明の第一実施形態の廃棄物収集車両1を示す。図1に示すように、廃棄物収集車両1は、投入部10と、処理部20と、収容部30を有する。
【0009】
投入部10は、各種の廃棄物2を投入する部分である。廃棄物2は、ゴミ袋や書籍、廃材、プラスチック等種々の形態を有し得る。廃棄物2は、人(清掃員)等によって投入部10に投入可能である。
【0010】
処理部20は、廃棄物収集車両1の車室内に位置する。投入部10に投入された廃棄物2は、コンベアやローラー、スクリュー等の任意の手段によって処理部20に移動させることができる。処理部20は、処理部20の廃棄物2に対して液体窒素を噴射する液体窒素供給手段21と、液体窒素で冷却した廃棄物2を破砕する破砕手段22を有し得る。
(【0011】以降は省略されています)
この特許をJ-PlatPat(特許庁公式サイト)で参照する
関連特許
株式会社 林物産発明研究所
発電装置
20日前
個人
カーテント
4か月前
個人
タイヤレバー
2か月前
個人
前輪キャスター
1か月前
個人
車窓用防虫網戸
4か月前
個人
警告装置
5か月前
個人
上部一体型自動車
6日前
個人
車輪清掃装置
4か月前
個人
ホイルのボルト締結
3か月前
個人
タイヤ脱落防止構造
1か月前
個人
ルーフ付きトライク
2か月前
個人
マスタシリンダ
13日前
井関農機株式会社
作業車両
4か月前
日本精機株式会社
表示装置
2か月前
日本精機株式会社
表示装置
1か月前
個人
キャンピングトライク
3か月前
井関農機株式会社
作業車両
4か月前
日本精機株式会社
表示装置
2か月前
個人
車両通過構造物
2か月前
日本精機株式会社
表示装置
2か月前
個人
乗合路線バスの客室装置
2か月前
個人
ワイパーゴム性能保持具
4か月前
個人
車両用スリップ防止装置
3か月前
個人
キャンピングトレーラー
3か月前
個人
アクセルのソフトウェア
3か月前
株式会社ニフコ
照明装置
1か月前
株式会社ニフコ
保持装置
3か月前
日本精機株式会社
車載表示装置
21日前
株式会社クラベ
ヒータユニット
4か月前
日本精機株式会社
車室演出装置
1か月前
個人
車載小物入れ兼雨傘収納具
3か月前
個人
円湾曲ホイール及び球体輪
2か月前
日本精機株式会社
車載表示装置
3か月前
個人
音声ガイド、音声サービス
2か月前
株式会社ニフコ
収納装置
1か月前
井関農機株式会社
収穫作業車両
4か月前
続きを見る
他の特許を見る