TOP
|
特許
|
意匠
|
商標
特許ウォッチ
Twitter
他の特許を見る
10個以上の画像は省略されています。
公開番号
2025137160
公報種別
公開特許公報(A)
公開日
2025-09-19
出願番号
2024036210
出願日
2024-03-08
発明の名称
加工方法及びレーザ加工プログラム
出願人
株式会社ディスコ
代理人
弁理士法人酒井国際特許事務所
主分類
H01L
21/301 20060101AFI20250911BHJP(基本的電気素子)
要約
【課題】分割不良を抑制することができること。
【解決手段】加工方法は、基材と基材に積層されたデバイス層とを有し、複数の分割予定ラインが設定された被加工物の加工方法であって、デバイス層は、少なくとも分割予定ラインに重なる領域に特定層を含み、基材を介して被加工物の分割予定ラインに沿ってレーザビームを照射してデバイス層を構成する特定層を変質させる特定層変質ステップ1001と、特定層変質ステップ1001を実施した後、分割予定ラインに沿ってレーザビームを照射して基材に分割予定ラインに沿った改質層を形成するとともに改質層から伸長しデバイス層を分断するクラックを形成する改質ステップ1002と、を備える。
【選択図】図3
特許請求の範囲
【請求項1】
基材と該基材に積層されたデバイス層とを有し、複数の分割予定ラインが設定された被加工物の加工方法であって、
該デバイス層は、複数の層が積層されて構成され、
該基材を介して被加工物の該分割予定ラインに沿ってレーザビームを照射して該デバイス層を構成する特定層を変質させる特定層変質ステップと、
該特定層変質ステップを実施した後、該分割予定ラインに沿ってレーザビームを照射して該基材に該分割予定ラインに沿った改質層を形成するとともに該改質層から伸長し該デバイス層を分断するクラックを形成する改質ステップと、を備えた加工方法。
続きを表示(約 720 文字)
【請求項2】
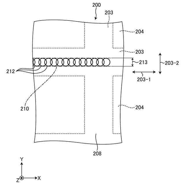
該特定層変質ステップでは、該特定層の該分割予定ラインの伸長方向と直交する方向に所定の幅を有した領域に該レーザビームが照射される、請求項1に記載の加工方法。
【請求項3】
該特定層変質ステップでは、該レーザビームの集光点を該特定層とは異なる位置に位置付けて該レーザビームを照射する、請求項2に記載の加工方法。
【請求項4】
該特定層変質ステップでは、該分割予定ラインに沿ってパルスレーザビームを照射し、
1のパルスレーザビームが該特定層に照射されたパルスレーザビームスポットと、次の該パルスレーザビームが該特定層に照射されたパルスレーザビームスポットと、が互いに重なるように照射される、請求項2または請求項3に記載の加工方法。
【請求項5】
該改質ステップを実施した後、該基材を研削して薄化する研削ステップを更に備えた、請求項1に記載の加工方法。
【請求項6】
基材と該基材に積層されたデバイス層とを有し、複数の分割予定ラインが設定された被加工物を加工するレーザ加工プログラムであって、
該デバイス層は、複数の層が積層されて構成され、
該基材を介して被加工物の該分割予定ラインに沿ってレーザビームを照射して該デバイス層を構成する特定層を変質させる特定層変質ステップと、
該特定層変質ステップを実施した後、該分割予定ラインに沿ってレーザビームを照射して該基材に該分割予定ラインに沿った改質層を形成するとともに該改質層から伸長し該デバイス層を分断するクラックを形成する改質ステップと、をコンピュータに実行させるレーザ加工プログラム。
発明の詳細な説明
【技術分野】
【0001】
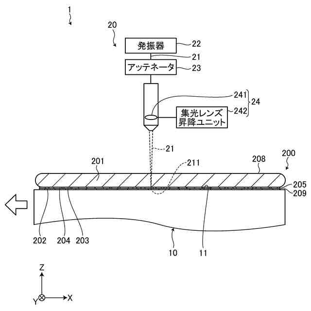
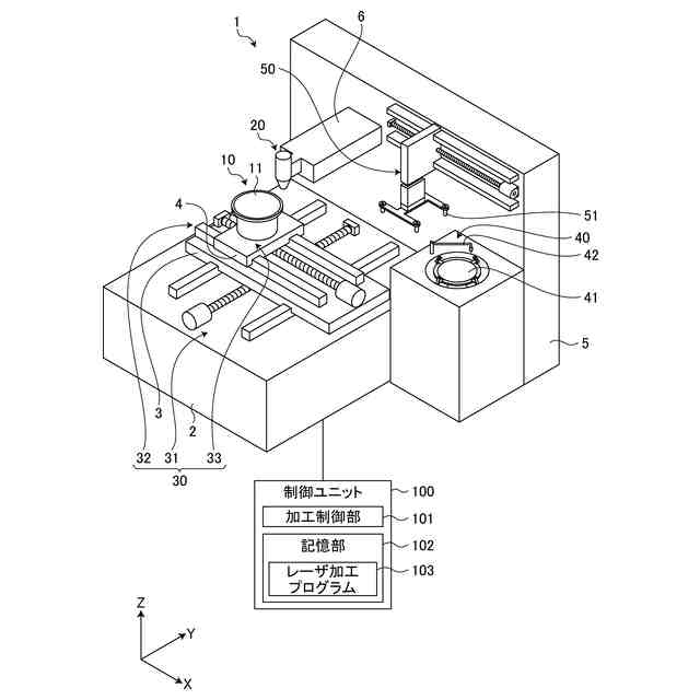
本発明は、基材とデバイス層とを有した被加工物の加工方法及びレーザ加工プログラムに関する。
続きを表示(約 1,200 文字)
【背景技術】
【0002】
例えば、半導体基材上にデバイスを構成するデバイス層が積層された半導体ウェーハの分割に際してレーザビームを利用する加工方法が提案されている(例えば、特許文献1参照)。
【0003】
特許文献1に示された加工方法は、レーザビームを半導体ウェーハ内部に集光させつつストリートに沿って照射することで半導体基材の内部に改質層を形成し、改質層から半導体ウェーハの表面に向かってクラックを伸長させている。
【先行技術文献】
【特許文献】
【0004】
特開2005-86161号公報
【発明の概要】
【発明が解決しようとする課題】
【0005】
しかし、特許文献1に示された加工方法は、デバイス層の厚みや材質等によっては、改質層からクラックがまっすぐ伸びず、斜めに伸長したり、改質層からクラックが二股に伸長したりする場合があり、このような分割不良の場合、半導体ウェーハが分割されて形成されるチップの外径サイズにばらつきが生じてしまうため、改善が切望されている。
【0006】
本発明の目的は、分割不良を抑制することができる加工方法及びレーザ加工プログラムを提供することである。
【課題を解決するための手段】
【0007】
上述した課題を解決し、目的を達成するために、本発明の加工方法は、基材と該基材に積層されたデバイス層とを有し、複数の分割予定ラインが設定された被加工物の加工方法であって、該デバイス層は、複数の層が積層されて構成され、該基材を介して被加工物の該分割予定ラインに沿ってレーザビームを照射して該デバイス層を構成する特定層を変質させる特定層変質ステップと、該特定層変質ステップを実施した後、該分割予定ラインに沿ってレーザビームを照射して該基材に該分割予定ラインに沿った改質層を形成するとともに該改質層から伸長し該デバイス層を分断するクラックを形成する改質ステップと、を備えたことを特徴とする。
【0008】
前記加工方法において、該特定層変質ステップでは、該特定層の該分割予定ラインの伸長方向と直交する方向に所定の幅を有した領域に該レーザビームが照射されてもよい。
【0009】
前記加工方法において、該特定層変質ステップでは、該レーザビームの集光点を該特定層とは異なる位置に位置付けて該レーザビームを照射してもよい。
【0010】
前記加工方法において、該特定層変質ステップでは、該分割予定ラインに沿ってパルスレーザビームを照射し、1のパルスレーザビームが該特定層に照射されたパルスレーザビームスポットと、次の該パルスレーザビームが該特定層に照射されたパルスレーザビームスポットと、が互いに重なるように照射されてもよい。
(【0011】以降は省略されています)
この特許をJ-PlatPat(特許庁公式サイト)で参照する
関連特許
株式会社ディスコ
ノズル
13日前
株式会社ディスコ
加工方法
14日前
株式会社ディスコ
切削装置
6日前
株式会社ディスコ
加工装置
15日前
株式会社ディスコ
フレーム
13日前
株式会社ディスコ
研削装置
29日前
株式会社ディスコ
診断方法
3日前
株式会社ディスコ
切削装置
13日前
株式会社ディスコ
加工装置
13日前
株式会社ディスコ
加工装置
22日前
株式会社ディスコ
研磨装置
今日
株式会社ディスコ
シート貼着装置
14日前
株式会社ディスコ
加工水供給装置
6日前
株式会社ディスコ
ノズルユニット
3日前
株式会社ディスコ
接合強度検査方法
23日前
株式会社ディスコ
ドレッシング方法
27日前
株式会社ディスコ
液体供給システム
13日前
株式会社ディスコ
切削ブレード治具
3日前
株式会社ディスコ
チャックテーブル
23日前
株式会社ディスコ
ウエーハの加工方法
24日前
株式会社ディスコ
洗浄液供給システム
23日前
株式会社ディスコ
ウェーハの製造方法
21日前
株式会社ディスコ
被加工物の加工方法
21日前
株式会社ディスコ
被加工物の加工方法
13日前
株式会社ディスコ
洗浄装置及び洗浄方法
27日前
株式会社ディスコ
測定方法及び測定治具
29日前
株式会社ディスコ
切削方法及び切削装置
21日前
株式会社ディスコ
洗浄装置及び洗浄方法
今日
株式会社ディスコ
搬送機構および搬送方法
今日
株式会社ディスコ
押圧試験装置の評価方法
13日前
株式会社ディスコ
積層ウェーハの加工方法
3日前
株式会社ディスコ
貼り合わせ基板の加工方法
13日前
株式会社ディスコ
異常予知方法及び加工装置
24日前
株式会社ディスコ
廃液処理装置及び洗浄方法
15日前
株式会社ディスコ
切削ブレードのドレス方法
21日前
株式会社ディスコ
保持プレート及び洗浄装置
15日前
続きを見る
他の特許を見る