TOP
|
特許
|
意匠
|
商標
特許ウォッチ
Twitter
他の特許を見る
10個以上の画像は省略されています。
公開番号
2025137349
公報種別
公開特許公報(A)
公開日
2025-09-19
出願番号
2024153724,2024532797
出願日
2024-09-06,2024-03-08
発明の名称
運送計画装置および運送計画方法
出願人
三菱電機株式会社
代理人
個人
,
個人
,
個人
主分類
G08G
1/09 20060101AFI20250911BHJP(信号)
要約
【課題】移動体が自動運転可能な経路以外でも人や物を運送することが可能な運送計画装置を提供する。
【解決手段】運送計画装置3は、少なくとも運送先を含む運送情報に基づいて、前記運送先までの移動体5の運送経路を決定する運送経路決定部31と、前記運送経路のうち、遠隔オペレータによる前記移動体5の遠隔操作を行う遠隔運送経路を決定する遠隔操作決定部32と、を備える。
【選択図】図1
特許請求の範囲
【請求項1】
少なくとも運送先を含む運送情報に基づいて、前記運送先までの移動体の運送経路を決定する運送経路決定部と、
前記移動体の自動運転の法規制、前記移動体の状態および残走行可能距離を示す移動体情報、前記移動体の位置と遠隔操作装置の位置との距離、ならびに前記移動体に搭載されたセンサの状態のうち少なくとも一つに基づいて、前記運送経路のうち遠隔オペレータによる前記移動体の遠隔操作を行う遠隔運送経路を決定する遠隔操作決定部と、
を備える、運送計画装置。
続きを表示(約 920 文字)
【請求項2】
請求項1に記載の運送計画装置であって、
前記運送経路決定部は、前記運送先と運送希望時間とを含む前記運送情報に基づいて、前記運送経路を決定する、運送計画装置。
【請求項3】
請求項1または2に記載の運送計画装置であって、
前記運送経路決定部は、前記運送情報とユーザが指定する指定情報と地理データとに基づいて、前記運送経路を決定する、運送計画装置。
【請求項4】
請求項1または2に記載の運送計画装置であって、
前記遠隔操作決定部は、前記移動体に関する移動体データに基づいて、前記遠隔運送経路を決定する、運送計画装置。
【請求項5】
請求項1または2に記載の運送計画装置であって、
前記遠隔操作決定部は、前記遠隔オペレータに関する遠隔オペレータデータに基づいて、前記遠隔運送経路を決定する、運送計画装置。
【請求項6】
請求項1または2に記載の運送計画装置であって、
前記遠隔操作決定部は、制御成否情報に基づいて、前記遠隔運送経路を決定する、運送計画装置。
【請求項7】
請求項1または2に記載の運送計画装置であって、
前記遠隔操作決定部は、前記移動体情報に基づいて、前記遠隔運送経路における前記移動体の割り当てを行う、運送計画装置。
【請求項8】
請求項4に記載の運送計画装置であって、
前記遠隔操作決定部は、前記移動体データに基づいて、前記遠隔運送経路における前記移動体の割り当てを行う、運送計画装置。
【請求項9】
請求項5に記載の運送計画装置であって、
前記遠隔操作決定部は、前記遠隔オペレータデータに基づいて、前記遠隔運送経路における前記遠隔オペレータの割り当てを行う、運送計画装置。
【請求項10】
請求項1または2に記載の運送計画装置であって、
前記遠隔操作決定部は、現地オペレータに関する現地オペレータデータに基づいて、前記現地オペレータの割り当てを行う、運送計画装置。
(【請求項11】以降は省略されています)
発明の詳細な説明
【技術分野】
【0001】
本開示は、移動体を用いて人や物を運送する運送計画装置および運送計画方法に関する。
続きを表示(約 1,500 文字)
【背景技術】
【0002】
製造業の活発化やECサイトの普及により、世界各国で物流需要が増加している。その一方で、物流の一端を担う運送業のドライバ不足が問題となっている。
【0003】
特許文献1には、無人の移動体によって荷物を配送する配送システム及び処理サーバが開示されている。
【先行技術文献】
【特許文献】
【0004】
特開2020-83600号公報
【発明の概要】
【発明が解決しようとする課題】
【0005】
特許文献1に開示される従来の技術では、移動体が自動運転可能な経路以外では荷物を配送できなくなるという問題があった。
【0006】
本開示は、上述の課題を解決するためになされたもので、移動体が自動運転可能な経路以外でも人や物を運送することが可能な運送計画装置および運送計画方法を提供することを目的とする。
【課題を解決するための手段】
【0007】
本開示にかかる運送計画装置は、少なくとも運送先を含む運送情報に基づいて、前記運送先までの移動体の運送経路を決定する運送経路決定部と、前記移動体の自動運転の法規制、前記移動体の状態および残走行可能距離を示す移動体情報、前記移動体の位置と遠隔操作装置の位置との距離、ならびに前記移動体に搭載されたセンサの状態のうち少なくとも一つに基づいて、前記運送経路のうち遠隔オペレータによる前記移動体の遠隔操作を行う遠隔運送経路を決定する遠隔操作決定部と、を備える。
【0008】
また、本開示にかかる運送計画方法は、少なくとも運送先を含む運送情報に基づいて、前記運送先までの移動体の運送経路を決定するステップと、前記移動体の自動運転の法規制、前記移動体の状態および残走行可能距離を示す移動体情報、前記移動体の位置と遠隔操作装置の位置との距離、ならびに前記移動体に搭載されたセンサの状態のうち少なくとも一つに基づいて、前記運送経路のうち遠隔オペレータによる前記移動体の遠隔操作を行う遠隔運送経路を決定するステップと、を備える。
【発明の効果】
【0009】
本開示にかかる運送計画装置および運送計画方法は、移動体が自動運転可能な経路以外でも人や物を運送することができるという効果を奏する。
【図面の簡単な説明】
【0010】
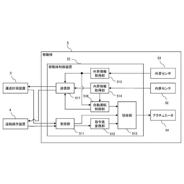
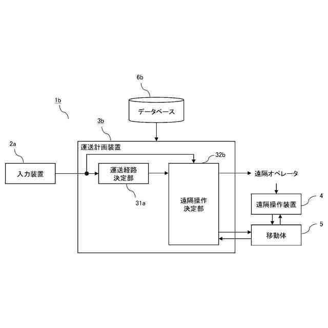
実施の形態1にかかる運送計画システムの構成図の一例である。
実施の形態1から4にかかる遠隔操作装置の構成図の一例である。
実施の形態1から4にかかる移動体の構成図の一例である。
実施の形態1にかかる運送計画装置の動作の一例を示すフローチャートである。
実施の形態2にかかる運送計画システムの構成図の一例である。
実施の形態2にかかる運送計画装置の動作の一例を示すフローチャートである。
実施の形態3にかかる運送計画システムの構成図の一例である。
実施の形態3にかかる運送計画装置の動作の一例を示すフローチャートである。
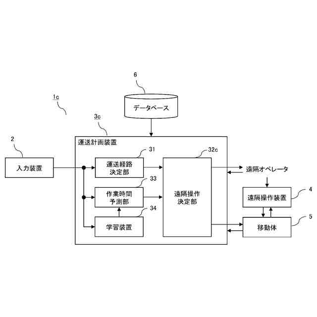
実施の形態4にかかる運送計画システムの構成図の一例である。
実施の形態4にかかる学習装置の構成図の一例である。
実施の形態4にかかる運送計画装置の動作の一例を示すフローチャートである。
実施の形態1から4にかかる運送計画装置のハードウェア構成を示す図である。
【発明を実施するための形態】
(【0011】以降は省略されています)
この特許をJ-PlatPat(特許庁公式サイト)で参照する
関連特許
三菱電機株式会社
計測器
1か月前
三菱電機株式会社
冷蔵庫
1か月前
三菱電機株式会社
回転電機
28日前
三菱電機株式会社
照明装置
1か月前
三菱電機株式会社
照明装置
25日前
三菱電機株式会社
照明器具
1か月前
三菱電機株式会社
換気装置
1か月前
三菱電機株式会社
回転電機
1か月前
三菱電機株式会社
回転電機
1か月前
三菱電機株式会社
照明器具
1か月前
三菱電機株式会社
回転電機
14日前
三菱電機株式会社
電子機器
1か月前
三菱電機株式会社
回転電機
4日前
三菱電機株式会社
照明装置
14日前
三菱電機株式会社
照明装置
1か月前
三菱電機株式会社
照明装置
1か月前
三菱電機株式会社
照明装置
1か月前
三菱電機株式会社
回路遮断器
1か月前
三菱電機株式会社
半導体装置
14日前
三菱電機株式会社
半導体装置
24日前
三菱電機株式会社
半導体装置
1か月前
三菱電機株式会社
半導体装置
8日前
三菱電機株式会社
加熱調理器
1か月前
三菱電機株式会社
半導体装置
1か月前
三菱電機株式会社
半導体装置
1か月前
三菱電機株式会社
回路遮断器
1か月前
三菱電機株式会社
電気掃除機
1か月前
三菱電機株式会社
半導体装置
1か月前
三菱電機株式会社
半導体装置
1か月前
三菱電機株式会社
加熱調理器
7日前
三菱電機株式会社
加熱調理器
1か月前
三菱電機株式会社
梱包チューブ
1か月前
三菱電機株式会社
制御システム
1か月前
三菱電機株式会社
埋込プレート
1か月前
三菱電機株式会社
回転電機装置
28日前
三菱電機株式会社
電源システム
1か月前
続きを見る
他の特許を見る