TOP
|
特許
|
意匠
|
商標
特許ウォッチ
Twitter
他の特許を見る
10個以上の画像は省略されています。
公開番号
2025138134
公報種別
公開特許公報(A)
公開日
2025-09-25
出願番号
2024037036
出願日
2024-03-11
発明の名称
慣性センサーおよび車両
出願人
セイコーエプソン株式会社
代理人
個人
,
個人
,
個人
主分類
G01C
19/5783 20120101AFI20250917BHJP(測定;試験)
要約
【課題】角速度の検出精度を高めることのできる慣性センサーおよび車両を提供すること。
【解決手段】慣性センサーは、収容空間を有するパッケージと、前記収容空間に配置され、第1加速度センサー素子および第1角速度センサー素子を備えるセンサーユニットと、露出した状態で前記収容空間に配置され、角速度検出軸が前記第1角速度センサー素子と同じである第2角速度センサー素子と、前記収容空間に配置され、前記センサーユニットおよび前記第2角速度センサー素子と電気的に接続されている回路素子と、を有する。
【選択図】図2
特許請求の範囲
【請求項1】
収容空間を有するパッケージと、
前記収容空間に配置され、第1加速度センサー素子および第1角速度センサー素子を備えるセンサーユニットと、
露出した状態で前記収容空間に配置され、角速度検出軸が前記第1角速度センサー素子と同じである第2角速度センサー素子と、
前記収容空間に配置され、前記センサーユニットおよび前記第2角速度センサー素子と電気的に接続されている回路素子と、を有することを特徴とする慣性センサー。
続きを表示(約 820 文字)
【請求項2】
前記第2角速度センサー素子は、前記角速度検出軸に沿う方向からの平面視で、前記センサーユニットおよび前記回路素子の少なくとも一方と重なって配置されている請求項1に記載の慣性センサー。
【請求項3】
前記第2角速度センサー素子は、支持基板を介して前記パッケージに支持されている請求項2に記載の慣性センサー。
【請求項4】
前記角速度検出軸に直交し、かつ、互いに直交する方向を第1軸方向および第2軸方向としたとき、
前記第2角速度センサー素子の前記第1軸方向の長さは、前記第1角速度センサー素子の前記第1軸方向の長さよりも大きい請求項1に記載の慣性センサー。
【請求項5】
前記第2角速度センサー素子の前記第2軸方向の長さは、前記第1角速度センサー素子の前記第2軸方向の長さよりも大きい請求項4に記載の慣性センサー。
【請求項6】
前記第2角速度センサー素子の前記第1軸方向の長さは、前記第1加速度センサー素子の前記第1軸方向の長さよりも大きい請求項4に記載の慣性センサー。
【請求項7】
前記第2角速度センサー素子の前記第2軸方向の長さは、前記第1加速度センサー素子の前記第2軸方向の長さよりも大きい請求項4に記載の慣性センサー。
【請求項8】
前記収容空間は、減圧されている請求項1に記載の慣性センサー。
【請求項9】
前記第2角速度センサー素子の出力信号のバイアス誤差は、前記第1角速度センサー素子の出力信号のバイアス誤差よりも小さい請求項1に記載の慣性センサー。
【請求項10】
前記回路素子は、前記第1角速度センサー素子と前記第2角速度センサー素子との前記角速度検出軸の角度誤差を補正する整合処理部を有する請求項1に記載の慣性センサー。
(【請求項11】以降は省略されています)
発明の詳細な説明
【技術分野】
【0001】
本発明は、慣性センサーおよび車両に関する。
続きを表示(約 2,400 文字)
【背景技術】
【0002】
特許文献1に記載された慣性センサーモジュールは、ベース基板と、ベース基板に搭載された第1センサー、第2センサーおよび第3センサーと、第1センサー、第2センサーおよび第3センサーを覆うようにベース基板に被せられた蓋体と、を有する。また、第1センサーは、X軸まわりの角速度を検出する第1ジャイロセンサー素子と、Y軸まわりの角速度を検出する第2ジャイロセンサー素子と、Z軸まわりの角速度を検出する第3ジャイロセンサー素子と、を有する3軸角速度センサーである。また、第3センサーは、X軸方向の加速度を検出する第1加速度センサー素子と、Y軸方向の加速度を検出する第2加速度センサー素子と、Z軸方向の加速度を検出する第3加速度センサー素子と、を有する3軸加速度センサーである。また、第2センサーは、Z軸まわりの角速度を検出する振動ジャイロセンサー素子を備え、前述した第3ジャイロセンサー素子よりもZ軸まわりの角速度を高精度に検出することができる。
【先行技術文献】
【特許文献】
【0003】
特開2023-050622号公報
【発明の概要】
【発明が解決しようとする課題】
【0004】
ここで、振動ジャイロセンサー素子の角速度検出精度を高めるには、振動ジャイロセンサー素子の大型化が有効である。しかしながら、特許文献1の慣性センサーモジュールでは、振動ジャイロセンサー素子がパッケージに収容された構成となっている。そのため、パッケージ分だけ、振動ジャイロセンサー素子を小さくせざるを得ず、振動ジャイロセンサー素子の角速度検出精度をさらに高めることが困難である。
【課題を解決するための手段】
【0005】
本発明の慣性センサーは、収容空間を有するパッケージと、
前記収容空間に配置され、第1加速度センサー素子および第1角速度センサー素子を備えるセンサーユニットと、
露出した状態で前記収容空間に配置され、角速度検出軸が前記第1角速度センサー素子と同じである第2角速度センサー素子と、
前記収容空間に配置され、前記センサーユニットおよび前記第2角速度センサー素子と電気的に接続されている回路素子と、を有する。
【0006】
本発明の車両は、上述の慣性センサーを備え、
前記角速度検出軸がヨー軸に沿っている。
【図面の簡単な説明】
【0007】
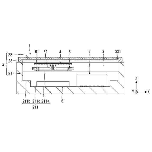
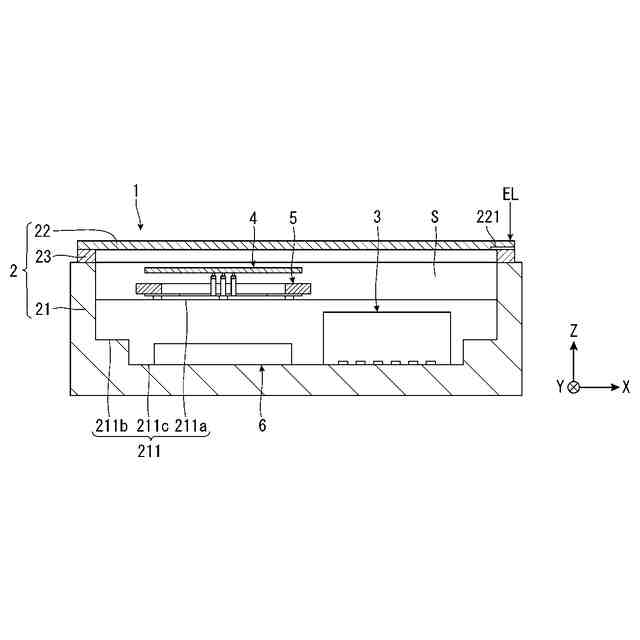
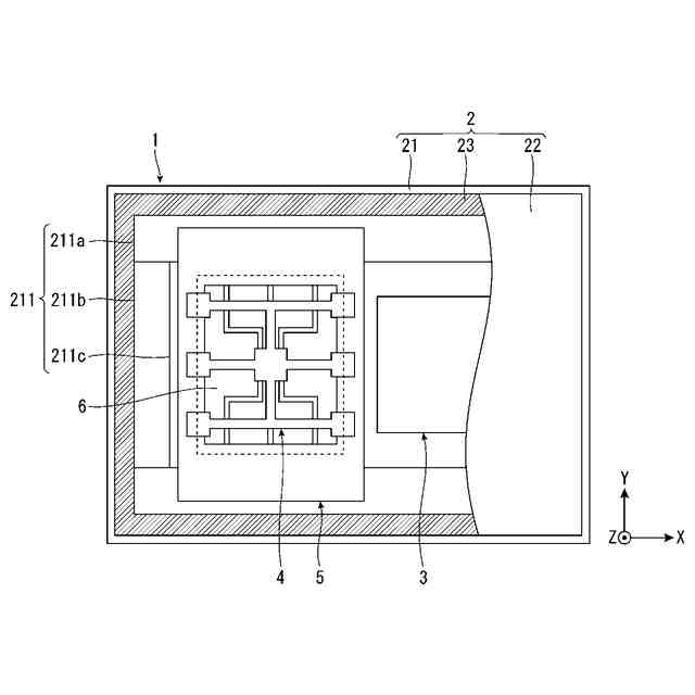
第1実施形態に係る慣性センサーの内部を示す上面図である。
慣性センサーをY軸方向マイナス側から見た断面図である。
封止前の慣性センサーをY軸方向マイナス側から見た断面図である。
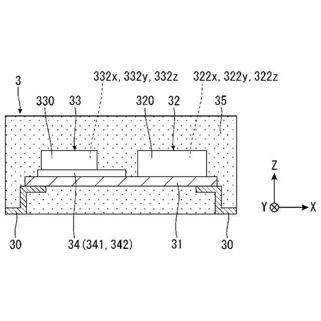
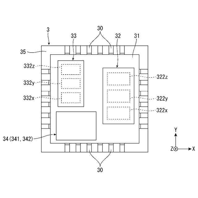
センサーユニットの内部を示す上面図である。
センサーユニットをY軸方向マイナス側から見た断面図である。
3軸角速度センサーをX軸方向マイナス側から見た断面図である。
3軸加速度センサーをX軸方向マイナス側から見た断面図である。
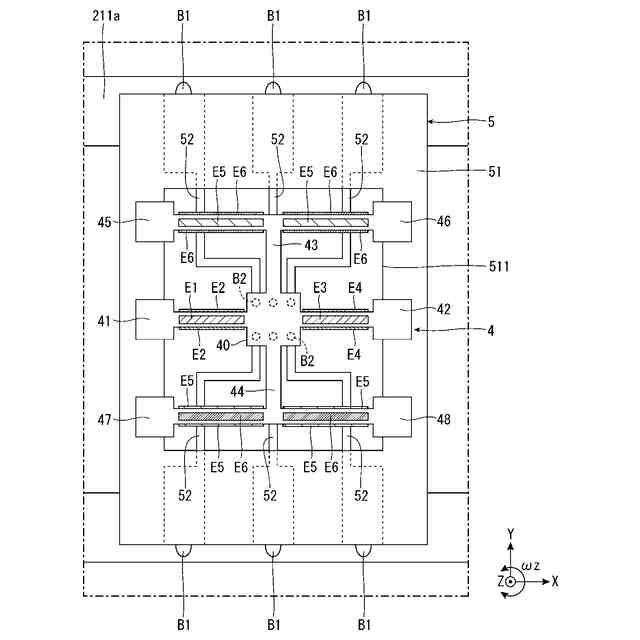
角速度センサー素子の上面図である。
角速度センサーの駆動状態を示す模式図である。
角速度センサーの駆動状態を示す模式図である。
角速度センサー素子、センサーユニットおよび回路素子のサイズを示す上面図である。
回路素子の機能を示すブロック図である。
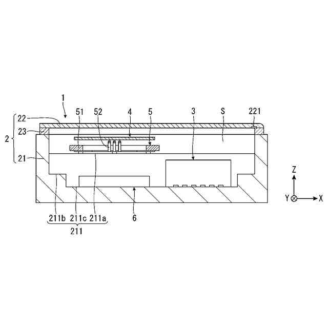
図1に示す慣性センサーの変形例を示す断面図である。
図1に示す慣性センサーの変形例を示す断面図である。
図1に示す慣性センサーの変形例を示す断面図である。
図1に示す慣性センサーの変形例を示す断面図である。
図1に示す慣性センサーの変形例を示す断面図である。
図1に示す慣性センサーの変形例を示す断面図である。
第2実施形態に係る車両を示す模式図である。
【発明を実施するための形態】
【0008】
以下、本発明の慣性センサーおよび車両を添付図面に示す実施形態に基づいて詳細に説明する。なお、説明の便宜上、図12を除く各図には、互いに直交する3軸をX軸、Y軸およびZ軸として図示している。また、以下では、説明の便宜上、第1軸方向であるX軸と平行な方向を「X軸方向」とも言い、第2軸方向であるY軸と平行な方向を「Y軸方向」とも言い、Z軸と平行な方向を「Z軸方向」とも言う。また、Z軸方向の矢印側を「上」、反対側を「下」とも言う。
【0009】
<第1実施形態>
図1は、第1実施形態に係る慣性センサーの内部を示す上面図である。図2は、慣性センサーをY軸方向マイナス側から見た断面図である。図3は、封止前の慣性センサーをY軸方向マイナス側から見た断面図である。図4は、センサーユニットの内部を示す上面図である。図5は、センサーユニットをY軸方向マイナス側から見た断面図である。図6は、3軸角速度センサーをX軸方向マイナス側から見た断面図である。図7は、3軸加速度センサーをX軸方向マイナス側から見た断面図である。図8は、角速度センサー素子の上面図である。図9および図10は、それぞれ、角速度センサーの駆動状態を示す模式図である。図11は、角速度センサー素子、センサーユニットおよび回路素子のサイズを示す上面図である。図12は、回路素子の機能を示すブロック図である。図13ないし図18は、それぞれ、図1に示す慣性センサーの変形例を示す断面図である。
【0010】
図1および図2に示す慣性センサー1は、パッケージ2と、パッケージ2に収容されたセンサーユニット3、第2角速度センサー素子としての角速度センサー素子4、支持基板5および回路素子6と、を有する。
(【0011】以降は省略されています)
この特許をJ-PlatPat(特許庁公式サイト)で参照する
関連特許
個人
計量スプーン
23日前
個人
微小振動検出装置
1か月前
株式会社イシダ
X線検査装置
1か月前
日本精機株式会社
位置検出装置
1日前
日本精機株式会社
位置検出装置
1日前
日本精機株式会社
位置検出装置
1日前
大和製衡株式会社
組合せ秤
6日前
大和製衡株式会社
組合せ秤
6日前
アンリツ株式会社
分光器
29日前
トヨタ自動車株式会社
表示装置
15日前
株式会社東芝
センサ
6日前
トヨタ自動車株式会社
検査装置
3日前
株式会社ユーシン
操作検出装置
3日前
株式会社東芝
センサ
1か月前
アンリツ株式会社
分光器
29日前
株式会社東芝
センサ
6日前
ダイハツ工業株式会社
測定用具
27日前
TDK株式会社
磁気センサ
23日前
株式会社ヨコオ
コンタクタ
27日前
個人
粘塑性を用いた有限要素法の定式化
15日前
株式会社精工技研
光電圧プローブ
1か月前
TDK株式会社
磁気センサ
1か月前
株式会社ナリス化粧品
角層細胞採取用具
13日前
東レエンジニアリング株式会社
計量装置
3日前
株式会社熊谷組
RI計測装置
1日前
三菱マテリアル株式会社
温度センサ
13日前
成田空港給油施設株式会社
保持治具
14日前
三菱マテリアル株式会社
温度センサ
13日前
株式会社関電工
検相器用治具
21日前
TDK株式会社
磁気計測装置
14日前
国立大学法人京都大学
バイオセンサ
1か月前
大陽日酸株式会社
液面センサ
1か月前
個人
材料特性パラメータの算定方法
23日前
中国電力株式会社
異常箇所検出装置
14日前
富士電機株式会社
半導体パッケージ
23日前
大同特殊鋼株式会社
超音波探傷方法
23日前
続きを見る
他の特許を見る