TOP
|
特許
|
意匠
|
商標
特許ウォッチ
Twitter
他の特許を見る
10個以上の画像は省略されています。
公開番号
2025138264
公報種別
公開特許公報(A)
公開日
2025-09-25
出願番号
2024037253
出願日
2024-03-11
発明の名称
化学反応方法及び反応装置
出願人
国立大学法人大阪大学
代理人
弁理士法人ユニアス国際特許事務所
主分類
B01J
19/12 20060101AFI20250917BHJP(物理的または化学的方法または装置一般)
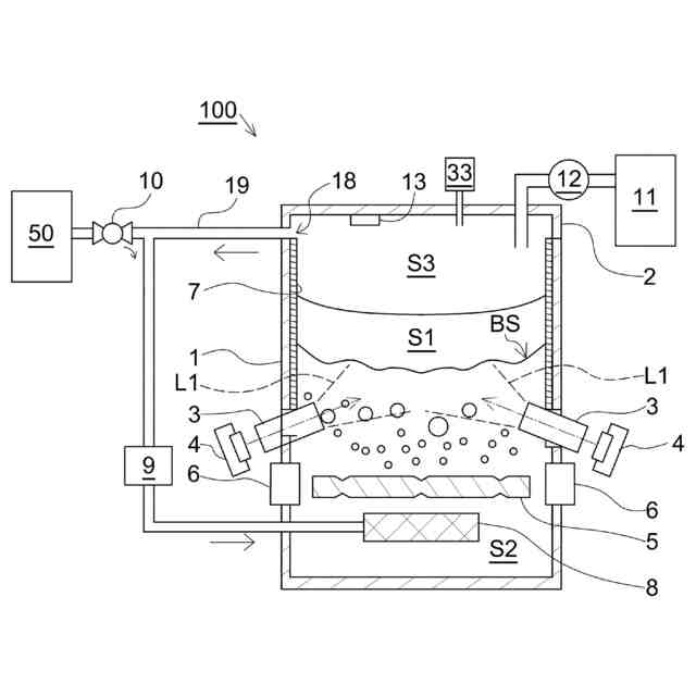
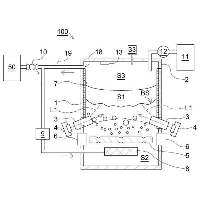
要約
【課題】極性溶質と非極性溶質を効率的に化学反応させる方法及び装置を提供する。
【解決手段】前記方法は、前記極性溶質を主に含む第一溶液と前記非極性溶質を主に含む第二溶液とが混合された混合液に、光源からの光を照射するとともに、前記非極性溶質の存在量及び前記極性溶質の存在量の少なくとも一方を前記第一溶液で反射する光または前記第一溶液を透過する光、またはその他のセンサによって推定する手段に基づいて、前記極性溶質の前駆体を追加的に供給する。前記装置は、前記混合液に光源からの光を照射する光照射部と、前記極性溶質の前駆体を追加的に供給する前駆体供給部と、前記第一溶液からの反射光または透過光を検出する検出部と、推定した前記非極性溶質の存在量及び前記極性溶質の存在量の少なくとも一方に基づいて、前記前駆体供給部が供給する前記前駆体の供給量を決定する演算部を有する。
【選択図】図1
特許請求の範囲
【請求項1】
極性溶質と非極性溶質を化学反応させる方法であって、前記方法は、
前記極性溶質を主に含む第一溶液と前記非極性溶質を主に含む第二溶液とが混合された混合液に、光源からの光を照射するとともに、前記非極性溶質の存在量及び前記極性溶質の存在量の少なくとも一方を前記第一溶液で反射する光または前記第一溶液を透過する光、またはその他のセンサによって推定する手段に基づいて、前記極性溶質の前駆体を追加的に供給することを特徴とする方法。
続きを表示(約 1,100 文字)
【請求項2】
前記極性溶質の前駆体の供給されるモル濃度は、生成される前記極性溶質のモル濃度より10倍以上高いことを特徴とする、請求項1に記載の方法。
【請求項3】
前記前駆体を追加的に供給する容器内に撹拌子があり、前記撹拌子を使用して撹拌しながら、前記前駆体を追加的に供給することを特徴とする、請求項1に記載の方法。
【請求項4】
前記前駆体を追加的に供給する容器と、前記混合液の入れられた、かつ、前記光が照射される容器が同じであることを特徴とする、請求項1に記載の方法。
【請求項5】
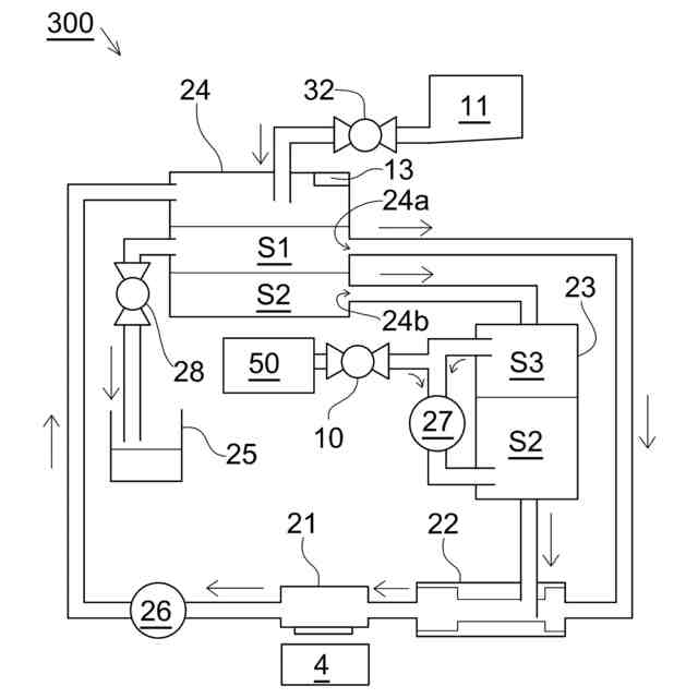
混合部で前記第一溶液と前記第二溶液を混合させ、
前記混合部の下流に位置する光照射部で、前記混合部で混合させた混合液に前記光を照射することを特徴とする、請求項1に記載の方法。
【請求項6】
光照射後の混合液を回収し、回収した混合液を、前記第一溶液と前記第二溶液に分離し、分離した前記第一溶液と前記第二溶液を再び前記混合部で混合することを特徴とする、請求項5に記載の方法。
【請求項7】
前記回収した混合液を回収槽内で二層に分離させ、上層から前記第一溶液を抽出し、下層から前記第二溶液を抽出することを特徴とする、請求項6に記載の方法。
【請求項8】
前記回収した混合液を第一液槽と第二液槽に送り込み、前記第一液槽では前記極性溶質の前駆体を追加的に供給して新たな第一溶液とし、前記第二液槽では前記非極性溶質を追加的に供給して新たな第二溶液とし、前記混合部で前記新たな第一溶液と前記新たな第二溶液を再び混合させることを特徴とする、請求項5に記載の方法。
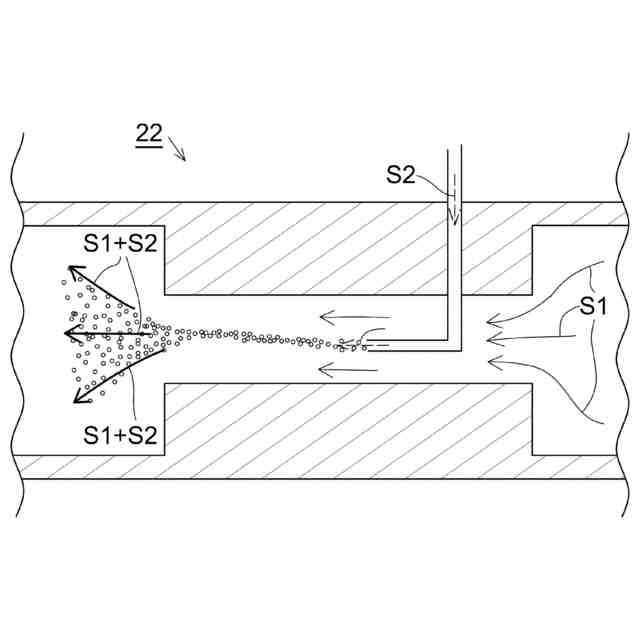
【請求項9】
前記混合部は、前記第一溶液と前記第二溶液の一方を導く狭流路に、他方を噴出させて混合することを特徴とする、請求項5~8に記載の方法。
【請求項10】
極性溶質と非極性溶質を化学反応させる装置であって、前記装置は、
前記極性溶質を主に含む第一溶液と前記非極性溶質を主に含む第二溶液とが混合された混合液に、光源からの光を照射する光照射部と、
前記極性溶質の前駆体を追加的に供給する前駆体供給部と、
前記非極性溶質の存在量及び前記極性溶質の存在量の少なくとも一方を推定するための、前記第一溶液からの反射光または透過光を検出する受光部またはその他のセンサによって検出する検出部と、
追加的に供給した前記前駆体を含む前記混合液を生成するにあたり、推定した前記非極性溶質の存在量及び前記極性溶質の存在量の少なくとも一方に基づいて、前記前駆体供給部が供給する前記前駆体の供給量を決定する演算部を有することを特徴とする、装置。
(【請求項11】以降は省略されています)
発明の詳細な説明
【技術分野】
【0001】
この発明は、化学反応方法及び反応装置に関する。
続きを表示(約 1,900 文字)
【背景技術】
【0002】
光を使用して極性溶質及び非極性溶質を化学反応させる方法が、様々な分野で知られている。
【0003】
例えば、特許文献1には、ダイオキシン類を溶解させた非極性溶質と、アルコール(極性溶質)を混合して撹拌しながら、低圧水銀ランプにより紫外線(UV250nm)を照射して、ダイオキシン類を分解する技術が記載されている。
【先行技術文献】
【特許文献】
【0004】
特開2008-068227号公報
【発明の概要】
【発明が解決しようとする課題】
【0005】
化学反応の効率性は、紫外線などの光の照射条件や、反応物の量又は反応場の環境など、様々な要因に影響を与える。本発明は、非極性溶質と極性溶質の混合液に対し、効率的に化学反応を行う方法、及び、非極性溶質と極性溶質を入れた混合液に対し効率的に化学反応させる反応装置を提供することを目的とする。
【課題を解決するための手段】
【0006】
本発明は、極性溶質と非極性溶質を化学反応させる方法であって、前記方法は、
前記極性溶質を主に含む第一溶液と前記非極性溶質を主に含む第二溶液とが混合された混合液に、光源からの光を照射するとともに、前記非極性溶質の存在量及び前記極性溶質の存在量の少なくとも一方を前記第一溶液で反射する光または前記第一溶液を透過する光、またはその他のセンサによって推定する手段に基づいて、前記極性溶質の前駆体を追加的に供給する。
【0007】
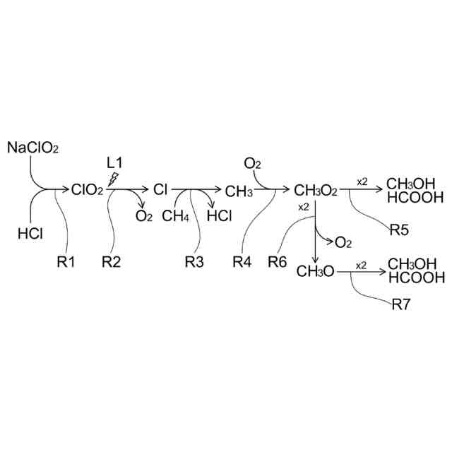
詳細は後述するが、前記方法における光源からの光は、極性溶質にエネルギーを与えて活性種に変える。以降、活性種をラジカルと言うことがある。極性溶質がClO
2
(二酸化塩素)である場合、光源からの光エネルギーが、塩素原子の活性種である塩素ラジカルを生成する。そして、生成された塩素ラジカルが、CH
4
(メタン)から1個の水素原子を引き抜く。1個の水素原子を引き抜かれたメタンは、CH
3
(メチルラジカル)である。メチルラジカルが酸素分子と結合して、CH
3
O
2
(メチルペルキシラジカル)を構成する。詳細は後述するが、メチルペルキシラジカルは、反応物であるメタンから最終的な生成物であるメタノール又はギ酸に至るまでの一連の化学反応における中間体であり、一連の化学反応の効率性を向上させるために、生成を促進するべき物質である。
【0008】
この化学反応は、混合液中の極性溶質である二酸化塩素を、HCl(塩化水素)に変換する反応である。つまり、化学反応が進むと、混合液中の二酸化塩素が減少していく。二酸化塩素が減少すると、メタンを分解するための塩素ラジカルが不足する。そこで、前記方法では、二酸化塩素の前駆体(以降、極性溶質の前駆体を、単に「前駆体」ということがある。)であるNaClO
2
(亜塩素酸ナトリウム)を追加的に供給する。亜塩素酸ナトリウムは、混合液中の塩化水素と結合し二酸化塩素を生成するため、光源からの光により塩素ラジカルを増やす。塩素ラジカルが増やされると、メタンから生成されるメチルペルキシラジカルの量が増えて、化学反応の効率性が向上する。
【0009】
上述したように、亜塩素酸ナトリウムは塩素ラジカルの原料である。メチルペルキシラジカルを増やすためには、多量の塩素ラジカルを必要とし、多量の塩素ラジカルを生成するためには、極性溶質である二酸化塩素、ひいては、二酸化塩素の前駆体である亜塩素酸ナトリウムを多量に必要とする。
【0010】
しかしながら、本発明者らは、前駆体(亜塩素酸ナトリウム)は、初期にまとめて供給するのではなく、複数回に分けて追加的に供給する方法が好ましいことを解き明かしてきた。本発明者らの鋭意研究により、前駆体を追加的に供給する量は、多ければ多いほどよいというものではなく、最適な供給量が存在することがわかった。そして、詳細は後述するが、最適な供給量は、非極性溶質の存在量、及び、極性溶質の存在量の少なくとも一方に基づいて決定するとよいことがわかった。そして、非極性溶質の存在量、及び、極性溶質の存在量の少なくとも一方を推定する手段は、前記第一溶液で反射する光または前記第一溶液を透過する光を検出するセンサ、又は、その他のセンサを備えている。これにより、化学反応を効率的にすることができる。
(【0011】以降は省略されています)
この特許をJ-PlatPat(特許庁公式サイト)で参照する
関連特許
国立大学法人大阪大学
細胞シート
3か月前
国立大学法人大阪大学
眼瞼痙攣緩和具
2か月前
国立大学法人大阪大学
原子力発電装置
4か月前
国立大学法人大阪大学
発光タンパク質
5か月前
国立大学法人大阪大学
内視鏡システム
3か月前
国立大学法人大阪大学
半月板の治療薬
16日前
国立大学法人大阪大学
ロボットハンド
25日前
国立大学法人大阪大学
漏洩情報抑制回路
2か月前
国立大学法人大阪大学
試料中の標的物質の検出
17日前
国立大学法人大阪大学
化学反応方法及び反応装置
9日前
トヨタ自動車株式会社
電池
3か月前
国立大学法人大阪大学
電気泳動装置および電気泳動法
1か月前
大和ハウス工業株式会社
反応装置
4か月前
国立大学法人大阪大学
コネクタ取付具およびコネクタ部材
5か月前
国立大学法人大阪大学
化合物の製造方法、及び金属多核錯体
24日前
川崎重工業株式会社
ゼオライト触媒
3日前
国立大学法人大阪大学
タンパク質間相互作用を可視化する方法
23日前
日本電信電話株式会社
量子鍵配送装置
5か月前
国立大学法人大阪大学
光発電システムの出力電力特性の最適化
5か月前
株式会社神戸製鋼所
ねじり疲労評価方法
4か月前
国立大学法人大阪大学
ナノダイヤモンドの製造方法および製造装置
3か月前
株式会社トクヤマ
ケトン誘導体の製造方法
2か月前
株式会社ジャパンディスプレイ
液晶光学素子
4か月前
セイコーグループ株式会社
生体電位計測装置
15日前
日本電信電話株式会社
ロボットVRシステム
5か月前
日本電信電話株式会社
ロボットVRシステム
5か月前
セイコーグループ株式会社
生体電位計測装置
15日前
日東紡績株式会社
二酸化炭素の吸収又は脱着剤
1か月前
日本製鉄株式会社
鉄鉱石の還元気化脱リン方法
5か月前
株式会社トクヤマ
グルコン酸誘導体の製造方法
5か月前
株式会社塚田メディカル・リサーチ
カテーテル
3か月前
日本製鉄株式会社
鉄鉱石の還元気化脱リン方法
5か月前
国立大学法人大阪大学
セミクラスレートハイドレートおよびその製造方法
3か月前
国立大学法人大阪大学
治具、システム、方法及びコンピュータプログラム
4か月前
国立大学法人大阪大学
トラッキング装置、トラッキング方法及びプログラム
2か月前
国立大学法人大阪大学
波長変換素子、波長変換素子の製造方法及び発光装置
5か月前
続きを見る
他の特許を見る