TOP
|
特許
|
意匠
|
商標
特許ウォッチ
Twitter
他の特許を見る
10個以上の画像は省略されています。
公開番号
2025139004
公報種別
公開特許公報(A)
公開日
2025-09-26
出願番号
2024037698
出願日
2024-03-12
発明の名称
サーバ装置、空調管理システム、警告方法、及び、プログラム
出願人
三菱電機株式会社
代理人
個人
,
個人
,
個人
,
個人
,
個人
,
個人
主分類
F24F
11/58 20180101AFI20250918BHJP(加熱;レンジ;換気)
要約
【課題】気象条件の変化に影響されない指標に基づいて、空気調和機を使用する利用者に注意を喚起することのできるサーバ装置を提供する。
【解決手段】
記憶部16は、空気調和機が設置された部屋の床面積を含む空調環境情報を記憶する。空気調和機情報取得部12は、空気調和機の動作状態、消費電力、及び、室内外の温度を含む空調情報を、空気調和機から取得する。熱損失係数算出部17は、空気調和機情報取得部12が取得した空調情報と記憶部16に記憶された空調環境情報とに基づいて、熱損失係数を示すQ値を算出する。通知部18は、熱損失係数算出部17が算出したQ値が、予め定められたしきい値(Qth)以上となった場合に、通信端末装置へ警告情報を通知する。
【選択図】図3
特許請求の範囲
【請求項1】
ユーザが使用する通信端末装置及び空気調和機とネットワークを介して通信可能に接続されたサーバ装置であって、
前記空気調和機が設置された部屋の床面積を含む空調環境情報を記憶する記憶手段と、
前記空気調和機の動作状態、消費電力、及び、室内外の温度を含む空調情報を、前記空気調和機から取得する空調情報取得手段と、
前記空調情報取得手段が取得した前記空調情報と前記記憶手段に記憶された前記空調環境情報とに基づいて、熱損失係数を示すQ値を算出するQ値算出手段と、
前記Q値算出手段が算出した前記Q値が、予め定められたしきい値以上となった場合に、前記通信端末装置へ警告情報を通知する通知手段と、
を備えるサーバ装置。
続きを表示(約 1,500 文字)
【請求項2】
前記通知手段は、前記警告情報を前記通信端末装置へ通知した後に、前記Q値算出手段が算出した前記Q値が前記しきい値未満となった場合に、警告解除情報を前記通信端末装置へ通知する、
請求項1に記載のサーバ装置。
【請求項3】
前記通信端末装置から送られた前記空調環境情報を、前記記憶手段に記憶させる設定手段を更に備え、
前記設定手段は、前記通信端末装置から送られた前記空気調和機が設置された部屋の名称及び前記床面積の設定値を含む設定内容に従って、前記空調環境情報を前記記憶手段に記憶させる、
請求項1又は2に記載のサーバ装置。
【請求項4】
前記空調情報取得手段は、前記空調情報を前記空気調和機から定期的に繰り返し取得する、
請求項1又は2に記載のサーバ装置。
【請求項5】
少なくとも前記通知手段を制御する制御手段を更に備え、
前記記憶手段は、前記Q値算出手段が算出した前記Q値を蓄積して記憶し、
前記制御手段は、前記通信端末装置からの時刻を指定した要求に応じて、該当する前記Q値を前記記憶手段から読み出し、読み出した前記Q値を含む表示情報を、前記通知手段を制御して前記通信端末装置へ通知する、
請求項1又は2に記載のサーバ装置。
【請求項6】
少なくとも前記通知手段を制御する制御手段を更に備え、
前記記憶手段は、前記Q値算出手段が算出した前記Q値を蓄積して記憶し、
前記制御手段は、前記通信端末装置からの期間を指定したグラフの要求に応じて、指定された前記期間に対応する前記Q値を前記記憶手段からそれぞれ読み出し、読み出した前記Q値をグラフで表示した表示情報を、前記通知手段を制御して前記通信端末装置へ通知する、
請求項1又は2に記載のサーバ装置。
【請求項7】
少なくとも前記通知手段を制御する制御手段を更に備え、
前記記憶手段は、前記Q値算出手段が算出した前記Q値を蓄積して記憶し、
前記制御手段は、前記通信端末装置からの期間を指定した最大Q値の要求に応じて、指定された前記期間に対応する前記Q値を前記記憶手段からそれぞれ読み出し、読み出した前記Q値の内で最大の値となる前記最大Q値を含む表示情報を、前記通知手段を制御して前記通信端末装置へ通知する、
請求項1又は2に記載のサーバ装置。
【請求項8】
前記制御手段は、前記最大Q値を通知した前記通信端末装置からの設定要求に応じて、前記最大Q値を前記しきい値に設定する、
請求項7に記載のサーバ装置。
【請求項9】
前記空調情報取得手段は、複数の住宅から前記空調情報をそれぞれ取得し、
前記Q値算出手段は、前記複数の住宅に対応して前記Q値をそれぞれ算出した後に、住宅種別に応じて集計した前記Q値の平均値となる住宅種別平均Q値を更に算出し、
前記通知手段は、前記Q値算出手段が算出した前記住宅種別平均Q値を含む表示情報を前記通知手段を制御して前記通信端末装置へ通知する、
請求項1又は2に記載のサーバ装置。
【請求項10】
前記ネットワークを介して接続された気象情報サーバから気象情報を取得する気象情報取得手段と、
前記気象情報取得手段が取得した前記気象情報に基づいて、前記しきい値を補正する補正手段と、を更に備える、
請求項1又は2に記載のサーバ装置。
(【請求項11】以降は省略されています)
発明の詳細な説明
【技術分野】
【0001】
本開示は、サーバ装置、空調管理システム、警告方法、及び、プログラムに関する。
続きを表示(約 4,300 文字)
【背景技術】
【0002】
近年、空気調和機に関する情報を外部のサーバ装置にて管理できる空調管理システムが普及している。例えば、宅内の空気調和機をインターネットを介して外部のサーバ装置と接続した空気管理システムでは、サーバ装置が、空気調和機から消費電力の情報を収集して自身のデータベースに保管することができる。
このような空調管理システムの技術の一例として、特許文献1には、空気調和機の電気料金について注意を促す管理システムが開示されている。この管理システムでは、空気調和機の消費電力から積算電気代を算出し、算出した積算電気代が設定電気代に達する前に、お知らせ情報をユーザへ送信する。
また、特許文献2には、空気調和機について予測される消費電力をユーザに対して事前に通知する省エネルギー情報提供システムが開示されている。この省エネルギー情報提供システムでは、空気調和機を起動する前に、外気温度及び設定温度から空気調和機の消費電力を予測計算して通知することにより、ユーザに省エネルギーを促している。
【先行技術文献】
【特許文献】
【0003】
特許第4274095号公報
特許第5492670号公報
【発明の概要】
【発明が解決しようとする課題】
【0004】
上述した特許文献1,2のような空気調和機の消費電力又は電気代を通知する方法では、以下に述べるように、ユーザに対して省エネルギーに繋がる行動にインセンティブを与えないことがある。
そもそも、空気調和機の消費電力は、日々の気温、天候といった気象条件に応じて変化してしまうため、ユーザが何もしなくても、若しくは、ユーザが省エネルギーに繋がる行動を行っても、結果的に消費電力が増減してしまうことになる。例えば、ユーザが何もしなくても消費電力が減少することもあれば、逆に、ユーザが省エネルギーに繋がる行動を行っても消費電力が増加することもある。
このような体験によってユーザは、消費電力又は電気代が通知されも、省エネルギーに繋がる行動を行い難くなってしまう。
また、空気調和機の消費電力をユーザに対して事前に通知するようにしても、ユーザは、冷暖房が必要な状況で空気調和機の電源を入れるのが一般的であるため、消費電力の通知を契機に空気調和機の使用を控えることは起こり難い。そのため、このような消費電力の事前通知は、電力使用量削減に寄与しないと考えられる。
【0005】
本開示は、上記事情に鑑みてなされたものであり、気象条件の変化に影響されない指標に基づいて、空気調和機を使用するユーザに注意を喚起することのできるサーバ装置、空調管理処理システム、警告方法、及び、プログラムを提供することを目的とする。
【課題を解決するための手段】
【0006】
上記目的を達成するために、本開示に係るサーバ装置は、
ユーザが使用する通信端末装置及び空気調和機とネットワークを介して通信可能に接続されたサーバ装置であって、
前記空気調和機が設置された部屋の床面積を含む空調環境情報を記憶する記憶手段と、
前記空気調和機の動作状態、消費電力、及び、室内外の温度を含む空調情報を、前記空気調和機から取得する空調情報取得手段と、
前記空調情報取得手段が取得した前記空調情報と前記記憶手段に記憶された前記空調環境情報とに基づいて、熱損失係数を示すQ値を算出するQ値算出手段と、
前記Q値算出手段が算出した前記Q値が、予め定められたしきい値以上となった場合に、前記通信端末装置へ警告情報を通知する通知手段と、
を備える。
【発明の効果】
【0007】
本開示によれば、気象条件の変化に影響されない指標に基づいて、空気調和機を使用するユーザに注意を喚起することができる。
【図面の簡単な説明】
【0008】
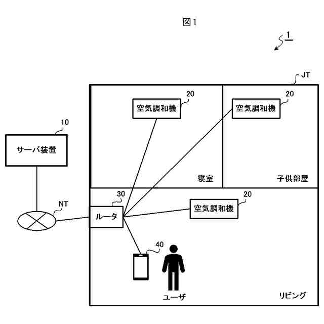
実施形態1に係る空調管理システムの全体構成の一例を示すブロック図
空気調和機の詳細を説明するための模式図
サーバ装置の構成を説明するためのブロック図
熱損失を説明するための模式図
通信端末装置の構成を説明するためのブロック図
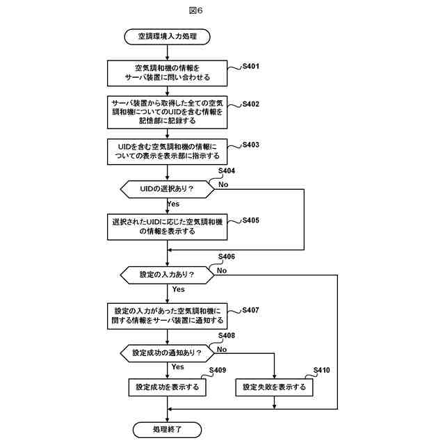
実施形態1に係る空調環境入力処理を説明するためのフローチャート
通信端末装置における設定画面の一例を示す模式図
通信端末装置における他の設定画面の一例を示す模式図
実施形態1に係る空調環境設定処理を説明するためのフローチャート
記憶部に記憶される空調環境情報の一例を示す模式図
空調環境の設定時におけるサーバ装置と通信端末装置と間での情報のやりとりを説明するための模式図
実施形態1に係る空調情報取得処理を説明するためのフローチャート
記憶部に記憶される空調情報の一例を示す模式図
空調情報の取得時におけるサーバ装置と空気調和機と間での情報のやりとりを説明するための模式図
実施形態1に係るモニタ処理を説明するためのフローチャート
記憶部に記憶される熱損失係数を更に含む空調情報の一例を示す模式図
記憶部に記憶される警告情報を更に含む空調情報(リビング)の一例を示す模式図
記憶部に記憶される警告情報を更に含む空調情報(子供部屋)の一例を示す模式図
記憶部に記憶される警告情報を更に含む空調情報(寝室)の一例を示す模式図
実施形態1に係る警告処理を説明するためのフローチャート
実施形態1に係る警告表示処理を説明するためのフローチャート
通信端末装置における警告画面の一例を示す模式図
実施形態1に係る照会要求処理を説明するためのフローチャート
サーバ装置から通信端末装置へ送られる照会情報の一例を示す模式図
通信端末装置における照会画面の一例を示す模式図
実施形態1に係る照会応答処理を説明するためのフローチャート
照会時における通信端末装置とサーバ装置との間での情報のやりとりを説明するための模式図
変形例1に係る空調管理システムを説明するためのブロック図
変形例2に係る照会画面の一例を示す模式図
変形例2に係る照会要求処理を説明するためのフローチャート
変形例2に係る照会応答処理を説明するためのフローチャート
変形例3に係るグラフ照会画面(月単位)の一例を示す模式図
変形例3に係るグラフ照会画面(年単位)の一例を示す模式図
変形例3に係るグラフ照会要求処理を説明するためのフローチャート
変形例3に係るグラフ照会応答処理を説明するためのフローチャート
変形例4に係るしきい値設定画面の一例を示す模式図
変形例4に係るしきい値設定要求処理を説明するためのフローチャート
変形例4に係るしきい値設定応答処理を説明するためのフローチャート
変形例5に係る空調管理システムを説明するためのブロック図
変形例5に係る他の空調管理システムを説明するためのブロック図
変形例5に係る他の空調管理システムを説明するためのブロック図
実施形態2に係る空調管理システムを説明するためのブロック図
記憶部に記憶される住宅情報の一例を示す模式図
実施形態2に係る住宅情報設定要求処理を説明するためのフローチャート
実施形態2に係る住宅情報設定画面の一例を示す模式図
実施形態2に係る住宅情報設定応答処理を説明するためのフローチャート
記憶部に記憶される空調環境情報を含む住宅情報の一例を示す模式図
空調情報を設定する1つの住宅の一例を示す模式図
実施形態2に係る空調情報設定処理を説明するためのフローチャート
記憶部に記憶される空調情報を更に含む住宅情報の一例を示す模式図
実施形態2に係る住宅別平均Q値算出処理を説明するためのフローチャート
実施形態2に係る照会応答処理を説明するためのフローチャート
通信端末装置における照会画面の一例を示す模式図
実施形態3に係る空調管理システムを説明するためのブロック図
実施形態3に係るサーバ装置の構成を説明するための模式図
実施形態3に係る空調情報取得処理を説明するためのフローチャート
記憶部に記憶される気象情報を含む空調情報の一例を示す模式図
実施形態3に係るモニタ処理を説明するためのフローチャート
Qthの補正処理(サブルーチン)を説明するためのフローチャート
【発明を実施するための形態】
【0009】
以下、本開示の実施形態について図面を参照しながら詳細に説明する。なお、図中同一または相当部分には同一符号を付す。また、以下に説明する実施形態は説明のためのものであり、本発明の範囲を制限するものではない。従って、当業者であればこれらの各要素又は全要素をこれと均等なものに置換した実施形態を採用することが可能であるが、これらの実施形態も本発明の範囲に含まれる。
【0010】
(実施形態1)
図1は、本開示の実施形態1に係る空調管理システム1の全体構成を示すブロック図である。一例として、空調管理システム1は、住宅JTとは異なる場所に設置されたサーバ装置10、並びに、住宅JT内に設置された複数の空気調和機20、ネットワークNTに接続するルータ30、及び、ユーザに使用される通信端末装置40を備える。
なお、サーバ装置10と、ルータ30とは、インターネットに代表されるネットワークNTを介して通信可能に接続されている。そして、そのルータ30を通じて、サーバ装置10と各空気調和機20とが通信可能に接続されており、同様に、ルータ30を通じて、サーバ装置10と通信端末装置40とが通信可能に接続されている。
なお、後述するように、通信端末装置40は、住宅JT外であっても使用可能となっている。その場合、図示せぬ基地局を通じて、サーバ装置10と通信端末装置40とが通信可能に接続される。
(【0011】以降は省略されています)
この特許をJ-PlatPat(特許庁公式サイト)で参照する
関連特許
三菱電機株式会社
計測器
1か月前
三菱電機株式会社
冷蔵庫
1か月前
三菱電機株式会社
回転電機
1か月前
三菱電機株式会社
照明装置
1か月前
三菱電機株式会社
電子機器
1か月前
三菱電機株式会社
照明装置
16日前
三菱電機株式会社
回転電機
1か月前
三菱電機株式会社
回転電機
16日前
三菱電機株式会社
照明装置
1か月前
三菱電機株式会社
照明装置
27日前
三菱電機株式会社
換気装置
1か月前
三菱電機株式会社
照明装置
1か月前
三菱電機株式会社
回転電機
1か月前
三菱電機株式会社
回転電機
6日前
三菱電機株式会社
照明器具
1か月前
三菱電機株式会社
照明装置
1か月前
三菱電機株式会社
照明器具
1か月前
三菱電機株式会社
半導体装置
1か月前
三菱電機株式会社
半導体装置
1か月前
三菱電機株式会社
回路遮断器
1か月前
三菱電機株式会社
電気掃除機
1か月前
三菱電機株式会社
半導体装置
10日前
三菱電機株式会社
半導体装置
1か月前
三菱電機株式会社
半導体装置
1か月前
三菱電機株式会社
加熱調理器
9日前
三菱電機株式会社
回路遮断器
1か月前
三菱電機株式会社
半導体装置
16日前
三菱電機株式会社
加熱調理器
1か月前
三菱電機株式会社
半導体装置
26日前
三菱電機株式会社
電力変換装置
16日前
三菱電機株式会社
ネジ取出機構
17日前
三菱電機株式会社
空気調和装置
17日前
三菱電機株式会社
電力変換装置
26日前
三菱電機株式会社
車両制御装置
18日前
三菱電機株式会社
回転電機装置
1か月前
三菱電機株式会社
梱包チューブ
1か月前
続きを見る
他の特許を見る