TOP
|
特許
|
意匠
|
商標
特許ウォッチ
Twitter
他の特許を見る
10個以上の画像は省略されています。
公開番号
2025139700
公報種別
公開特許公報(A)
公開日
2025-09-29
出願番号
2024038674
出願日
2024-03-13
発明の名称
コンピュータシステムおよびプログラム
出願人
株式会社バンダイナムコエンターテインメント
代理人
個人
,
個人
,
個人
主分類
G06T
19/00 20110101AFI20250919BHJP(計算;計数)
要約
【課題】観覧対象オブジェクトを観覧する観覧ユーザの操作に応じたオブジェクトの配置に関する新たな技術を提供すること。
【解決手段】サーバシステム1100は、仮想空間に配置された観覧対象オブジェクトの周辺の周辺空中圏に所与の感心オブジェクトを配置するための観覧ユーザの要求操作を受け付ける要求操作受付部235と、要求操作に応じて、周辺空中圏に感心オブジェクトを配置する制御を行う配置制御部239と、観覧対象オブジェクトを、周辺空中圏に配置された感心オブジェクトとともに表示する観覧画像を生成するための制御を行う観覧画像生成制御部243と、を備える。
【選択図】図11
特許請求の範囲
【請求項1】
仮想空間の設定情報に基づいて、当該仮想空間に配置された観覧対象オブジェクトの周辺の周辺空中圏を設定する周辺空中圏設定手段と、
前記周辺空中圏に所与の感心オブジェクトを配置するための観覧ユーザの要求操作を受け付ける要求操作受付手段と、
前記要求操作に応じて、前記周辺空中圏に前記感心オブジェクトを配置する制御を行う配置制御手段と、
前記観覧対象オブジェクトを、前記周辺空中圏に配置された前記感心オブジェクトとともに表示する観覧画像を生成するための制御を行う観覧画像生成制御手段と、
を備えるコンピュータシステム。
続きを表示(約 1,500 文字)
【請求項2】
仮想空間に配置された観覧対象オブジェクトに基づいて、前記観覧対象オブジェクトの周辺の周辺空中圏を設定する周辺空中圏設定手段と、
前記周辺空中圏に所与の感心オブジェクトを配置するための観覧ユーザの要求操作を受け付ける要求操作受付手段と、
前記要求操作に応じて、前記周辺空中圏に前記感心オブジェクトを配置する制御を行う配置制御手段と、
前記観覧対象オブジェクトを、前記周辺空中圏に配置された前記感心オブジェクトとともに表示する観覧画像を生成するための制御を行う観覧画像生成制御手段と、
を備えるコンピュータシステム。
【請求項3】
仮想空間の設定情報と当該仮想空間に配置された観覧対象オブジェクトとに基づいて、当該観覧対象オブジェクトの周辺の周辺空中圏を設定する周辺空中圏設定手段と、
前記周辺空中圏に所与の感心オブジェクトを配置するための観覧ユーザの要求操作を受け付ける要求操作受付手段と、
前記要求操作に応じて、前記周辺空中圏に前記感心オブジェクトを配置する制御を行う配置制御手段と、
前記観覧対象オブジェクトを、前記周辺空中圏に配置された前記感心オブジェクトとともに表示する観覧画像を生成するための制御を行う観覧画像生成制御手段と、
を備えるコンピュータシステム。
【請求項4】
前記周辺空中圏設定手段は、前記観覧対象オブジェクトの周辺の立体的な空間領域に前記周辺空中圏を設定する、
請求項1~3の何れか一項に記載のコンピュータシステム。
【請求項5】
前記周辺空中圏設定手段は、前記観覧画像を構成する所与の画像レイヤーを設定し、当該画像レイヤーにおける前記観覧対象オブジェクトの周辺の領域に前記周辺空中圏を設定する、
請求項1~3の何れか一項に記載のコンピュータシステム。
【請求項6】
前記配置制御手段は、既に配置済みの既存感心オブジェクトに加えて、新たな前記要求操作に応じて新規感心オブジェクトを配置する制御を行う、
請求項1~3の何れか一項に記載のコンピュータシステム。
【請求項7】
前記観覧画像生成制御手段は、
所与の仮想カメラから見た前記仮想空間の画像を前記観覧画像として生成することと、
前記観覧ユーザの操作に基づいて前記仮想カメラの位置および視線方向を制御することと、
を行い、
前記要求操作受付手段は、前記観覧画像を観覧中の前記観覧ユーザによる前記要求操作を受け付け、
前記配置制御手段は、前記要求操作がなされた際の前記仮想カメラの位置に基づいて前記感心オブジェクトの配置位置を決定する、
請求項1~3の何れか一項に記載のコンピュータシステム。
【請求項8】
前記配置制御手段は、前記感心オブジェクトを空間的に離散的に配置する制御を行う、
請求項1~3の何れか一項に記載のコンピュータシステム。
【請求項9】
前記配置制御手段は、既に配置済みの既存感心オブジェクトに基づいて、新たに配置する新規感心オブジェクトの配置位置を決定する、
請求項1~3の何れか一項に記載のコンピュータシステム。
【請求項10】
前記配置制御手段は、前記感心オブジェクトそれぞれの配置時間を制御することで時間的に離散的に配置する制御を行う、
請求項1~3の何れか一項に記載のコンピュータシステム。
(【請求項11】以降は省略されています)
発明の詳細な説明
【技術分野】
【0001】
本発明は、コンピュータシステムおよびプログラムに関する。
続きを表示(約 2,100 文字)
【背景技術】
【0002】
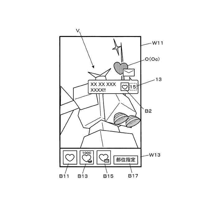
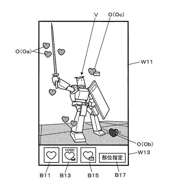
観覧対象のオブジェクトを含む仮想空間の様子を、観覧を希望するユーザ(観覧ユーザ)の観覧画面に表示して提供するにあたり、当該ユーザによるいわゆる「いいね」やコメント、ギフト(投げ銭とも呼ばれる)等の投稿操作を受け付ける仕組みが知られている。投稿操作を受け付けた場合には、投稿に応じたオブジェクトを仮想空間に出現させる等して、投稿内容が観覧画面に反映されるようになっている。
【0003】
例えば、特許文献1には、配信者のアバターが登場するコンテンツの配信にあたり、配信者に対して視聴者がギフトを提供する技術が開示されている。特許文献1の技術では、視聴者からギフトが提供された場合に当該ギフトのオブジェクトを仮想空間内に配置するとともに、ギフトが増えてきた場合には、アバターとギフトとの間に透明な物体を配置することで、ギフトの配置によってアバターが認識し難くなる事態を防止している。
【先行技術文献】
【特許文献】
【0004】
特開2021-117915号公報
【発明の概要】
【発明が解決しようとする課題】
【0005】
しかしながら、観覧対象オブジェクトを観覧する観覧ユーザの操作に応じてオブジェクトを配置する従来の技術は、当該オブジェクトを画面下部に並べたり、積み上げるように配置したりといった手法に過ぎなかった。そのため、当該オブジェクトの配置に関して工夫する余地があった。
【0006】
本願発明が解決しようとする課題は、観覧対象オブジェクトを観覧する観覧ユーザの操作に応じたオブジェクトの配置に関する新たな技術を提供すること、である。
【課題を解決するための手段】
【0007】
上記課題を解決するための第1の発明は、仮想空間の設定情報に基づいて、当該仮想空間に配置された観覧対象オブジェクトの周辺の周辺空中圏を設定する周辺空中圏設定手段(例えば、図11の周辺空中圏設定部231)と、前記周辺空中圏に所与の感心オブジェクトを配置するための観覧ユーザの要求操作を受け付ける要求操作受付手段(例えば、図11の要求操作受付部235)と、前記要求操作に応じて、前記周辺空中圏に前記感心オブジェクトを配置する制御を行う配置制御手段(例えば、図11の配置制御部239)と、前記観覧対象オブジェクトを、前記周辺空中圏に配置された前記感心オブジェクトとともに表示する観覧画像を生成するための制御を行う観覧画像生成制御手段(例えば、図11の観覧画像生成制御部243)と、を備えるコンピュータシステムである。
【0008】
第2の発明は、仮想空間に配置された観覧対象オブジェクトに基づいて、前記観覧対象オブジェクトの周辺の周辺空中圏を設定する周辺空中圏設定手段(例えば、図11の周辺空中圏設定部231)と、前記周辺空中圏に所与の感心オブジェクトを配置するための観覧ユーザの要求操作を受け付ける要求操作受付手段(例えば、図11の要求操作受付部235)と、前記要求操作に応じて、前記周辺空中圏に前記感心オブジェクトを配置する制御を行う配置制御手段(例えば、図11の配置制御部239)と、前記観覧対象オブジェクトを、前記周辺空中圏に配置された前記感心オブジェクトとともに表示する観覧画像を生成するための制御を行う観覧画像生成制御手段(例えば、図11の観覧画像生成制御部243)と、を備えるコンピュータシステムである。
【0009】
第3の発明は、仮想空間の設定情報と当該仮想空間に配置された観覧対象オブジェクトとに基づいて、当該観覧対象オブジェクトの周辺の周辺空中圏を設定する周辺空中圏設定手段(例えば、図11の周辺空中圏設定部231)と、前記周辺空中圏に所与の感心オブジェクトを配置するための観覧ユーザの要求操作を受け付ける要求操作受付手段(例えば、図11の要求操作受付部235)と、前記要求操作に応じて、前記周辺空中圏に前記感心オブジェクトを配置する制御を行う配置制御手段(例えば、図11の配置制御部239)と、前記観覧対象オブジェクトを、前記周辺空中圏に配置された前記感心オブジェクトとともに表示する観覧画像を生成するための制御を行う観覧画像生成制御手段(例えば、図11の観覧画像生成制御部243)と、を備えるコンピュータシステムである。
【0010】
第1~第3の発明によれば、観覧ユーザの要求操作に応じて、観覧対象オブジェクトの周辺に周辺空中圏を設定し、当該周辺空中圏に感心オブジェクトを配置することができる。これによれば、感心オブジェクトの配置に関する新たな技術を提供することができる。なお、例えば仮想空間に設定される仮想的な地面の上に観覧対象オブジェクトが配置される等、仮想的な地面が設定される場合には、空中のみならず、地面に感心オブジェクトを配置することもできる。好ましくは感心オブジェクトの配置位置は空中である。
(【0011】以降は省略されています)
この特許をJ-PlatPat(特許庁公式サイト)で参照する
関連特許
個人
裁判のAI化
2か月前
個人
工程設計支援装置
1か月前
個人
情報処理システム
2か月前
個人
地球保全システム
3日前
個人
フラワーコートA
1か月前
個人
検査システム
2か月前
個人
為替ポイント伊達夢貯
1か月前
個人
冷凍食品輸出支援構造
1か月前
個人
介護情報提供システム
2か月前
個人
設計支援システム
2か月前
個人
設計支援システム
2か月前
個人
携帯情報端末装置
1か月前
個人
表変換編集支援システム
23日前
株式会社サタケ
籾摺・調製設備
2か月前
個人
知財出願支援AIシステム
1か月前
キヤノン電子株式会社
携帯装置
2か月前
個人
結婚相手紹介支援システム
1か月前
個人
AIによる情報の売買の仲介
1か月前
株式会社カクシン
支援装置
2か月前
個人
パスワード管理支援システム
23日前
個人
行動時間管理システム
25日前
個人
備蓄品の管理方法
2か月前
株式会社キーエンス
受発注システム
2日前
株式会社キーエンス
受発注システム
2日前
株式会社キーエンス
受発注システム
2日前
個人
海外支援型農作物活用システム
15日前
個人
AIキャラクター制御システム
23日前
個人
食品レシピ生成システム
2日前
株式会社アジラ
進入判定装置
1か月前
個人
アンケート支援システム
2か月前
日本精機株式会社
施工管理システム
1か月前
個人
システム及びプログラム
16日前
個人
パスポートレス入出国システム
1か月前
個人
音声対話型帳票生成支援システム
23日前
個人
SaaS型勤務調整支援システム
23日前
個人
社会還元・施設向け供給支援構造
23日前
続きを見る
他の特許を見る