TOP
|
特許
|
意匠
|
商標
特許ウォッチ
Twitter
他の特許を見る
公開番号
2025139918
公報種別
公開特許公報(A)
公開日
2025-09-29
出願番号
2024039008
出願日
2024-03-13
発明の名称
モータステータ及びこれを備えるモータ
出願人
NTN株式会社
代理人
個人
,
個人
主分類
H02K
3/50 20060101AFI20250919BHJP(電力の発電,変換,配電)
要約
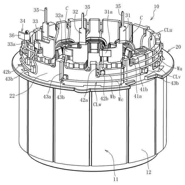
【課題】三相のコイル間での絶縁性が確保され、所望のトルクを安定的に出力可能なモータを低コストに提供可能とする。
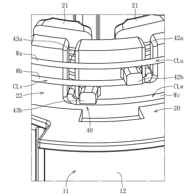
【解決手段】ステータコア11に設けられた複数のティース13のそれぞれに絶縁部材20を介してU相コイル、V相コイル又はW相コイルが形成されたモータステータ10において、絶縁部材20には、ステータコア11の軸方向一端側に配置された環状部22が一体的に設けられている。この環状部22に、計4つのU相コイルCU1~CU4が間隔を空けて形成された一本の連続したU相コイル線CLuの渡り線部Wa、計4つのV相コイルCV1~CV4が間隔を空けて形成された一本の連続したV相コイル線CLvの渡り線部Wb、及び計4つのW相コイルCW1~CW4が間隔を空けて形成された一本の連続したW相コイル線CLwの渡り線部Wcを軸方向に間隔を空けて保持した渡り線保持部40を設ける。
【選択図】図4
特許請求の範囲
【請求項1】
周方向に間隔を空けて設けられた複数のティースを有する円筒状のステータコアと、前記複数のティースのそれぞれに絶縁部材を介して形成された複数のU相コイル、V相コイル及びW相コイルとを備えたモータステータにおいて、
前記絶縁部材が、前記ステータコアの軸方向一端側に配置された環状部を一体に有し、
前記環状部に、前記複数のU相コイルが間隔を空けて形成された一本の連続したU相コイル線の渡り線部、前記複数のV相コイルが間隔を空けて形成された一本の連続したV相コイル線の渡り線部、及び前記複数のW相コイルが間隔開けて形成された一本の連続したW相コイル線の渡り線部を、軸方向に間隔を空けて保持した渡り線保持部が設けられていることを特徴とするモータステータ。
続きを表示(約 650 文字)
【請求項2】
前記渡り線保持部は、前記環状部の内周面及び外周面に開口した軸方向の切欠きと、前記環状部の径方向外側に突出した凸部とを含む請求項1に記載のモータステータ。
【請求項3】
各渡り線部の周方向における巻き方向を同じにした請求項1に記載のモータステータ。
【請求項4】
前記環状部に互いに非接触の状態で保持されたU相バスバー、V相バスバー、W相バスバー及び中性点バスバーをさらに備え、
前記U相コイル線の長手方向の一端を前記U相バスバーの端子に結線し、前記V相コイル線の長手方向の一端を前記V相バスバーの端子に結線し、前記W相コイル線の長手方向の一端を前記W相バスバーの端子に結線し、前記U相コイル線、前記V相コイル線及び前記W相コイルの長手方向の他端のそれぞれを前記中性点バスバーの端子に結線することにより、スター結線のモータ駆動回路を形成した請求項1に記載のモータステータ。
【請求項5】
ヒュージングにより、各コイル線の長手方向の一端及び他端が対応する端子に結線されている請求項4に記載のモータステータ。
【請求項6】
前記U相バスバー、前記V相バスバー、前記W相バスバー及び前記中性点バスバーが前記環状部にアウトサートされている請求項4に記載のモータステータ。
【請求項7】
請求項1~6の何れか一項に記載のモータステータと、このモータステータの内周に挿入されたモータロータとを備えるモータ。
発明の詳細な説明
【技術分野】
【0001】
本発明は、モータステータ及びこれを備えるモータに関し、特に、電動オイルポンプや電動パーキングブレーキなどといった車両(自動車)に搭載される電装機器の駆動源として好適に用い得る三相モータ用のモータステータに関する。
続きを表示(約 2,200 文字)
【背景技術】
【0002】
例えば下記の特許文献1には、筒状のステータコアに周方向に間隔を空けて設けられた複数のティースのそれぞれに、絶縁部材を介してU相コイル、V相コイル又はW相コイルが巻装されたモータステータが記載されている。上記のモータステータでは、ティースに巻装された各コイルからステータコアの外側に引き出され、同じ相のコイル同士を電気的に接続するコイル線(渡り線)の少なくとも一部が、他の相のコイル及び他の相の渡り線とは非接触の状態で絶縁部材とは別の樹脂成形体に保持されている。この樹脂成形体は、上記渡り線をインサート部品として樹脂で射出成形された射出成形品とされる。これにより、U相、V相及びW相の渡り線(コイル)間での絶縁性が確保されたモータステータを低コストに実現できる、としている。
【先行技術文献】
【特許文献】
【0003】
特開2018-19468号公報
【発明の概要】
【発明が解決しようとする課題】
【0004】
特許文献1のモータステータにおいては、樹脂成形体を成形するにあたり、各渡り線を他の相のコイル及び他の相の渡り線とは非接触の状態に保持(仮保持)しておく必要がある。この仮保持は、例えば、樹脂成形体の成形金型に設けた保持部に渡り線を保持させる(図1等)、あるいは、ステータコアの外周に配置した可動アームで渡り線を保持する(図4)、ことにより行われる。しかしながら、種々挙げられている仮保持の方法は、何れも多大な手間及び/又はコスト(設備投資)を要すると考えられるため、モータステータの生産効率の低下や高コスト化を招来することが懸念される。
【0005】
そこで、本発明は、モータステータに設けられる三相のコイル(の渡り線)間での絶縁性が確保され、所望のトルクを安定的に出力可能な信頼性に富むモータ(三相モータ)を低コストに提供可能とすることを目的とする。
【課題を解決するための手段】
【0006】
上記の目的を達成するために創案された本発明は、
周方向に間隔を空けて設けられた複数のティースを有する筒状のステータコアと、複数のティースのそれぞれに絶縁部材を介して巻装された複数のU相コイル、V相コイル及びW相コイルと、を備えたモータステータにおいて、
絶縁部材が、ステータコアの軸方向一端側に配置された環状部を一体に有し、
この環状部に、複数のU相コイルが間隔を空けて形成された一本の連続したU相コイル線の渡り線部、複数のV相コイルが間隔を空けて形成された一本の連続したV相コイル線の渡り線部、及び複数のW相コイルが間隔を空けて形成された一本の連続したW相コイル線の渡り線部を、軸方向に間隔を空けて保持した渡り線保持部が設けられていることを特徴とする。
【0007】
上記の構成を有するモータステータによれば、例えば、複数のU相コイル→複数のV相コイル→複数のW相コイルの順にコイルを形成することができ、各相のコイルの形成時にコイル線の渡り線部を渡り線保持部に保持させておけば、V相コイルの形成段階では先に形成されたU相コイル(のコイル線)との接触を、またW相コイルの形成段階では先に形成されたU相コイル及びV相コイル(のコイル線)との接触を確実に回避することができる。また、渡り線保持部は、絶縁部材に一体に設けられた環状部に形成されているので、巻線作業(各コイルの形成作業)は、コイル線の渡り線部を保持するための別途の可動アーム等を用いることなく低コストに実行することができる。
【0008】
渡り線保持部は、絶縁部材の環状部の内周面及び外周面に開口した軸方向の切欠き(軸方向に延びる切欠き)と、環状部の径方向外側に突出した凸部とを含むものとすることができる。このとき、軸方向の切欠きとして、U相コイル線の渡り線部を通過させる第1切欠きと、V相コイル線の渡り線部を通過させる第2切欠きと、W相コイル線の渡り線部を通過させる第3切欠きとを設け、上記3種類の切欠きの軸方向長さ(軸方向の終端位置)を相互に異ならせておけば、異なる相の渡り線部同士の接触を容易に回避することができる。
【0009】
各渡り線部の周方向における巻き方向は(全て)同じにすることができる。このようにすれば、各コイル線の渡り線部を軸方向に間隔を空けて配置し易くなるので、異なる相の渡り線部同士の接触を回避する上で有利である。
【0010】
本発明に係るモータステータは、絶縁部材の環状部に互いに非接触の状態で保持されたU相バスバー、V相バスバー、W相バスバー及び中性点バスバーをさらに備えたものとすることができる。このとき、U相コイル線の長手方向の一端をU相バスバーの端子に結線し、V相コイル線の長手方向の一端をV相バスバーの端子に結線し、W相コイル線の長手方向の一端をW相バスバーの端子に結線し、上記三相のコイル線の長手方向の他端のそれぞれを中性点バスバーの端子に結線することにより、スター結線のモータ駆動回路を形成することができる。
(【0011】以降は省略されています)
この特許をJ-PlatPat(特許庁公式サイト)で参照する
関連特許
NTN株式会社
基板
19日前
NTN株式会社
ハンド
14日前
NTN株式会社
玉軸受
20日前
NTN株式会社
玉軸受
6日前
NTN株式会社
軸受装置
6日前
NTN株式会社
作業装置
12日前
NTN株式会社
把持装置
14日前
NTN株式会社
密封装置
12日前
NTN株式会社
把持装置
14日前
NTN株式会社
軸受装置
26日前
NTN株式会社
軸受装置
6日前
NTN株式会社
軸受装置
6日前
NTN株式会社
焼結軸受
6日前
NTN株式会社
軸受装置
6日前
NTN株式会社
転がり軸受
14日前
NTN株式会社
転がり軸受
6日前
NTN株式会社
転がり軸受
7日前
NTN株式会社
荷積込装置
7日前
NTN株式会社
転がり軸受
20日前
NTN株式会社
回転伝達装置
7日前
NTN株式会社
回転伝達装置
7日前
NTN株式会社
基板取付構造
26日前
NTN株式会社
状態監視装置
13日前
NTN株式会社
回転伝達装置
12日前
NTN株式会社
等速自在継手
26日前
NTN株式会社
シール付軸受
12日前
NTN株式会社
保持器付きころ
16日前
NTN株式会社
モータユニット
16日前
NTN株式会社
車輪用軸受装置
12日前
NTN株式会社
円すいころ軸受
19日前
NTN株式会社
車輪用軸受装置
7日前
NTN株式会社
リンク作動装置
8日前
NTN株式会社
電動オイルポンプ
13日前
NTN株式会社
状態監視システム
13日前
NTN株式会社
プランマブロック
26日前
NTN株式会社
軸受装置及び間座
7日前
続きを見る
他の特許を見る