TOP
|
特許
|
意匠
|
商標
特許ウォッチ
Twitter
他の特許を見る
10個以上の画像は省略されています。
公開番号
2025139946
公報種別
公開特許公報(A)
公開日
2025-09-29
出願番号
2024039050
出願日
2024-03-13
発明の名称
システム及び処理装置
出願人
株式会社東芝
代理人
弁理士法人スズエ国際特許事務所
主分類
G01S
13/90 20060101AFI20250919BHJP(測定;試験)
要約
【課題】物品を精度良く検出できるシステム及び処理装置を提供すること。
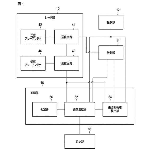
【解決手段】実施形態に係るシステムは、対象に電波を照射し、対象からの反射電波を受信するレーダと、対象を撮像し、対象画像を出力する撮像部と、レーダの位置を計測する計測部と、レーダの位置に基づき対象の中の電波が照射されていない第1領域を求め、第1領域を表す第1画像を生成する処理部と、対象画像と第1画像を表示する表示部と、を具備する。
【選択図】図1
特許請求の範囲
【請求項1】
対象に電波を照射し、前記対象からの反射電波を受信するレーダと、
前記対象を撮像し、対象画像情報を出力する撮像部と、
前記レーダの位置を計測する計測部と、
前記レーダの位置に基づき前記対象の中の電波が照射されていない第1領域を表す第1画像情報を出力する処理部と、
を具備するシステム。
続きを表示(約 850 文字)
【請求項2】
前記処理部は、前記レーダが前記電波を照射する時の前記レーダの位置に基づいて前記第1画像情報を求める、請求項1に記載のシステム。
【請求項3】
前記レーダは、等間隔配置アレーアンテナ、不等間隔配置アレーアンテナ又は最小冗長配置アレーアンテナからなる送信アンテナを具備する、請求項1に記載のシステム。
【請求項4】
前記レーダは、等間隔配置アレーアンテナ、不等間隔配置アレーアンテナ又は最小冗長配置アレーアンテナからなる受信アンテナを具備する、請求項1に記載のシステム。
【請求項5】
前記計測部は、ジャイロセンサの出力信号又は前記対象画像情報を用いて前記レーダの位置を計測する、請求項1に記載のシステム。
【請求項6】
前記対象画像情報に基づく対象画像と前記第1画像情報に基づく第1画像を表示する表示部をさらに具備する、請求項1に記載のシステム。
【請求項7】
前記システムの動作期間は、
前記レーダにより前記対象の任意の領域に前記電波が照射される1次走査期間と、
前記第1画像情報を出力した後に前記レーダにより前記第1領域に前記電波が照射される2次走査期間と、を含む、請求項6に記載のシステム。
【請求項8】
前記表示部の表示モードは、前記第1画像を表示しない第1表示モードと、前記第1画像を表示する第2表示モードを含む、請求項7に記載のシステム。
【請求項9】
前記表示部の表示モードは、前記1次走査期間、前記第1表示モードであり、前記1次走査期間の後、前記第1表示モードから前記第2表示モードに変わる、請求項8に記載のシステム。
【請求項10】
前記処理部は、少なくとも1つの領域からの反射電波を用いて前記対象に含まれる特定物品を表す物品画像情報も生成する、請求項6に記載のシステム。
(【請求項11】以降は省略されています)
発明の詳細な説明
【技術分野】
【0001】
本発明の実施形態は、システム及び処理装置に関する。
続きを表示(約 2,900 文字)
【背景技術】
【0002】
セキィリティ分野において、危険物を検査するシステムが利用されている。システムは、人物に電波を照射し、人物がカバンや服のポケット内に隠している危険物からの反射電波を受信して、危険物を画像化する。電波の照射及び反射電波を受信は、走査と称される。システムは、可搬型又はハンディ型のスキャナを備える。係員は、スキャナを人物に向けて電波を送受信させ、セキィリティチェックを行う。
【0003】
チェックの際のスキャナの取り扱いを容易にするためには、スキャナを小型軽量化する必要がある。しかし、スキャナを小型化すると、アンテナ開口長が小さくなり、危険物画像の解像度が低くなってしまう。
【0004】
スキャナの視野角に応じた領域を走査した後、スキャナをずらして少なくとも1つの隣接領域の走査を繰り返し、複数の領域の反射電波に基づいて画像生成すれば、アンテナ開口長を大きくすることはできる。しかし、係員が、重複しない、かつ隙間のない複数の領域を走査するように、スキャナをずらすことは不可能である。
【先行技術文献】
【特許文献】
【0005】
中国特許出願公開第202010153540号明細書
【非特許文献】
【0006】
D. Nister, O. Naroditsky and J. Bergen, "Visual odometry," Proceedings of the 2004 IEEE Computer Society Conference on Computer Vision and Pattern Recognition, 2004. CVPR 2004., Washington, DC, USA, 2004, pp. I-I, doi: 10.1109/CVPR.2004.1315094.
M. E. Yanik and M. Torlak, "Near-Field MIMO-SAR Millimeter-Wave Imaging With Sparsely Sampled Aperture Data," in IEEE Access, vol. 7, pp. 31801-31819, 2019.
Z. Yang, Y. R. Zheng, “Near-Filed 3-D Synthetic Aperture Radar Imaging via Compressed Sensing,” ICASSP, pp. 2513-2516, 2012.
N. Parikh and S. Boyd, “Proximal algorithms,”Foundations and Trends in Optimization, vol. 1, no. 3, pp. 123‐231, 2013
M. Wang et al., "RMIST-Net: Joint Range Migration and Sparse Reconstruction Network for 3-D mmW Imaging," in IEEE Transactions on Geoscience and Remote Sensing, vol. 60, pp. 1-17, 2022.
【発明の概要】
【発明が解決しようとする課題】
【0007】
本発明の目的は、物品を精度良く検出できるシステム及び処理装置を提供することである。
【課題を解決するための手段】
【0008】
実施形態に係るシステムは、レーダと、撮像部と、計測部と、処理部と、を具備する。レーダは、対象に電波を照射し、対象からの反射電波を受信する。撮像部は、対象を撮像し、対象画像情報を出力する。計測部は、レーダの位置を計測する。処理部は、レーダの位置に基づき対象の中の電波が照射されていない第1領域を表す第1画像情報を出力する。
【図面の簡単な説明】
【0009】
第1実施形態に係るシステムの一例を説明するための図。
第1実施形態に係るスキャナの外観の一例を説明するための図。
第1実施形態に係る送信アレーアンテナと受信アレーアンテナの一例を説明するための図。
第1実施形態に係る送信回路と受信回路の一例を説明するための図。
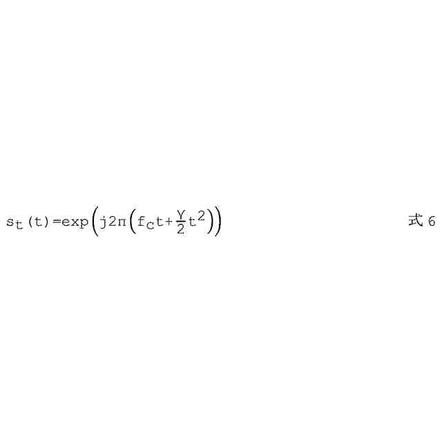
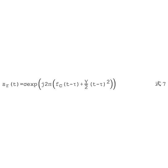
第1実施形態に係るチャープ信号の一例を説明するための図。
第1実施形態に係るレーダ部の動作の一例を説明するための図。
第1実施形態に係るシステムの動作の一例を説明するためのフローチャート。
第1実施形態に係るシステムの動作の一例を説明するためのフローチャート。
第1実施形態に係るシステムの動作の一例を説明するためのフローチャート。
第1実施形態に係るスキャナによる1次走査の一例を説明するための図。
第1実施形態に係る第1画像の一例を説明するための図。
第1実施形態に係る検査領域の指定の一例を説明するための図。
第1実施形態に係る仮想アレーアンテナの一例を説明するための図。
判定結果が安全の場合の第1実施形態に係る表示部による対象者画像と第1画像の重畳表示の一例を説明するための図。
判定結果が安全の場合の第1実施形態に係る表示部による奥行方向の検査を促す表示の一例を説明するための図。
判定結果が危険の場合の第1実施形態に係る表示部による判定結果の表示の一例を説明するための図。
判定結果が不明の場合の第1実施形態に係る表示部の表示の一例を説明するための図。
第2実施形態に係るスキャナによる1次走査の一例を説明するための図。
【発明を実施するための形態】
【0010】
以下、図面を参照して、実施形態を説明する。以下の説明は、実施形態の技術的思想を具体化するための装置や方法を例示するものであって、実施形態の技術的思想は、以下に説明する構成要素の構造、形状、配置、材質等に限定されるものではない。当業者が容易に想到し得る変形は、当然に開示の範囲に含まれる。説明をより明確にするため、図面において、各要素のサイズ、厚み、平面寸法又は形状等を実際の要素に対して変更して模式的に表す場合もある。複数の図面において、互いの寸法の関係や比率が異なる要素が含まれることもある。複数の図面において、対応する要素には同じ参照数字を付して重複する説明を省略する場合もある。いくつかの要素に複数の呼称を付す場合があるが、これら呼称の例はあくまで例示であり、これらの要素に他の呼称を付すことを否定するものではない。複数の呼称が付されていない要素についても、他の呼称を付すことを否定するものではない。「接続」は直接接続のみならず、他の要素を介した接続を含む場合もある。要素の数を複数であると明記しない場合、その要素は、単数の要素であってもよいし、複数の要素であってもよい。
(【0011】以降は省略されています)
この特許をJ-PlatPat(特許庁公式サイト)で参照する
関連特許
株式会社東芝
センサ
1か月前
株式会社東芝
センサ
12日前
株式会社東芝
センサ
12日前
株式会社東芝
固定子
1か月前
株式会社東芝
モータ
7日前
株式会社東芝
センサ
2か月前
株式会社東芝
回路素子
2か月前
株式会社東芝
ドア構造
1か月前
株式会社東芝
電子装置
6日前
株式会社東芝
金型構造
12日前
株式会社東芝
吸音装置
7日前
株式会社東芝
燃料電池
2か月前
株式会社東芝
半導体装置
9日前
株式会社東芝
半導体装置
9日前
株式会社東芝
主幹制御器
2か月前
株式会社東芝
半導体装置
19日前
株式会社東芝
半導体装置
9日前
株式会社東芝
X線厚み計
2か月前
株式会社東芝
半導体装置
9日前
株式会社東芝
半導体装置
21日前
株式会社東芝
半導体装置
9日前
株式会社東芝
半導体装置
2か月前
株式会社東芝
半導体装置
9日前
株式会社東芝
ラック装置
1か月前
株式会社東芝
電動送風機
1か月前
株式会社東芝
粒子加速器
6日前
株式会社東芝
半導体装置
9日前
株式会社東芝
ディスク装置
9日前
株式会社東芝
電力変換装置
2か月前
株式会社東芝
重量測定装置
5日前
株式会社東芝
ディスク装置
1か月前
株式会社東芝
熱電変換装置
7日前
株式会社東芝
電子デバイス
7日前
株式会社東芝
電子デバイス
7日前
株式会社東芝
電子デバイス
7日前
株式会社東芝
ディスク装置
9日前
続きを見る
他の特許を見る