TOP
|
特許
|
意匠
|
商標
特許ウォッチ
Twitter
他の特許を見る
10個以上の画像は省略されています。
公開番号
2025140240
公報種別
公開特許公報(A)
公開日
2025-09-29
出願番号
2024039497
出願日
2024-03-13
発明の名称
太陽電池及び太陽光発電システム
出願人
株式会社東芝
代理人
個人
,
個人
,
個人
主分類
H10F
19/40 20250101AFI20250919BHJP()
要約
【課題】 本発明が解決しようとする課題は、高効率な太陽電池を提供する。
【解決手段】 実施形態の太陽電池は、透過型のトップセルであって、ボトムセルと接続した場合、トップセルのボトムセル側に屈折率変化層又は屈折率変化領域を有する支持層と、屈折率変化層とボトムセルの間、又は、支持層とボトムセルの間に間隙層と、を有する。屈折率変化層のトップセル側の屈折率が高く、屈折率変化層のボトムセル側の屈折率が低く、屈折率変化領域のトップセル側の屈折率が高く、屈折率変化領域のボトムセル側の屈折率が低く、間隙層は、トップセルとボトムセルを電気的に絶縁することが可能である。
【選択図】図1
特許請求の範囲
【請求項1】
透過型のトップセルであって、
ボトムセルと接続した場合、
前記トップセルの前記ボトムセル側に屈折率変化層又は屈折率変化領域を有する支持層と、
前記屈折率変化層と前記ボトムセルの間、又は、前記支持層と前記ボトムセルの間に間隙層と、を有し、
前記屈折率変化層の前記トップセル側の屈折率が高く、前記屈折率変化層の前記ボトムセル側の屈折率が低く、
前記屈折率変化領域の前記トップセル側の屈折率が高く、前記屈折率変化領域の前記ボトムセル側の屈折率が低く、
前記間隙層は、前記トップセルと前記ボトムセルを電気的に絶縁することが可能な太陽電池。
続きを表示(約 1,400 文字)
【請求項2】
透過型のトップセルであって、
ボトムセルと接続した場合、
前記トップセルの前記ボトムセル側に屈折率変化層又は屈折率変化領域を有する支持層と、
前記屈折率変化層と前記ボトムセルの間、又は、前記支持層と前記ボトムセルの間に間隙層と、を有し、
前記屈折率変化層の前記トップセル側の屈折率が高く、前記屈折率変化層の前記ボトムセル側の屈折率が低く、
前記屈折率変化領域の前記トップセル側の屈折率が高く、前記屈折率変化領域の前記ボトムセル側の屈折率が低く、
前記屈折率変化層と前記ボトムセルは直接的に接しておらず、
前記支持層と前記ボトムセルは直接的に接していない太陽電池。
【請求項3】
透過型のトップセルと、
前記トップセルの出射面側に屈折率変化層又は屈折率変化領域を有する支持層と、を有し、
前記屈折率変化層の前記トップセル側の屈折率が高く、前記屈折率変化層の前記トップセル側とは反対側の屈折率が低く、
前記屈折率変化領域の前記トップセル側の屈折率が高く、前記屈折率変化領域の前記トップセル側とは反対側の屈折率が低い太陽電池。
【請求項4】
前記屈折率変化層は、電気的に絶縁性であり、
前記支持層は、電気的に絶縁性である請求項1ないし3のいずれか1項に記載の太陽電池。
【請求項5】
前記間隙層は、電気的に絶縁性である請求項1又は2に記載の太陽電池。
【請求項6】
前記屈折率変化層は、前記トップセルと直接的に接し、
前記屈折率変化層は、前記トップセルの出射面側に設けられていて、
前記支持層は、前記トップセルと直接的に接し、
前記支持層は、前記トップセルの出射面側に設けられている請求項1ないし3のいずれか1項に記載の太陽電池。
【請求項7】
前記屈折率変化層の前記トップセル側とは反対側の表面の屈折率は、1.0以上1.1以下であり、
前記屈折率変化領域の前記トップセル側とは反対側の表面の屈折率は、1.0以上1.1以下である請求項1ないし3のいずれか1項に記載の太陽電池。
【請求項8】
前記トップセルの前記屈折率変化層側の屈折率は、1.3以上2.2以下であり、
前記トップセルの前記支持層側の屈折率は、1.3以上2.2以下である請求項1ないし3のいずれか1項に記載の太陽電池。
【請求項9】
前記トップセルの前記屈折率変化層と直接的に接している部材の屈折率は、1.3以上2.2以下であり、
前記トップセルの前記支持層と直接的に接している部材の屈折率は、1.3以上2.2以下である請求項1ないし3のいずれか1項に記載の太陽電池。
【請求項10】
前記トップセルの前記屈折率変化層と接している部材の屈折率と前記屈折率変化層のトップセル側の屈折率の差の絶対値は、0.0以上1.0以下であり、
前記トップセルの前記支持層と接している部材の屈折率と前記支持層の前記トップセル側の前記屈折率変化領域を除く領域の屈折率の差の絶対値は、0.0以上1.0以下である請求項1ないし3のいずれか1項に記載の太陽電池。
(【請求項11】以降は省略されています)
発明の詳細な説明
【技術分野】
【0001】
本発明は、太陽電池及び太陽光発電システムに関する。
続きを表示(約 1,800 文字)
【背景技術】
【0002】
ワイドバンドギャップな光吸収層を有するトップセル(太陽電池)とナローバンクな光吸収層を有するボトムセル(太陽電池)を併用した、高効率な太陽電池が期待されている。
【先行技術文献】
【特許文献】
【0003】
特開2019-157176号公報
【発明の概要】
【発明が解決しようとする課題】
【0004】
本発明が解決しようとする課題は、高効率な太陽電池を提供する。
【課題を解決するための手段】
【0005】
実施形態の太陽電池は、透過型のトップセルであって、ボトムセルと接続した場合、トップセルのボトムセル側に屈折率変化層又は屈折率変化領域を有する支持層と、屈折率変化層とボトムセルの間、又は、支持層とボトムセルの間に間隙層と、を有する。屈折率変化層のトップセル側の屈折率が高く、屈折率変化層のボトムセル側の屈折率が低く、屈折率変化領域のトップセル側の屈折率が高く、屈折率変化領域のボトムセル側の屈折率が低く、間隙層は、トップセルとボトムセルを電気的に絶縁することが可能である。
【図面の簡単な説明】
【0006】
図1は、実施形態の太陽電池の模式図。
図2は、実施形態の太陽電池の模式図。
図3は、トップセルの発電有効領域と保持部の位置関係を示した模式図。
図4は、ボトムセルの発電有効領域と保持部の位置関係を示した模式図。
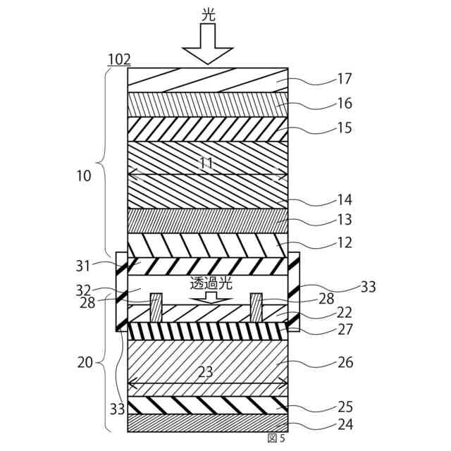
図5は、実施形態の太陽電池の模式図。
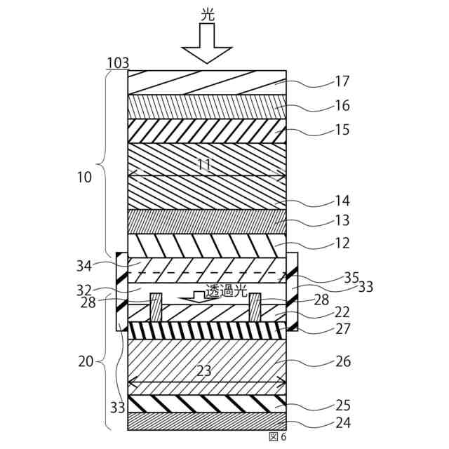
図6は、実施形態の太陽電池の模式図。
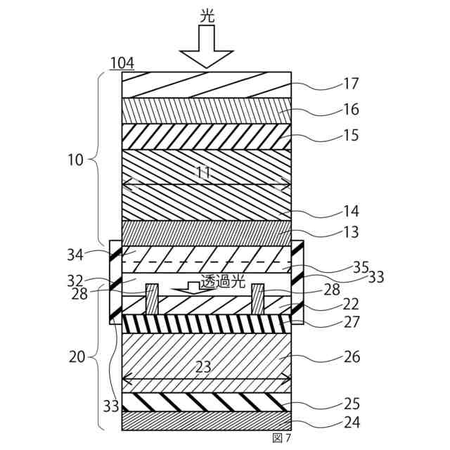
図7は、実施形態の太陽電池の模式図。
図8は、実施形態の太陽電池の模式図。
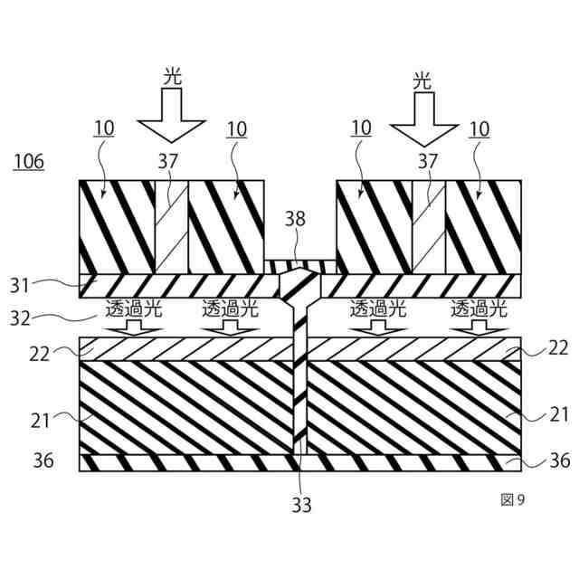
図9は、実施形態の太陽電池の模式図。
図10は、実施形態の太陽電池の模式図。
図11は、実施形態の太陽電池の模式図。
図12は、実施形態の太陽光発電システムの構成図。
図13は、実施形態の車両の模式図。
図14は、実施形態の飛翔体の模式図。
図15は、実施例に関する表。
図16は、実施例に関する表。
図17は、実施例に関する表。
図18は、実施例に関する表。
図19は、実施例に関する表。
図20は、実施例に関する表。
図21は、実施例に関する表。
図22は、実施例に関する表。
図23は、実施例に関する表。
図24は、実施例に関する表。
図25は、実施例に関する表。
図26は、実施例に関する表。
【発明を実施するための形態】
【0007】
以下、図面を参照しながら、本発明の好適な一実施形態について詳細に説明する。なお、特に記載が無い限り、25℃、1気圧(大気)における物性値を示している。また、平均は、算術平均値を表している。各濃度は、とくに説明がない場合は、対象の領域又は層の平均濃度である。各層において、特定の元素が含まれるとは、例えば、SIMS(Secondary Ion Mass Spectrometry)で存在が確認される元素であり、特定の元素が含まれないとは、例えば、SIMSで存在が確認できない元素(検出限界以下の元素)である。
【0008】
明細書中、「/」は、割り算記号を表している。ただし、「又は/及び」の「/」は、「又は」を意味している。明細書中「・」はかけ算記号を表している。明細書の数値の「.」は、小数点を表している。
【0009】
(第1実施形態)
第1実施形態は、太陽電池に関する。
【0010】
実施形態の太陽電池は、透過型のトップセルと、ボトムセルと、トップセルとボトムセルの間に屈折率変化層又は屈折率変化領域を有する支持層と、屈折率変化層とボトムセルの間、又は、支持層とボトムセルの間に間隙層と、を有する。屈折率変化層のトップセル側の屈折率が高く、屈折率変化層のボトムセル側の屈折率が低く、屈折率変化領域のトップセル側の屈折率が高く、屈折率変化領域のボトムセル側の屈折率が低く、間隙層は、トップセルとボトムセルを電気的に絶縁する。
(【0011】以降は省略されています)
この特許をJ-PlatPat(特許庁公式サイト)で参照する
関連特許
株式会社東芝
センサ
6日前
株式会社東芝
センサ
6日前
株式会社東芝
センサ
1か月前
株式会社東芝
モータ
1日前
株式会社東芝
固定子
1か月前
株式会社東芝
センサ
1か月前
株式会社東芝
搬送装置
3か月前
株式会社東芝
ドア構造
1か月前
株式会社東芝
遮断装置
3か月前
株式会社東芝
回路素子
1か月前
株式会社東芝
判定装置
3か月前
株式会社東芝
回転電機
3か月前
株式会社東芝
吸音装置
1日前
株式会社東芝
電子機器
3か月前
株式会社東芝
配線治具
2か月前
株式会社東芝
金型構造
6日前
株式会社東芝
電子装置
今日
株式会社東芝
燃料電池
2か月前
株式会社東芝
電磁流量計
2か月前
株式会社東芝
半導体装置
3日前
株式会社東芝
X線厚み計
2か月前
株式会社東芝
半導体装置
2か月前
株式会社東芝
半導体装置
3日前
株式会社東芝
半導体装置
3日前
株式会社東芝
半導体装置
13日前
株式会社東芝
半導体装置
3日前
株式会社東芝
半導体装置
3日前
株式会社東芝
半導体装置
3日前
株式会社東芝
半導体装置
3日前
株式会社東芝
主幹制御器
2か月前
株式会社東芝
粒子加速器
今日
株式会社東芝
半導体装置
3か月前
株式会社東芝
半導体装置
15日前
株式会社東芝
半導体装置
3か月前
株式会社東芝
ラック装置
1か月前
株式会社東芝
電動送風機
1か月前
続きを見る
他の特許を見る