TOP
|
特許
|
意匠
|
商標
特許ウォッチ
Twitter
他の特許を見る
公開番号
2025140357
公報種別
公開特許公報(A)
公開日
2025-09-29
出願番号
2024039705
出願日
2024-03-14
発明の名称
除菌評価システム
出願人
パナソニックIPマネジメント株式会社
代理人
個人
,
個人
主分類
C12M
1/34 20060101AFI20250919BHJP(生化学;ビール;酒精;ぶどう酒;酢;微生物学;酵素学;突然変異または遺伝子工学)
要約
【課題】菌またはウイルスを含んだ微粒子に対して、迅速な除菌評価が可能な除菌評価システムを提供する。
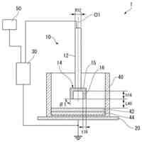
【解決手段】第1経路2と、微粒子サンプリング装置31と、を有する除菌評価システム1であって、第1経路2は、第1経路壁3と、第1経路壁3に囲まれた第1空間4と、を含み、 第1空間4は、供給空間5と、噴霧空間8と、作用空間9と、第1入口10と、第1出口11と、を含み、供給空間5は、除菌作用物質を供給する供給器12の供給口13と接続され、噴霧空間8は、菌またはウイルスを含む微粒子を噴霧する噴霧器14の噴霧口15と接続され、作用空間9は、除菌作用物質および微粒子が混合した混合空気が通過する空間であり、第1入口10から流入した空気は、供給空間5および噴霧空間8を通過することにより混合空気となり、混合空気は、作用空間9、第1出口11、装置入口31a、装置内部31b、および装置出口31cをこの順に通過する。
【選択図】図1
特許請求の範囲
【請求項1】
第1経路と、微粒子サンプリング装置と、を有する除菌評価システムであって、
前記第1経路は、第1経路壁と、前記第1経路壁に囲まれた第1空間と、を含み、
前記第1空間は、供給空間と、噴霧空間と、作用空間と、第1入口と、第1出口と、を含み、
前記供給空間は、菌またはウィルスを除去する作用を有する物質を供給する供給器の供給口と接続され、
前記噴霧空間は、菌またはウィルスを含む微粒子を噴霧する噴霧器の噴霧口と接続され、
前記作用空間は、前記物質および前記微粒子が混合した混合空気が通過する空間であり、
前記微粒子サンプリング装置は、装置入口と、装置内部と、装置出口と、を含み、前記微粒子をサンプリングし、
前記第1空間に連通する送風機の動作により、前記第1入口から流入した空気は、前記供給空間および前記噴霧空間を通過することにより前記混合空気となり、前記混合空気は、前記作用空間、前記第1出口、前記装置入口、前記装置内部、および前記装置出口をこの順に通過する除菌評価システム。
続きを表示(約 920 文字)
【請求項2】
前記供給空間は、前記噴霧空間よりも上流に位置し、
前記第1入口から流入した空気は、前記供給空間を通過した後に、前記噴霧空間を通過する請求項1に記載の除菌評価システム。
【請求項3】
前記第1空間は、前記物質の濃度を検出するガスセンサのセンサ入口と接続され、
前記センサ入口は、前記供給口よりも下流であって、前記噴霧口の上流に位置する請求項2に記載の除菌評価システム。
【請求項4】
前記第1空間は、加湿または除湿された空気を導入する調湿器の調湿口と接続され、
前記調湿口は、前記噴霧口の上流に位置する請求項2に記載の除菌評価システム。
【請求項5】
前記第1空間は、下流方向に進むにつれて開口面積が増加する拡散空間を含み、
前記拡散空間は、前記供給空間と前記噴霧空間との間に位置する請求項2に記載の除菌評価システム。
【請求項6】
前記第1空間の内部において、空気の流れを整える整流部を設け、
前記整流部は、前記噴霧口の上流に位置する請求項2に記載の除菌評価システム。
【請求項7】
前記混合空気が流れる方向において、前記作用空間の長さが可変である請求項2に記載の除菌評価システム。
【請求項8】
第2経路を有し、
前記第2経路は、第2経路壁と、前記第2経路壁に囲まれた第2空間と、を含み、
前記第2空間は、第2入口と、第2出口と、を含み、
前記第2入口は、前記装置出口の下流において、前記装置出口と接続される請求項1に記載の除菌評価システム。
【請求項9】
前記第2空間は、前記微粒子の数をカウントするパーティクルカウンタのカウンタ入口と接続される請求項8に記載の除菌評価システム。
【請求項10】
温度センサと、湿度センサと、を有し、
前記温度センサは、前記第2空間の温度を検出し、
前記湿度センサは、前記第2空間の湿度を検出する請求項8に記載の除菌評価システム。
(【請求項11】以降は省略されています)
発明の詳細な説明
【技術分野】
【0001】
本開示は、除菌評価システムに関する。
続きを表示(約 1,300 文字)
【背景技術】
【0002】
従来、菌またはウイルスを含んだ浮遊微粒子に対する除菌評価方法として、微粒子を閉空間の評価室内に噴霧し、菌またはウイルスを除去する作用を有する物質と任意の時間接触させた後、微粒子を捕集、検出する除菌評価システムが知られている。
【0003】
例えば、特許文献1または特許文献2には、評価室の床面を除いた全面に多数の空気供給孔を設け、空気供給孔から評価室内に空気が流入する環境評価装置が開示されている。
【先行技術文献】
【特許文献】
【0004】
特開2008-22764号公報
特開2008-22765号公報
【発明の概要】
【発明が解決しようとする課題】
【0005】
このような従来の除菌評価システムにおいては、菌またはウイルスを含んだ微粒子が噴霧される閉空間評価室の中に、微粒子を捕集する微粒子サンプリング装置が独立して設けられている構成となっていた。従って、評価室の体積分だけ、除菌作用物質および噴霧微粒子の量が必要であった。これでは、除菌作用物質および噴霧微粒子が評価室内に一様に拡散するまで長い時間を要するだけでなく、除菌作用物質と接触後の噴霧微粒子が評価可能な量になるまでにも長い時間を要するという課題を有していた。
【0006】
そこで本開示は、上記従来の課題から着想を得たものであり、菌またはウイルスを含んだ微粒子(浮遊微粒子)に対して、迅速な除菌評価が可能な除菌評価システムを提供することを目的とする。
【課題を解決するための手段】
【0007】
そして、この目的を達成するために、本開示の一態様に係る除菌評価システムは、第1経路と、微粒子サンプリング装置と、を有する除菌評価システムであって、第1経路は、第1経路壁と、第1経路壁に囲まれた第1空間と、を含み、第1空間は、供給空間と、噴霧空間と、作用空間と、第1入口と、第1出口と、を含み、供給空間は、菌またはウィルスを除去する作用を有する物質を供給する供給器の供給口と接続され、噴霧空間は、菌またはウィルスを含む微粒子を噴霧する噴霧器の噴霧口と接続され、作用空間は、物質および微粒子が混合した混合空気が通過する空間であり、微粒子サンプリング装置は、装置入口と、装置内部と、装置出口と、を含み、微粒子をサンプリングし、第1空間に連通する送風機の動作により、第1入口から流入した空気は、供給空間および噴霧空間を通過することにより混合空気となり、混合空気は、作用空間、第1出口、装置入口、装置内部、および装置出口をこの順に通過する。
【発明の効果】
【0008】
本開示によれば、菌またはウイルスを含んだ微粒子の除菌評価を迅速に行うことができる。
【図面の簡単な説明】
【0009】
本実施例1に係る除菌評価システムの構成を示す断面図
同除菌評価システムの一連の動作を示すフロー図
【発明を実施するための形態】
【0010】
以下、本開示の実施例について図面を参照しながら説明する。
(【0011】以降は省略されています)
この特許をJ-PlatPat(特許庁公式サイト)で参照する
関連特許
個人
抗遺伝子劣化装置
1か月前
個人
細胞内探査とその利用
1か月前
日本バイリーン株式会社
細胞用支持基材
3か月前
個人
細胞培養容器
2か月前
株式会社タクマ
バイオマス処理装置
1か月前
東洋紡株式会社
改変型RNAポリメラーゼ
2か月前
株式会社東洋新薬
経口組成物
1か月前
日油株式会社
蛋白質安定化剤
2か月前
テルモ株式会社
吐出デバイス
25日前
株式会社タクマ
バイオマス処理装置
1か月前
宝酒造株式会社
アルコール飲料
4日前
テルモ株式会社
容器蓋デバイス
25日前
東ソー株式会社
pH応答性マイクロキャリア
28日前
大陽日酸株式会社
培養装置
1か月前
大陽日酸株式会社
培養装置
1か月前
株式会社ファンケル
SEC12タンパク発現促進剤
2か月前
トヨタ自動車株式会社
バイオ燃料製造方法
22日前
株式会社豊田中央研究所
細胞励起装置
2日前
株式会社東海ヒット
灌流培養ユニット
3か月前
アサヒビール株式会社
柑橘風味アルコール飲料
2か月前
オンキヨー株式会社
浸漬酒の製造方法、及び、浸漬酒
3か月前
アサヒビール株式会社
柑橘風味アルコール飲料
2か月前
株式会社シャローム
スフィンゴミエリン製造方法
1か月前
テルモ株式会社
採取組織細切補助デバイス
25日前
株式会社今宮
瓶詰ビールの加熱殺菌方法および装置
1か月前
横河電機株式会社
藻類培養装置
14日前
花王株式会社
リパーゼ変異体
3か月前
住友金属鉱山株式会社
連続発酵方法及び連続発酵装置
28日前
公立大学法人北九州市立大学
微生物の検知方法
1か月前
株式会社ショウワ
キトサンオリゴマー分画方法
4日前
株式会社日本触媒
スフェロイドの輸送方法
今日
池田食研株式会社
抗疲労用組成物
3か月前
ZACROS株式会社
排気ユニット、及び培養装置
3か月前
個人
移植材料の評価方法
3か月前
積水化学工業株式会社
遺伝子導入方法
1日前
住友ベークライト株式会社
培養キット
28日前
続きを見る
他の特許を見る