TOP
|
特許
|
意匠
|
商標
特許ウォッチ
Twitter
他の特許を見る
公開番号
2025140426
公報種別
公開特許公報(A)
公開日
2025-09-29
出願番号
2024039828
出願日
2024-03-14
発明の名称
通信装置及び車両
出願人
トヨタ自動車株式会社
代理人
弁理士法人秀和特許事務所
主分類
G06F
8/65 20180101AFI20250919BHJP(計算;計数)
要約
【課題】本開示の目的は、車両において使用されるソフトウェアの更新をより速やかに広範囲で促進させることである。
【解決手段】車両に搭載される通信装置が、所定のソフトウェアの更新用データが記憶部に保持されているときに、車両との間で無線通信が可能となる所定の範囲内に存在する他車両に対して更新用データに関するデータ情報を送信する。そして、通信装置は、データ情報を受信した他車両から更新用データの送信要求を受信した場合に、更新用データを他車両に送信する。
【選択図】図3
特許請求の範囲
【請求項1】
車両に搭載される通信装置であって、
前記車両において使用される所定のソフトウェアの更新用データが記憶部に保持されているときに、前記車両との間で無線通信が可能となる所定の範囲内に存在する他車両に対して前記更新用データに関するデータ情報を送信することと、
前記データ情報を受信した前記他車両から前記更新用データの送信要求を受信した場合に、前記更新用データを前記他車両に送信することと、
を実行する制御部を備える、
通信装置。
続きを表示(約 630 文字)
【請求項2】
前記制御部が、
前記記憶部に前記更新用データが保持されていないときは前記通信装置をステーションモードで動作させることと、
前記更新用データが受信され前記記憶部に保持されると、前記通信装置の動作モードをステーションモードからホットスポットモードに切り替えることと、
をさらに実行し、
前記通信装置がホットスポットモードで動作しているときに、前記制御部が、前記所定の範囲内に存在する前記他車両に対して前記データ情報を送信する、
請求項1に記載の通信装置。
【請求項3】
前記制御部が、
前記データ情報を受信した前記他車両から、前記更新用データの送信要求と共に、前記他車両の車速及び進行方向を含む走行情報を受信し、
前記走行情報に含まれる前記他車両の車速及び進行方向が所定の条件を満たす場合に、前記更新用データを前記他車両に送信する、
請求項1に記載の通信装置。
【請求項4】
前記更新用データを配信する外部サーバと通信可能なエリアの外に前記車両及び前記他車両が存在しており、且つ前記更新用データが前記記憶部に保持されているときに、前記制御部が、前記所定の範囲内に存在する前記他車両に対して前記データ情報を送信する、
請求項1に記載の通信装置。
【請求項5】
請求項1から4のいずれか一項に記載の通信装置を搭載した車両。
発明の詳細な説明
【技術分野】
【0001】
本開示は、車両において使用されるソフトウェアの更新に関する。
続きを表示(約 1,600 文字)
【背景技術】
【0002】
近年、車両において使用されるソフトウェアをOTA(Over The Air)により更新するための技術が開発されてる。例えば、特許文献1に開示された技術では、車両が所定の場所に位置するときに特定のソフトウェア更新を実行することを、車両のOTAマスタにOTAセンタが要求する。また、特許文献2に開示された技術では、OTAによって取得された更新用ソフトウェアを用いて、エンジンの回転数が閾値未満であるときに車両の制御装置がソフトウェアを更新する。
【先行技術文献】
【特許文献】
【0003】
特開2022-180976号公報
特開2022-028371号公報
【発明の概要】
【発明が解決しようとする課題】
【0004】
本開示の目的は、車両において使用されるソフトウェアの更新をより速やかに広範囲で促進させることである。
【課題を解決するための手段】
【0005】
本開示の第1の態様に係る通信理装置は、
車両に搭載される通信装置であって、
前記車両において使用される所定のソフトウェアの更新用データが記憶部に保持されているときに、前記車両との間で無線通信が可能となる所定の範囲内に存在する他車両に対して前記更新用データに関するデータ情報を送信することと、
前記データ情報を受信した前記他車両から前記更新用データの送信要求を受信した場合に、前記更新用データを前記他車両に送信することと、
を実行する制御部を備える。
【0006】
本開示の第2の態様に係る車両は、本開示の第1の態様に係る通信理装置を搭載した車両である。
【発明の効果】
【0007】
本開示によれば、車両において使用されるソフトウェアの更新をより速やかに広範囲で促進させることができる。
【図面の簡単な説明】
【0008】
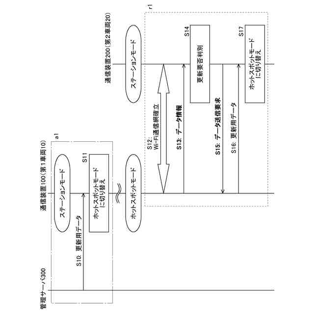
図1は、実施形態に係る更新用データの授受について説明するための図である。
図2は、通信装置の構成を概略的に示すブロック図である。
図3は、更新用データの授受に関する処理の流れを示すシーケンス図である。
図4は、データ情報のテーブル構成の一例を示す図である。
図5は、通信装置間での更新用データの授受に関し第1車両の通信装置において実行される処理の一部を示すフローチャートである。
図6は、走行情報のテーブル構成の一例を示す図である。
【発明を実施するための形態】
【0009】
車両において使用されるソフトウェアがOTAよって更新される場合、更新対象の車両に対して外部サーバから更新用データが配信されるのが一般的である。この場合、外部サーバから車両が更新用データを受信するためには、外部サーバとの通信が可能なエリア内に車両が存在する必要がある。つまり、外部サーバとの通信が可能なエリアの外に存在する車両ではソフトウェアを更新することができない。そこで、本開示は、車両において使用されるソフトウェアの更新をより速やかに広範囲で促進させるために、車車間通信によって更新用データを授受するための技術を提供する。
【0010】
本開示に係る通信装置は車両の搭載される装置である。通信装置は、車両外部の各種装置と通信する機能を有する。また、通信装置は記憶部及び制御部を備える。通信装置は、車両において使用される所定のソフトウェアの更新用データを受信すると、受信した更新用データを記憶部に記憶する。そして、車両においては、通信装置の記憶部に保持された更新用データによって所定のソフトウェアを更新する更新処理が実行される。
(【0011】以降は省略されています)
この特許をJ-PlatPat(特許庁公式サイト)で参照する
関連特許
個人
工程設計支援装置
1か月前
個人
フラワーコートA
1か月前
個人
地球保全システム
1日前
個人
為替ポイント伊達夢貯
28日前
個人
介護情報提供システム
2か月前
個人
冷凍食品輸出支援構造
28日前
個人
表変換編集支援システム
21日前
個人
携帯情報端末装置
1か月前
個人
知財出願支援AIシステム
28日前
個人
結婚相手紹介支援システム
1か月前
個人
AIによる情報の売買の仲介
1か月前
個人
パスワード管理支援システム
21日前
個人
行動時間管理システム
23日前
個人
海外支援型農作物活用システム
13日前
個人
AIキャラクター制御システム
21日前
株式会社アジラ
進入判定装置
1か月前
個人
アンケート支援システム
1か月前
株式会社キーエンス
受発注システム
今日
日本精機株式会社
施工管理システム
1か月前
株式会社キーエンス
受発注システム
今日
株式会社キーエンス
受発注システム
今日
個人
食品レシピ生成システム
今日
個人
システム及びプログラム
14日前
個人
パスポートレス入出国システム
1か月前
個人
冷凍加工連携型農場運用システム
28日前
個人
SaaS型勤務調整支援システム
21日前
個人
人格進化型対話応答制御システム
21日前
個人
社会還元・施設向け供給支援構造
21日前
キヤノン株式会社
表示システム
今日
個人
音声対話型帳票生成支援システム
21日前
個人
未来型家系図構築システム
13日前
サクサ株式会社
中継装置
1か月前
個人
ジェスチャーパッドのガイド部材
2か月前
個人
食事受注会計処理システム
1か月前
大同特殊鋼株式会社
疵判定方法
7日前
大阪瓦斯株式会社
住宅設備機器
1か月前
続きを見る
他の特許を見る