TOP
|
特許
|
意匠
|
商標
特許ウォッチ
Twitter
他の特許を見る
公開番号
2025140464
公報種別
公開特許公報(A)
公開日
2025-09-29
出願番号
2024039888
出願日
2024-03-14
発明の名称
冠水域推定装置
出願人
トヨタ自動車株式会社
,
株式会社スペースシフト
代理人
弁理士法人あーく事務所
主分類
G08G
1/00 20060101AFI20250919BHJP(信号)
要約
【課題】道路を走行する車両のユーザが道路における冠水情報を迅速かつ容易に入手可能とする。
【解決手段】冠水域推定装置は、走行データを検出するための検出部が搭載されている車両2と、前記検出部で検出される走行データを通信ネットワークを通じて取得して保存するデータ保存部5と、データ保存部5に保存している前記走行データに基づいて車両2の通行実績ならびにUターンの有無を検出するとともに、前記通行実績の検出結果、前記Uターンの検出結果、標高データならびに土地利用種別データを用いて冠水域および非冠水域を推定する情報処理部6と、車両2のユーザが所有するものでかつ情報処理部6に前記推定した結果を出力させるためのリクエストを情報処理部6に送信するとともに、情報処理部6から出力された前記推定結果を表示部に表示するユーザ端末3,4と、を備えている。
【選択図】図1
特許請求の範囲
【請求項1】
走行データを検出するための検出部が搭載されている車両と、
前記検出部で検出される走行データを通信ネットワークを通じて取得して保存するデータ保存部と、
前記データ保存部に保存している前記走行データに基づいて車両の通行実績ならびにUターンの有無を検出するとともに、前記通行実績の検出結果、前記Uターンの検出結果、標高データならびに土地利用種別データを用いて冠水域および非冠水域を推定する情報処理部と、
前記車両のユーザが所有するものでかつ前記情報処理部に前記推定した結果を出力させるためのリクエストを前記情報処理部に送信するとともに、前記情報処理部から出力された前記推定結果を表示部に表示するユーザ端末と、を備えていることを特徴とする冠水域推定装置。
発明の詳細な説明
【技術分野】
【0001】
本発明は、冠水域推定装置に関する。
続きを表示(約 1,300 文字)
【背景技術】
【0002】
例えば特許文献1には、浸水域の各地点の浸水深を迅速かつ容易に推定しうる浸水深推定装置及び方法、実際の浸水域の情報と、浸水シミュレーションとから、河川氾濫による対象地域の各地点の浸水深を推定するということが記載されている。
【先行技術文献】
【特許文献】
【0003】
特開2022-041049号公報
【発明の概要】
【発明が解決しようとする課題】
【0004】
上記特許文献1では、実際の浸水域のデータを使ってシミュレーションをしているため、災害時の時々刻々と変化する実際の冠水状況に対してタイムラグが発生してしまう。
【0005】
このような事情に鑑み、本発明は、道路を走行する車両のユーザが道路における冠水情報を迅速かつ容易に入手可能とする冠水域推定装置の提供を目的としている。
【課題を解決するための手段】
【0006】
本発明に係る冠水域推定装置は、走行データを検出するための検出部が搭載されている車両と、前記検出部で検出される走行データを通信ネットワークを通じて取得して保存するデータ保存部と、前記データ保存部に保存している前記走行データに基づいて車両の通行実績ならびにUターンの有無を検出するとともに、前記通行実績の検出結果、前記Uターンの検出結果、標高データならびに土地利用種別データを用いて冠水域および非冠水域を推定する情報処理部と、前記車両のユーザが所有するものでかつ前記情報処理部に前記推定した結果を出力させるためのリクエストを前記情報処理部に送信するとともに、前記情報処理部から出力された前記推定結果を表示部に表示するユーザ端末と、を備えていることを特徴としている。
【0007】
この構成によれば、前記車両のユーザが前記ユーザ端末を通じて道路の冠水情報を迅速かつ容易に入手することが可能になる。なお、前記冠水とは、公知のように、田畑または道路などが水に浸かった状態のことであると定義されている。
【発明の効果】
【0008】
本発明によれば、道路を走行する車両のユーザが道路における冠水情報を迅速かつ容易に入手可能とする冠水域推定装置を提供することができる。
【図面の簡単な説明】
【0009】
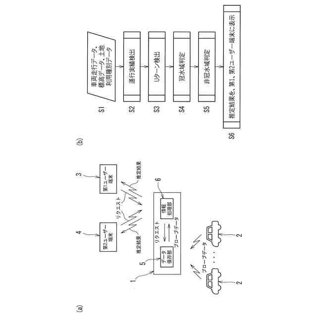
(a)は本発明に係る冠水域推定装置の一実施形態の概略構成を示す図、(b)は冠水域推定装置の処理手順を示す図である。
(a)は冠水域推定の処理手順を示す図、(b)は非冠水域推定の処理手順を示す図である。
冠水域推定処理および非冠水域推定処理の一例を説明するために用いるイメージ図である。
【発明を実施するための形態】
【0010】
図1から図3に本発明の一実施形態を示している。この実施形態の冠水域推定装置は、図1(a)に示すように、スマートセンタ1、複数の車両2と、第1ユーザ端末3と、第2ユーザ端末4と、を備えている。
(【0011】以降は省略されています)
この特許をJ-PlatPat(特許庁公式サイト)で参照する
関連特許
トヨタ自動車株式会社
車両
4日前
トヨタ自動車株式会社
電池
今日
トヨタ自動車株式会社
車両
4日前
トヨタ自動車株式会社
車両
8日前
トヨタ自動車株式会社
電動車
6日前
トヨタ自動車株式会社
ロータ
6日前
トヨタ自動車株式会社
回転子
4日前
トヨタ自動車株式会社
電動車
4日前
トヨタ自動車株式会社
電動車
4日前
トヨタ自動車株式会社
電動車
4日前
トヨタ自動車株式会社
電動車
今日
トヨタ自動車株式会社
電解液
4日前
トヨタ自動車株式会社
蓄電セル
6日前
トヨタ自動車株式会社
蓄電セル
6日前
トヨタ自動車株式会社
蓄電セル
4日前
トヨタ自動車株式会社
駆動装置
4日前
トヨタ自動車株式会社
切断装置
4日前
トヨタ自動車株式会社
蓄電装置
6日前
トヨタ自動車株式会社
電源装置
4日前
トヨタ自動車株式会社
育苗装置
5日前
トヨタ自動車株式会社
蓄電装置
4日前
トヨタ自動車株式会社
制御装置
4日前
トヨタ自動車株式会社
電動車両
4日前
トヨタ自動車株式会社
蓄電装置
5日前
トヨタ自動車株式会社
塗布装置
6日前
トヨタ自動車株式会社
蓄電装置
5日前
トヨタ自動車株式会社
ロボット
今日
トヨタ自動車株式会社
電極積層体
5日前
トヨタ自動車株式会社
電池パック
今日
トヨタ自動車株式会社
電気自動車
4日前
トヨタ自動車株式会社
電池パック
4日前
トヨタ自動車株式会社
電気自動車
6日前
トヨタ自動車株式会社
電池パック
今日
トヨタ自動車株式会社
積層構造体
4日前
トヨタ自動車株式会社
シフト機構
4日前
トヨタ自動車株式会社
駐車支援方法
4日前
続きを見る
他の特許を見る