TOP
|
特許
|
意匠
|
商標
特許ウォッチ
Twitter
他の特許を見る
公開番号
2025142485
公報種別
公開特許公報(A)
公開日
2025-10-01
出願番号
2024041857
出願日
2024-03-18
発明の名称
電気自動車
出願人
トヨタ自動車株式会社
代理人
弁理士法人 快友国際特許事務所
主分類
B60L
58/19 20190101AFI20250924BHJP(車両一般)
要約
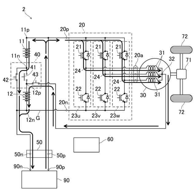
【課題】本明細書は、2個のバッテリを有する電気自動車において、第2バッテリの電圧が第1バッテリの電圧よりも低い場合であっても効率よくバッテリを充電することのできる電気自動車を提供する。
【解決手段】本明細書が開示する電気自動車は、第1/第2バッテリ、回路セレクタ、コントローラを備える。回路セレクタは、2個のバッテリの接続関係を切り替えるスイッチであって、第1バッテリの負極端を第2バッテリの正極端に接続する直列状態と、第1バッテリの負極端をグランドに接続し、第2バッテリの正極端を中性点に接続する並列状態の一方を選択する。コントローラは、モータを駆動する場合は直列状態となるように回路セレクタを制御する。コントローラは、外部電源でバッテリを充電する場合は並列状態となるように回路セレクタを制御するとともに、インバータの上SW素子をオンオフして外部電源の電圧を降圧して第2バッテリに供給する。
【選択図】図2
特許請求の範囲
【請求項1】
第1バッテリと、
負極端がグランドに接続されている第2バッテリと、
直流正極端と直流負極端と複数の交流端を備えており、前記直流正極端が前記第1バッテリの正極端に接続されており、前記直流負極端が前記グランドに接続されており、前記直流正極端と前記直流負極端との間に直列に接続されている上スイッチング素子と下スイッチング素子を交互にオンオフすることで前記交流端から交流を出力するインバータと、
複数のステータコイルを備えており、夫々の前記ステータコイルの一端が夫々の前記交流端に接続されており、複数の前記ステータコイルの他端が中性点に接続されているモータと、
外部電源が接続される充電正極端と充電負極端を備えており、前記充電正極端が前記直流正極端に接続されており、前記充電負極端が前記グランドに接続されている充電端子と、
前記第1バッテリと前記第2バッテリの接続関係を切り替える回路セレクタであって、前記第1バッテリの負極端を前記第2バッテリの正極端に接続する直列状態と、前記第1バッテリの負極端を前記グランドに接続するとともに前記第2バッテリの正極端を前記中性点に接続する並列状態の一方を選択する回路セレクタと、
前記第1バッテリと前記第2バッテリで前記モータを駆動する場合は前記直列状態となるように前記回路セレクタを制御し、前記充電端子に前記外部電源が接続された場合は前記並列状態となるように前記回路セレクタを制御するとともに、前記インバータの上スイッチング素子をオンオフして前記外部電源の電圧を降圧して前記第2バッテリに供給するコントローラと、
を備えている、電気自動車。
発明の詳細な説明
【技術分野】
【0001】
本明細書が開示する技術は、バッテリと電気モータを備える電気自動車に関する。特に、外部電源で車載のバッテリを充電することのできる電気自動車に関する。
続きを表示(約 1,700 文字)
【背景技術】
【0002】
電気モータのステータコイルと、インバータのスイッチング素子で構成される回路は、電圧コンバータとして利用できることが知られている。特許文献1に、ステータコイルの中性点に外部電源を接続し、ステータコイルとインバータのスイッチング素子を昇圧コンバータとして利用し、外部電源の電圧を昇圧してバッテリを充電する技術が開示されている。この技術を用いると、バッテリの電圧よりも低い電圧の外部電源でバッテリを充電することができる。以下では、説明の便宜上、電気モータとインバータを組み合わせた回路で外部電源の電圧を変圧してバッテリを充電することを「中性点充電」と称する。また、説明を簡単にするため、「電気モータ」を単に「モータ」と称する。
【0003】
また、特許文献2には、第1バッテリと第2バッテリを有する電気自動車が開示されている。モータを駆動する場合は第1バッテリと第2バッテリを直列に接続する。外部電源でバッテリを充電する場合は第1バッテリと第2バッテリを並列に接続する。この技術によっても、第1バッテリと第2バッテリの直列接続体の総電圧よりも低い電圧の外部電源でバッテリを充電することができる。
【先行技術文献】
【特許文献】
【0004】
特開2005-184947号公報
特開2019-118221号公報
【発明の概要】
【発明が解決しようとする課題】
【0005】
第2バッテリの電圧が第1バッテリの電圧よりも低い場合、特許文献1、2のいずれの技術によっても、2個のバッテリを効率よく充電することができない。本明細書は、第2バッテリの電圧が第1バッテリの電圧よりも低い場合であっても2個のバッテリを外部電源で効率よく充電することができる技術を提供する。
【課題を解決するための手段】
【0006】
本明細書が開示する電気自動車は、第1/第2バッテリ、インバータ、モータ、充電端子、回路セレクタ、コントローラを備える。
【0007】
第2バッテリの負極端はグランドに接続されている。インバータは、直流正極端と直流負極端と複数の交流端を備えている。直流正極端は第1バッテリの正極端に接続されている。直流負極端はグランドに接続されている。直流正極端と直流負極端との間には、直列に接続されている上スイッチング素子と下スイッチング素子が接続されている。インバータは、上スイッチング素子と下スイッチング素子を交互にオンオフすることで交流端から交流を出力する。モータは、複数のステータコイルを備えており、夫々のステータコイルの一端が夫々の交流端に接続されており、複数のステータコイルの他端が中性点に接続されている。
【0008】
充電端子は、外部電源が接続される充電正極端と充電負極端を備えており、充電正極端が直流正極端に接続されており、充電負極端がグランドに接続されている。回路セレクタは、第1バッテリと第2バッテリの接続状態を切り替えるスイッチであって、次の直列状態と並列状態の一方を選択することができる。直列状態:第1バッテリの負極端を第2バッテリの正極端に接続する。並列状態:第1バッテリの負極端をグランドに接続するとともに第2バッテリの正極端を中性点に接続する。
【0009】
コントローラは、第1バッテリと第2バッテリでモータを駆動する場合は直列状態となるように回路セレクタを制御する。このとき、第1バッテリと第2バッテリはインバータの直流正極端と直流負極端の間に直列に接続される。
【0010】
コントローラは、充電端子に外部電源が接続された場合は並列状態となるように回路セレクタを制御するとともに、インバータの上スイッチング素子をオンオフして外部電源の電圧を降圧して第2バッテリに供給する。なお、第1バッテリには外部電源の電圧がダイレクトに印加される。
(【0011】以降は省略されています)
この特許をJ-PlatPat(特許庁公式サイト)で参照する
関連特許
トヨタ自動車株式会社
電池
3日前
トヨタ自動車株式会社
車両
3日前
トヨタ自動車株式会社
装置
23日前
トヨタ自動車株式会社
車両
13日前
トヨタ自動車株式会社
車両
22日前
トヨタ自動車株式会社
装置
23日前
トヨタ自動車株式会社
サーバ
7日前
トヨタ自動車株式会社
電動車
13日前
トヨタ自動車株式会社
ロータ
1日前
トヨタ自動車株式会社
回転子
14日前
トヨタ自動車株式会社
モータ
14日前
トヨタ自動車株式会社
電動車
1日前
トヨタ自動車株式会社
蓄電装置
3日前
トヨタ自動車株式会社
検査装置
3日前
トヨタ自動車株式会社
給電装置
13日前
トヨタ自動車株式会社
電動車両
22日前
トヨタ自動車株式会社
冷却装置
13日前
トヨタ自動車株式会社
電動車両
22日前
トヨタ自動車株式会社
電動車両
22日前
トヨタ自動車株式会社
蓄電装置
3日前
トヨタ自動車株式会社
制御装置
3日前
トヨタ自動車株式会社
蓄電装置
13日前
トヨタ自動車株式会社
蓄電装置
15日前
トヨタ自動車株式会社
電動車両
13日前
トヨタ自動車株式会社
制御装置
3日前
トヨタ自動車株式会社
加熱装置
13日前
トヨタ自動車株式会社
蓄電装置
3日前
トヨタ自動車株式会社
電動車両
13日前
トヨタ自動車株式会社
蓄電装置
3日前
トヨタ自動車株式会社
水系電池
21日前
トヨタ自動車株式会社
制御装置
3日前
トヨタ自動車株式会社
蓄電装置
3日前
トヨタ自動車株式会社
二次電池
3日前
トヨタ自動車株式会社
内燃機関
13日前
トヨタ自動車株式会社
駆動装置
21日前
トヨタ自動車株式会社
制御装置
13日前
続きを見る
他の特許を見る