TOP
|
特許
|
意匠
|
商標
特許ウォッチ
Twitter
他の特許を見る
10個以上の画像は省略されています。
公開番号
2025140602
公報種別
公開特許公報(A)
公開日
2025-09-29
出願番号
2024040112
出願日
2024-03-14
発明の名称
電子機器、プログラム、及び制御方法
出願人
ソフトバンク株式会社
代理人
弁理士法人RYUKA国際特許事務所
主分類
G06F
3/01 20060101AFI20250919BHJP(計算;計数)
要約
【解決手段】電子機器であって、前記電子機器の操作者の手を被写体として含む撮像データを取得する取得部と、前記撮像データに含まれる前記操作者の手に対応する、複数のポイントを含むスケルトンデータを推測する推測部と、前記スケルトンデータに含まれる前記複数のポイントのうちの複数のカーソル操作用ポイントに基づいて、前記電子機器を操作するためのカーソル位置を決定する決定部とを備える電子機器を提供する。電子機器によって実行される制御方法であって、前記電子機器の操作者の手を被写体として含む撮像データを取得する取得段階と、前記撮像データに含まれる前記操作者の手に対応する、複数のポイントを含むスケルトンデータを推測する推測段階と、前記スケルトンデータに含まれる前記複数のポイントのうちの複数のカーソル操作用ポイントに基づいて、前記電子機器を操作するためのカーソル位置を決定する決定段階とを備える制御方法を提供する。
【選択図】図1
特許請求の範囲
【請求項1】
電子機器であって、
前記電子機器の操作者の手を被写体として含む撮像データを取得する取得部と、
前記撮像データに含まれる前記操作者の手に対応する、複数のポイントを含むスケルトンデータを推測する推測部と、
前記スケルトンデータに含まれる前記複数のポイントのうちの複数のカーソル操作用ポイントに基づいて、前記電子機器を操作するためのカーソル位置を決定する決定部と
を備える電子機器。
続きを表示(約 930 文字)
【請求項2】
前記決定部は、前記複数のカーソル操作用ポイントによって規定される球空間に基づいて、前記電子機器を操作するためのカーソル位置を決定する、請求項1に記載の電子機器。
【請求項3】
前記決定部は、前記球空間における前記複数のカーソル操作用ポイントによって構成されるベクトルの角度変化を、前記球空間を拡大した拡大球空間に反映することによって特定した移動量に基づいて、前記電子機器を操作するためのカーソル位置を決定する、請求項2に記載の電子機器。
【請求項4】
前記決定部は、前記撮像データに含まれる連続するフレームから抽出した前記複数のカーソル操作用ポイントのうち、前記スケルトンデータに含まれる少なくとも3つのノイズ除去用ポイントによって構成される領域に基づいて特定した前記複数のカーソル操作用ポイントに基づいて、前記電子機器を操作するためのカーソル位置を決定する、請求項1から3のいずれか一項に記載の電子機器。
【請求項5】
前記決定部は、前記撮像データに含まれる連続するフレームから抽出した前記複数のカーソル操作用ポイントから、前記スケルトンデータに含まれる少なくとも3つのノイズ除去用ポイントによって構成される領域に対応しないカーソル操作用ポイントをノイズとして除去した残りの前記複数のカーソル操作用ポイントに基づいて、前記電子機器を操作するためのカーソル位置を決定する、請求項4に記載の電子機器。
【請求項6】
コンピュータを、請求項1から3のいずれか一項に記載の電子機器として機能させるためのプログラム。
【請求項7】
電子機器によって実行される制御方法であって、
前記電子機器の操作者の手を被写体として含む撮像データを取得する取得段階と、
前記撮像データに含まれる前記操作者の手に対応する、複数のポイントを含むスケルトンデータを推測する推測段階と、
前記スケルトンデータに含まれる前記複数のポイントのうちの複数のカーソル操作用ポイントに基づいて、前記電子機器を操作するためのカーソル位置を決定する決定段階と
を備える制御方法。
発明の詳細な説明
【技術分野】
【0001】
本発明は、電子機器、プログラム、及び制御方法に関する。
続きを表示(約 2,100 文字)
【背景技術】
【0002】
特許文献1には、電子機器の操作者の手のスケルトンデータに基づいて、操作者の手の特定の部位の位置を算出し、当該位置に対応するようにカーソル位置を決定する技術が記載されている。
[先行技術文献]
[特許文献]
[特許文献1]特許第7213396号
【発明の概要】
【課題を解決するための手段】
【0003】
本発明の一実施態様によれば、電子機器が提供される。前記電子機器は、前記電子機器の操作者の手を被写体として含む撮像データを取得する取得部を備えてよい。前記電子機器は、前記撮像データに含まれる前記操作者の手に対応する、複数のポイントを含むスケルトンデータを推測する推測部を備えてよい。前記電子機器は、前記スケルトンデータに含まれる前記複数のポイントのうちの複数のカーソル操作用ポイントに基づいて、前記電子機器を操作するためのカーソル位置を決定する決定部を備えてよい。
【0004】
前記電子機器において、前記決定部は、前記複数のカーソル操作用ポイントによって規定される球空間に基づいて、前記電子機器を操作するためのカーソル位置を決定してよい。前記決定部は、前記球空間における前記複数のカーソル操作用ポイントによって構成されるベクトルの角度変化を、前記球空間を拡大した拡大球空間に反映することによって特定した移動量に基づいて、前記電子機器を操作するためのカーソル位置を決定してよい。
【0005】
前記いずれかの前記電子機器において、前記決定部は、前記撮像データに含まれる連続するフレームから抽出した前記複数のカーソル操作用ポイントのうち、前記スケルトンデータに含まれる少なくとも3つのノイズ除去用ポイントによって構成される領域に基づいて特定した前記複数のカーソル操作用ポイントに基づいて、前記電子機器を操作するためのカーソル位置を決定してよい。前記決定部は、前記撮像データに含まれる連続するフレームから抽出した前記複数のカーソル操作用ポイントから、前記スケルトンデータに含まれる少なくとも3つのノイズ除去用ポイントによって構成される領域に対応しないカーソル操作用ポイントをノイズとして除去した残りの前記複数のカーソル操作用ポイントに基づいて、前記電子機器を操作するためのカーソル位置を決定してよい。
【0006】
本発明の一実施態様によれば、コンピュータを、前記電子機器として機能させるためのプログラムが提供される。
【0007】
本発明の一実施態様によれば、電子機器によって実行される制御方法が提供される。前記制御方法は、前記電子機器の操作者の手を被写体として含む撮像データを取得する取得段階を備えてよい。前記制御方法は、前記撮像データに含まれる前記操作者の手に対応する、複数のポイントを含むスケルトンデータを推測する推測段階を備えてよい。前記制御方法は、前記スケルトンデータに含まれる前記複数のポイントのうちの複数のカーソル操作用ポイントに基づいて、前記電子機器を操作するためのカーソル位置を決定する決定段階を備えてよい。
【0008】
なお、上記の発明の概要は、本発明の必要な特徴の全てを列挙したものではない。また、これらの特徴群のサブコンビネーションもまた、発明となりうる。
【図面の簡単な説明】
【0009】
電子機器100の一例を概略的に示す。
電子機器100の機能構成の一例を概略的に示す。
操作者40の手20のスケルトンデータ30に含まれる複数のポイントの一例について説明するための説明図である。
決定部128によるカーソル位置の決定方法について説明するための説明図である。
手20のスケルトンデータ30に含まれる複数のポイントから選択された、少なくとも3つのノイズ除去用ポイントについて説明するための説明図である。
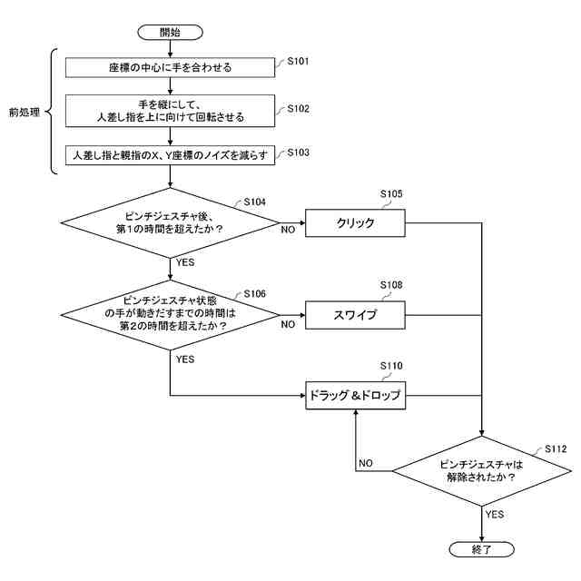
認識部130によるジェスチャ認識について説明するための説明図である。
認識部130によるジェスチャ認識について説明するための説明図である。
撮像部102と操作者40の手20との距離に対応して、ピンチ認識用閾値を変更することを説明するための説明図である。
認識部130によるジェスチャ認識の他の一例について説明するための説明図である。
認識部130によるジェスチャ認識におけるノイズ低減処理について説明するための説明図である。
電子機器100として機能するコンピュータ1200のハードウェア構成の一例を概略的に示す。
【発明を実施するための形態】
【0010】
以下、発明の実施の形態を通じて本発明を説明するが、以下の実施形態は特許請求の範囲にかかる発明を限定するものではない。また、実施形態の中で説明されている特徴の組み合わせの全てが発明の解決手段に必須であるとは限らない。
(【0011】以降は省略されています)
この特許をJ-PlatPat(特許庁公式サイト)で参照する
関連特許
ソフトバンク株式会社
システム、装置、及び方法
1日前
ソフトバンク株式会社
情報処理装置及び情報処理プログラム
1日前
ソフトバンク株式会社
情報処理装置及び情報処理プログラム
4日前
ソフトバンク株式会社
通信システム、水中光通信体、及び制御方法
1日前
ソフトバンク株式会社
量子コンピュータシステムおよびその制御方法
今日
ソフトバンク株式会社
画像処理装置、プログラム、及び画像処理方法
4日前
ソフトバンク株式会社
情報処理装置、情報処理方法及び情報処理プログラム
今日
ソフトバンク株式会社
管理基盤、プログラム、情報処理システム、及び管理方法
1日前
ソフトバンク株式会社
管理基盤、プログラム、情報処理システム、及び管理方法
1日前
ソフトバンク株式会社
情報処理装置、情報処理装置の制御方法、及び情報処理装置の制御プログラム
今日
ソフトバンク株式会社
情報処理装置、情報処理装置の制御方法、及び情報処理装置の制御プログラム
今日
理想科学工業株式会社
手話情報生成装置、方法、プログラムおよびシステム
今日
理想科学工業株式会社
手話動画情報収集装置、方法、プログラムおよびシステム
今日
理想科学工業株式会社
手話動画情報収集装置、方法、プログラムおよびシステム
今日
個人
裁判のAI化
2か月前
個人
フラワーコートA
1か月前
個人
情報処理システム
2か月前
個人
工程設計支援装置
1か月前
個人
地球保全システム
2日前
個人
介護情報提供システム
2か月前
個人
冷凍食品輸出支援構造
29日前
個人
為替ポイント伊達夢貯
29日前
個人
携帯情報端末装置
1か月前
個人
表変換編集支援システム
22日前
個人
設計支援システム
2か月前
個人
設計支援システム
2か月前
個人
知財出願支援AIシステム
29日前
個人
結婚相手紹介支援システム
1か月前
株式会社サタケ
籾摺・調製設備
2か月前
個人
AIによる情報の売買の仲介
1か月前
株式会社カクシン
支援装置
2か月前
個人
行動時間管理システム
24日前
個人
パスワード管理支援システム
22日前
個人
アンケート支援システム
1か月前
株式会社キーエンス
受発注システム
1日前
個人
パスポートレス入出国システム
1か月前
続きを見る
他の特許を見る