TOP
|
特許
|
意匠
|
商標
特許ウォッチ
Twitter
他の特許を見る
10個以上の画像は省略されています。
公開番号
2025143780
公報種別
公開特許公報(A)
公開日
2025-10-02
出願番号
2024043213
出願日
2024-03-19
発明の名称
情報処理装置及び情報処理プログラム
出願人
ソフトバンク株式会社
,
学校法人明星学苑
代理人
弁理士法人酒井国際特許事務所
主分類
G06F
16/732 20190101AFI20250925BHJP(計算;計数)
要約
【課題】利用者が検索対象をうまく言語化することができない場合であっても、利用者が所望する動画を利用者に対して提供可能とする。
【解決手段】本願に係る情報処理装置は、動画を検索するために利用者によって入力された検索テキストを受け付ける受付部と、テキストからテキストに対応する画像を生成する機械学習モデルである画像生成モデルに検索テキストを入力して、検索テキストに対応する検索画像を生成する生成部と、検索画像および検索テキストに基づいて、検索画像および検索テキストに対応する動画を検索する動画検索部と、を備える。
【選択図】図6
特許請求の範囲
【請求項1】
動画を検索するために利用者によって入力された検索テキストを受け付ける受付部と、
テキストから前記テキストに対応する画像を生成する機械学習モデルである画像生成モデルに前記検索テキストを入力して、前記検索テキストに対応する検索画像を生成する生成部と、
前記検索画像および前記検索テキストに基づいて、前記検索画像および前記検索テキストに対応する動画を検索する動画検索部と、
を備える情報処理装置。
続きを表示(約 1,000 文字)
【請求項2】
前記受付部は、
前記検索画像を編集するために前記利用者によって入力されたテキストである編集テキストを受け付け、
前記生成部は、
画像に対してテキストに応じた編集処理を行う機械学習モデルである画像編集モデルに前記検索画像および前記編集テキストを入力して、前記検索画像に対して前記編集テキストに応じた編集処理を行った編集画像を生成し、
前記動画検索部は、
前記編集画像および前記検索テキストに基づいて、前記編集画像および前記検索テキストに対応する前記動画を検索する、
請求項1に記載の情報処理装置。
【請求項3】
前記動画検索部は、
検索対象の動画を構成する複数のフレームの各々のフレーム特徴量と前記編集画像の画像特徴量との類似度に関する画像スコア、および、前記複数のフレームの各々のフレーム特徴量と前記検索テキストのテキスト特徴量との類似度に関するテキストスコアを算出し、前記画像スコアおよび前記テキストスコアに基づいて、前記動画を検索する、
請求項2に記載の情報処理装置。
【請求項4】
前記動画検索部は、
前記画像スコアおよび前記テキストスコアを加算したスコアである加算スコアに基づいて、前記動画を検索する、
請求項3に記載の情報処理装置。
【請求項5】
前記動画検索部は、
複数の前記編集画像の各々の前記画像特徴量と前記フレーム特徴量との類似度に関する前記画像スコアを算出する、
請求項3に記載の情報処理装置。
【請求項6】
前記生成部は、
バイナリマスクを示すマスク画像を前記画像編集モデルにさらに入力し、前記検索画像のうち前記マスク画像によってマスクされた領域を除く領域に対して前記編集テキストに応じた編集処理を行った前記編集画像を生成する、
請求項2に記載の情報処理装置。
【請求項7】
動画を検索するために利用者によって入力された検索テキストを受け付ける受付手順と、
テキストから前記テキストに対応する画像を生成する機械学習モデルである画像生成モデルに前記検索テキストを入力して、前記検索テキストに対応する検索画像を生成する生成手順と、
前記検索画像および前記検索テキストに基づいて、前記検索画像および前記検索テキストに対応する動画を検索する動画検索手順と、
をコンピュータに実行させる情報処理プログラム。
発明の詳細な説明
【技術分野】
【0001】
本発明は、情報処理装置及び情報処理プログラムに関する。
続きを表示(約 1,600 文字)
【背景技術】
【0002】
従来、利用者から検索キーワードを受け付けて、複数の動画の中から検索キーワードに応じた動画を検索する技術が知られている。例えば、クライアント端末からの検索キーワードを含む動画検索要求に応じて動画を検索する動画検索方法に関する技術が知られている。
【先行技術文献】
【特許文献】
【0003】
特開2004-128710号公報
【発明の概要】
【発明が解決しようとする課題】
【0004】
しかしながら、上記の従来技術では、利用者が適切な検索キーワードを思いつかないために、利用者が所望する動画を検索することができない場合がある。したがって、上記の従来技術では、利用者が検索対象をうまく言語化することができない場合であっても、利用者が所望する動画を利用者に対して提供可能とすることができるとは限らない。
【0005】
本願は、ことを目的とする。
【課題を解決するための手段】
【0006】
本願に係る情報処理装置は、動画を検索するために利用者によって入力された検索テキストを受け付ける受付部と、テキストから前記テキストに対応する画像を生成する機械学習モデルである画像生成モデルに前記検索テキストを入力して、前記検索テキストに対応する検索画像を生成する生成部と、前記検索画像および前記検索テキストに基づいて、前記検索画像および前記検索テキストに対応する動画を検索する動画検索部と、を備える。
【発明の効果】
【0007】
実施形態の一態様によれば、利用者が検索対象をうまく言語化することができない場合であっても、利用者が所望する動画を利用者に対して提供可能とすることができる。
【図面の簡単な説明】
【0008】
図1は、実施形態に係る情報処理システムの構成例を示す図である。
図2は、実施形態に係る情報処理装置の構成例を示す図である。
図3は、実施形態に係る情報処理の一例について説明するための図である。
図4は、実施形態に係る情報処理の一例について説明するための図である。
図5は、実施形態に係る情報処理の一例について説明するための図である。
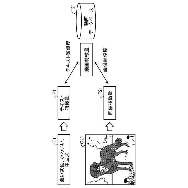
図6は、実施形態に係る情報処理装置による情報処理の手順を示すフローチャートである。
図7は、変形例に係る情報処理の一例について説明するための図である。
図8は、情報処理装置の機能を実現するコンピュータの一例を示すハードウェア構成図である。
【発明を実施するための形態】
【0009】
以下に、本願に係る情報処理装置及び情報処理プログラムを実施するための形態(以下、「実施形態」と呼ぶ)について図面を参照しつつ詳細に説明する。なお、この実施形態により本願に係る情報処理装置及び情報処理プログラムが限定されるものではない。また、以下の各実施形態において同一の部位には同一の符号を付し、重複する説明は省略される。
【0010】
(実施形態)
〔1.はじめに〕
従来、利用者は文字列(以下、テキスト)を入力して動画を検索している。なお、本実施形態に係る動画には、アニメーションまたは映像が含まれてよい。これに対し、利用者がテキストにより検索したい対象をうまく表現できない場合(つまり、検索対象をうまく言語化することができない場合)、利用者が入力したテキストにマッチする動画と、利用者が所望する動画が異なる場合がある。また、利用者は、検索対象をうまく言語化することができない場合であっても、検索したい対象を利用者の頭の中でイメージできている場合がある。
(【0011】以降は省略されています)
この特許をJ-PlatPat(特許庁公式サイト)で参照する
関連特許
ソフトバンク株式会社
システム、装置、及び方法
2日前
ソフトバンク株式会社
情報処理装置及び情報処理プログラム
2日前
ソフトバンク株式会社
情報処理装置及び情報処理プログラム
5日前
ソフトバンク株式会社
通信システム、水中光通信体、及び制御方法
2日前
ソフトバンク株式会社
量子コンピュータシステムおよびその制御方法
1日前
ソフトバンク株式会社
画像処理装置、プログラム、及び画像処理方法
5日前
ソフトバンク株式会社
情報処理装置、情報処理方法及び情報処理プログラム
1日前
ソフトバンク株式会社
管理基盤、プログラム、情報処理システム、及び管理方法
2日前
ソフトバンク株式会社
管理基盤、プログラム、情報処理システム、及び管理方法
2日前
ソフトバンク株式会社
情報処理装置、情報処理装置の制御方法、及び情報処理装置の制御プログラム
1日前
ソフトバンク株式会社
情報処理装置、情報処理装置の制御方法、及び情報処理装置の制御プログラム
1日前
理想科学工業株式会社
手話情報生成装置、方法、プログラムおよびシステム
1日前
理想科学工業株式会社
手話動画情報収集装置、方法、プログラムおよびシステム
1日前
理想科学工業株式会社
手話動画情報収集装置、方法、プログラムおよびシステム
1日前
個人
工程設計支援装置
1か月前
個人
地球保全システム
3日前
個人
フラワーコートA
1か月前
個人
為替ポイント伊達夢貯
1か月前
個人
冷凍食品輸出支援構造
1か月前
個人
介護情報提供システム
2か月前
個人
携帯情報端末装置
1か月前
個人
表変換編集支援システム
23日前
個人
知財出願支援AIシステム
1か月前
個人
結婚相手紹介支援システム
1か月前
個人
パスワード管理支援システム
23日前
個人
AIによる情報の売買の仲介
1か月前
個人
行動時間管理システム
25日前
株式会社アジラ
進入判定装置
1か月前
株式会社キーエンス
受発注システム
2日前
個人
AIキャラクター制御システム
23日前
個人
システム及びプログラム
16日前
個人
アンケート支援システム
2か月前
株式会社キーエンス
受発注システム
2日前
日本精機株式会社
施工管理システム
1か月前
株式会社キーエンス
受発注システム
2日前
個人
食品レシピ生成システム
2日前
続きを見る
他の特許を見る