TOP
|
特許
|
意匠
|
商標
特許ウォッチ
Twitter
他の特許を見る
公開番号
2025145023
公報種別
公開特許公報(A)
公開日
2025-10-03
出願番号
2024044992
出願日
2024-03-21
発明の名称
情報処理装置、情報処理装置の制御方法、及び情報処理装置の制御プログラム
出願人
ソフトバンク株式会社
代理人
弁理士法人白坂
主分類
G06Q
50/10 20120101AFI20250926BHJP(計算;計数)
要約
【課題】定型又は非定型、及び手書き又は活字によらず、書類に記載された文字を高精度で認識可能な情報処理装置等を提供すること。
【解決手段】情報処理装置は、活字文字及び手書き文字を含む書類の画像を取得する取得部、画像内の活字文字を認識する活字文字認識部、活字文字認識部による認識結果に基づいて、画像内のキーワードの位置を特定する特定部、キーワードの位置及び画像の特徴に基づいて、検出対象の手書き文字列を含む領域である目標領域を設定する設定部、、目標領域に含まれる複数の文字列を抽出する抽出部、複数の文字列の手書き文字を認識し、認識結果の信頼度を算出する手書き文字認識部、信頼度に基づいて、複数の文字列のうち、検出対象の手書き文字列を決定する決定部、決定された検出対象の手書き文字列について、手書き文字認識部による認識結果を出力する出力部を備える
【選択図】 図2
特許請求の範囲
【請求項1】
活字文字及び手書き文字を含む書類の画像を取得する取得部と、
前記画像内の活字文字を認識する活字文字認識部と、
前記活字文字認識部による認識結果に基づいて、前記画像内のキーワードの位置を特定する特定部と、
前記キーワードの位置及び前記画像の特徴に基づいて、検出対象の手書き文字列を含む領域である目標領域を設定する設定部と、
前記目標領域に含まれる複数の文字列を抽出する抽出部と、
前記複数の文字列の手書き文字を認識し、認識結果の信頼度を算出する手書き文字認識部と、
前記信頼度に基づいて、前記複数の文字列のうち、前記検出対象の手書き文字列を決定する決定部と、
前記決定部によって決定された前記検出対象の手書き文字列について、前記手書き文字認識部による認識結果を出力する出力部と、
を備える、情報処理装置。
続きを表示(約 1,600 文字)
【請求項2】
前記画像は、前記検出対象の手書き文字列を複数含み、
前記設定部は、前記キーワードの位置で特定された、一の検出対象の手書き文字列を含む一の目標領域の位置を、他の検出対象の手書き文字列を含む他の目標領域を設定する際のキーワードの位置として用いる、
請求項1に記載の情報処理装置。
【請求項3】
前記設定部は、前記画像の特徴として、前記画像に含まれる罫線に基づいて、前記目標領域を設定する、
請求項1に記載の情報処理装置。
【請求項4】
前記取得部は、前記書類の種類に関する情報をさらに取得し、
前記特定部は、前記書類の種類に応じたキーワードの位置を特定する、
請求項1に記載の情報処理装置。
【請求項5】
前記抽出部は、前記目標領域に含まれる文字または文字列を囲むバウンディングボックスを所定の条件に基づいて組み合わせて、前記複数の文字列として抽出する、
請求項1に記載の情報処理装置。
【請求項6】
前記設定部は、前記目標領域として、検出対象の活字文字列を含む領域を設定し、
前記活字文字認識部は、前記抽出部が抽出した前記目標領域に含まれる複数の文字列の活字文字を認識し、前記活字文字の認識結果の信頼度を算出し、
前記決定部は、前記活字文字の認識結果の信頼度に基づいて、複数の文字列のうち、検出対象の活字文字列を決定し、
前記出力部は、前記決定部によって決定された検出対象の活字文字列について、活字文字認識部による認識結果を出力する、
請求項1に記載の情報処理装置。
【請求項7】
前記書類は母子健康手帳である、前記請求項1に記載の情報処理装置。
【請求項8】
情報処理装置に、
活字文字及び手書き文字を含む書類の画像を取得する取得ステップと、
前記画像内の活字文字を認識する活字文字認識ステップと、
前記活字文字認識ステップによる認識結果に基づいて、前記画像内のキーワードの位置を特定する特定ステップと、
前記キーワードの位置及び前記画像の特徴に基づいて、検出対象の手書き文字列を含む領域である目標領域を設定する設定ステップと、
前記目標領域に含まれる複数の文字列を抽出する抽出ステップと、
前記複数の文字列の手書き文字を認識し、認識結果の信頼度を算出する手書き文字認識ステップと、
前記信頼度に基づいて、前記複数の文字列のうち、前記検出対象の手書き文字列を決定する決定ステップと、
前記決定ステップによって決定された前記検出対象の手書き文字列について、前記手書き文字認識ステップによる認識結果を出力する出力ステップと、
を実行させる、情報処理装置の制御方法。
【請求項9】
情報処理装置に、
活字文字及び手書き文字を含む書類の画像を取得する取得機能と、
前記画像内の活字文字を認識する活字文字認識機能と、
前記活字文字認識機能による認識結果に基づいて、前記画像内のキーワードの位置を特定する特定機能と、
前記キーワードの位置及び前記画像の特徴に基づいて、検出対象の手書き文字列を含む領域である目標領域を設定する設定機能と、
前記目標領域に含まれる複数の文字列を抽出する抽出機能と、
前記複数の文字列の手書き文字を認識し、認識結果の信頼度を算出する手書き文字認識機能と、
前記信頼度に基づいて、前記複数の文字列のうち、前記検出対象の手書き文字列を決定する決定機能と、
前記決定機能によって決定された前記検出対象の手書き文字列について、前記手書き文字認識機能による認識結果を出力する出力機能と、
を実現させる、情報処理装置の制御プログラム。
発明の詳細な説明
【技術分野】
【0001】
本発明は、情報処理装置、情報処理装置の制御方法、及び情報処理装置の制御プログラムに関する。
続きを表示(約 1,300 文字)
【背景技術】
【0002】
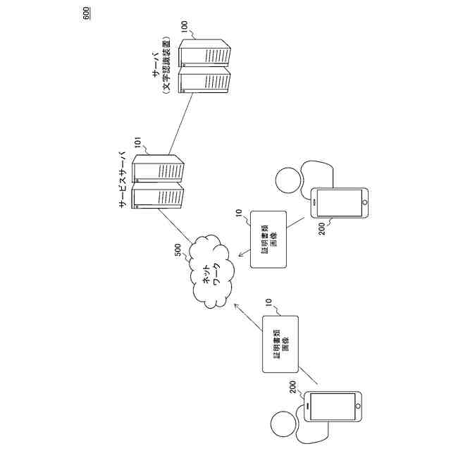
従来、OCR(Optical Character Recogination/Reader:光学的文字認識)により、免許証や保険証等の本人確認書類の各項目に記載された文字を、本人確認書類の画像から読み取ることが行われている(例えば、特許文献1)。近年では、人工知能技術の発展により、深層学習等のAI(Artificial Intelligence:人工知能)技術を活用して、文字認識精度やレイアウト解析精度の向上を図ったAI-OCRの利用も広がっている。
【先行技術文献】
【特許文献】
【0003】
特開2007-140703公報
【発明の概要】
【発明が解決しようとする課題】
【0004】
しかし、本人確認書類の中には、例えば母子健康手帳のようにフォーマットが自治体によって異なる非定型書類であるとともに、手書きで記入された項目と、活字で記入された項目とが混在するものがある。このような場合、AI-OCRを用いても、精度の高い読取りを行うことが難しかった。
【0005】
定型又は非定型、及び手書き又は活字によらず、書類に記載された文字を高精度で認識することが求められている。
【課題を解決するための手段】
【0006】
本発明の一実施形態に係る情報処理装置は、活字文字及び手書き文字を含む書類の画像を取得する取得部と、画像内の活字文字を認識する活字文字認識部と、活字文字認識部による認識結果に基づいて、画像内のキーワードの位置を特定する特定部と、キーワードの位置及び画像の特徴に基づいて、検出対象の手書き文字列を含む領域である目標領域を設定する設定部と、目標領域に含まれる複数の文字列を抽出する抽出部と、複数の文字列の手書き文字を認識し、認識結果の信頼度を算出する手書き文字認識部と、信頼度に基づいて、複数の文字列のうち、検出対象の手書き文字列を決定する決定部と、決定部によって決定された検出対象の手書き文字列について、手書き文字認識部による認識結果を出力する出力部とを備える。
【0007】
本発明の一実施形態に係る情報処理装置において、画像は、検出対象の手書き文字列を複数含み、設定部は、キーワードの位置で特定された、一の検出対象の手書き文字列を含む一の目標領域の位置を、他の検出対象の手書き文字列を含む他の目標領域を設定する際のキーワードの位置として用いてよい。
【0008】
本発明の一実施形態に係る情報処理装置において、設定部は、画像の特徴として、画像に含まれる罫線に基づいて、目標領域を設定してよい。
【0009】
本発明の一実施形態に係る情報処理装置において、取得部は、書類の種類に関する情報をさらに取得し、特定部は、書類の種類に応じたキーワードの位置を特定してよい。
【0010】
本発明の一実施形態に係る情報処理装置において、抽出部は、目標領域に含まれる文字または文字列を囲むバウンディングボックスを所定の条件に基づいて組み合わせて、複数の文字列として抽出してよい。
(【0011】以降は省略されています)
この特許をJ-PlatPat(特許庁公式サイト)で参照する
関連特許
ソフトバンク株式会社
量子コンピュータシステムおよびその制御方法
今日
ソフトバンク株式会社
情報処理装置、情報処理方法及び情報処理プログラム
今日
ソフトバンク株式会社
情報処理装置、情報処理装置の制御方法、及び情報処理装置の制御プログラム
今日
ソフトバンク株式会社
情報処理装置、情報処理装置の制御方法、及び情報処理装置の制御プログラム
今日
理想科学工業株式会社
手話情報生成装置、方法、プログラムおよびシステム
今日
理想科学工業株式会社
手話動画情報収集装置、方法、プログラムおよびシステム
今日
理想科学工業株式会社
手話動画情報収集装置、方法、プログラムおよびシステム
今日
個人
工程設計支援装置
1か月前
個人
地球保全システム
2日前
個人
フラワーコートA
1か月前
個人
介護情報提供システム
2か月前
個人
冷凍食品輸出支援構造
29日前
個人
為替ポイント伊達夢貯
29日前
個人
表変換編集支援システム
22日前
個人
携帯情報端末装置
1か月前
個人
設計支援システム
2か月前
個人
設計支援システム
2か月前
個人
結婚相手紹介支援システム
1か月前
個人
知財出願支援AIシステム
29日前
個人
行動時間管理システム
24日前
株式会社カクシン
支援装置
2か月前
個人
パスワード管理支援システム
22日前
個人
AIによる情報の売買の仲介
1か月前
個人
海外支援型農作物活用システム
14日前
株式会社キーエンス
受発注システム
1日前
株式会社キーエンス
受発注システム
1日前
個人
システム及びプログラム
15日前
株式会社キーエンス
受発注システム
1日前
個人
アンケート支援システム
1か月前
日本精機株式会社
施工管理システム
1か月前
株式会社アジラ
進入判定装置
1か月前
個人
食品レシピ生成システム
1日前
個人
AIキャラクター制御システム
22日前
個人
パスポートレス入出国システム
1か月前
大阪瓦斯株式会社
住宅設備機器
1か月前
個人
人格進化型対話応答制御システム
22日前
続きを見る
他の特許を見る