TOP
|
特許
|
意匠
|
商標
特許ウォッチ
Twitter
他の特許を見る
公開番号
2025140839
公報種別
公開特許公報(A)
公開日
2025-09-29
出願番号
2024040440
出願日
2024-03-14
発明の名称
画像処理装置、プログラム、及び画像処理方法
出願人
ソフトバンク株式会社
代理人
弁理士法人RYUKA国際特許事務所
主分類
G06T
1/00 20060101AFI20250919BHJP(計算;計数)
要約
【課題】ユーザの動きに追従させたアバターを表示する画像処理装置、プログラム及び画像処理方法を提供する。
【解決手段】画像処理装置100は、ユーザの顔を撮像した撮像データを解析して、ユーザの顔の複数の特徴点のそれぞれの移動方向及び移動速度を含む特徴量を算出する第1算出部と、ユーザの顔の複数の特徴点の少なくとも一部の複数の特徴点のそれぞれの特徴量に、ユーザーの顔の部位に対応する加重値を適用した加重特徴量を算出する第2算出部と、複数の特徴点のそれぞれの加重特徴量に基づいてユーザの顔の動きに合わせて動くアバターを生成するアバター生成部と、撮像データの前記ユーザの顔の部分に、アバター生成部によって生成されたアバターを重畳して表示するよう制御する表示制御部と、を備える。
【選択図】図3
特許請求の範囲
【請求項1】
ユーザの顔を撮像した撮像データを解析して、前記ユーザの顔の複数の特徴点のそれぞれの移動方向及び移動速度を含む特徴量を算出する第1算出部と、
前記ユーザの顔の前記複数の特徴点の少なくとも一部の複数の特徴点のそれぞれの前記特徴量に、前記顔の部位に対応する加重値を適用した加重特徴量を算出する第2算出部と、
前記ユーザの顔の動きに合わせて動くアバターを生成するアバター生成部であって、前記複数の特徴点のそれぞれの前記加重特徴量に基づいて前記アバターを生成するアバター生成部と、
前記撮像データの前記ユーザの顔の部分に、前記アバター生成部によって生成された前記アバターを重畳して表示するよう制御する表示制御部と
を備える画像処理装置。
続きを表示(約 1,700 文字)
【請求項2】
前記第2算出部は、前記少なくとも一部の複数の特徴点のそれぞれの前記特徴量に含まれる前記移動速度に、前記顔の部位に対応する加重値を適用した前記加重特徴量を算出し、
前記アバター生成部は、前記少なくとも一部の複数の特徴点のそれぞれについて、前記加重値が適用された前記移動速度に従って移動させることによって、各部位が変化する前記アバターを生成する、請求項1に記載の画像処理装置。
【請求項3】
前記ユーザの顔の前記複数の特徴点のそれぞれの移動可能範囲を記憶する範囲記憶部
を備え、
前記アバター生成部は、前記少なくとも一部の前記複数の特徴点のそれぞれについて、前記移動可能範囲内で、前記加重値が適用された前記移動速度に従って移動させることによって、各部位が変化する前記アバターを生成する、請求項2に記載の画像処理装置。
【請求項4】
通常モードと、前記ユーザの目を強調する目強調モードとを切り替えるモード管理部
を備え、
前記通常モードが設定されている場合、前記アバター生成部は、前記撮像データに基づいて前記アバターを生成し、
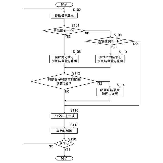
前記目強調モードが設定されている場合、前記第2算出部は、前記ユーザの顔の前記複数の特徴点のうち、前記ユーザの目に対応する複数の特徴点のそれぞれの前記特徴量に、目に対応する加重値を適用した前記加重特徴量を算出し、前記アバター生成部は、前記ユーザの目に対応する前記複数の特徴点の前記加重特徴量を用いて、前記アバターを生成する、請求項1から3のいずれか一項に記載の画像処理装置。
【請求項5】
前記モード管理部は、前記通常モードと、前記目強調モードと、前記ユーザの表情を強調する表情強調モードとを切り替え、
前記表情強調モードが設定されている場合、前記第2算出部は、前記ユーザの顔の前記複数の特徴点のうち、前記ユーザの目、眉、頬、及び口に対応する複数の特徴点のそれぞれの前記特徴量に、前記顔の部位に対応する加重値を適用した加重特徴量を算出し、前記アバター生成部は、前記ユーザの目、眉、頬、及び口に対応する前記複数の特徴点の前記加重特徴量を用いて、前記アバターを生成する、請求項4に記載の画像処理装置。
【請求項6】
通常モードと、前記ユーザの表情を強調する表情強調モードとを切り替えるモード管理部
を備え、
前記通常モードが設定されている場合、前記アバター生成部は、前記撮像データに基づいて前記アバターを生成し、
前記表情強調モードが設定されている場合、前記第2算出部は、前記ユーザの顔の前記複数の特徴点のうち、前記ユーザの目、眉、頬、及び口に対応する複数の特徴点のそれぞれの前記特徴量に、前記顔の部位に対応する加重値を適用した加重特徴量を算出し、前記アバター生成部は、前記ユーザの目、眉、頬、及び口に対応する前記複数の特徴点の前記加重特徴量と、前記ユーザの目、眉、頬、及び口以外に対する複数の特徴点の前記特徴量とに基づいて、前記アバターを生成する、請求項1から3のいずれか一項に記載の画像処理装置。
【請求項7】
コンピュータを、請求項1から3のいずれか一項に記載の画像処理装置として機能させるためのプログラム。
【請求項8】
コンピュータによって実行される画像処理方法であって、
ユーザの顔を撮像した撮像データを解析して、前記ユーザの顔の複数の特徴点のそれぞれの移動方向及び移動速度を含む特徴量を算出する第1算出段階と、
前記ユーザの顔の前記複数の特徴点の少なくとも一部の複数の特徴点のそれぞれの前記特徴量に、前記顔の部位に対応する加重値を適用した加重特徴量を算出する第2算出段階と、
前記ユーザの顔の動きに合わせて動くアバターを生成するアバター生成部であって、前記複数の特徴点のそれぞれの前記加重特徴量に基づいて前記アバターを生成するアバター生成段階と、
前記撮像データの前記ユーザの顔の部分に、前記アバター生成部によって生成された前記アバターを重畳して表示するよう制御する表示制御段階と
を備える画像処理方法。
発明の詳細な説明
【技術分野】
【0001】
本発明は、画像処理装置、プログラム、及び画像処理方法に関する。
続きを表示(約 2,600 文字)
【背景技術】
【0002】
特許文献1には、ユーザの動きに追従させたアバターを表示する技術が記載されている。
[先行技術文献]
[特許文献]
[特許文献1]特開2023-094549号公報
【発明の概要】
【課題を解決するための手段】
【0003】
本発明の一実施態様によれば、画像処理装置が提供される。前記画像処理装置は、ユーザの顔を撮像した撮像データを解析して、前記ユーザの顔の複数の特徴点のそれぞれの移動方向及び移動速度を含む特徴量を算出する第1算出部を備えてよい。前記画像処理装置は、前記ユーザの顔の前記複数の特徴点の少なくとも一部の複数の特徴点のそれぞれの前記特徴量に、前記顔の部位に対応する加重値を適用した加重特徴量を算出する第2算出部を備えてよい。前記画像処理装置は、前記ユーザの顔の動きに合わせて動くアバターを生成するアバター生成部であって、前記複数の特徴点のそれぞれの前記加重特徴量に基づいて前記アバターを生成するアバター生成部を備えてよい。前記画像処理装置は、前記撮像データの前記ユーザの顔の部分に、前記アバター生成部によって生成された前記アバターを重畳して表示するよう制御する表示制御部を備えてよい。
【0004】
前記画像処理装置において、前記第2算出部は、前記少なくとも一部の複数の特徴点のそれぞれの前記特徴量に含まれる前記移動速度に、前記顔の部位に対応する加重値を適用した前記加重特徴量を算出してよく、前記アバター生成部は、前記少なくとも一部の複数の特徴点のそれぞれについて、前記加重値が適用された前記移動速度に従って移動させることによって、各部位が変化する前記アバターを生成してよい。前記画像処理装置は、前記ユーザの顔の前記複数の特徴点のそれぞれの移動可能範囲を記憶する範囲記憶部を備えてよく、前記アバター生成部は、前記少なくとも一部の前記複数の特徴点のそれぞれについて、前記移動可能範囲内で、前記加重値が適用された前記移動速度に従って移動させることによって、各部位が変化する前記アバターを生成してよい。
【0005】
前記いずれかの画像処理装置は、通常モードと、前記ユーザの目を強調する目強調モードとを切り替えるモード管理部を備えてよく、前記通常モードが設定されている場合、前記アバター生成部は、前記撮像データに基づいて前記アバターを生成してよく、前記目強調モードが設定されている場合、前記第2算出部は、前記ユーザの顔の前記複数の特徴点のうち、前記ユーザの目に対応する複数の特徴点のそれぞれの前記特徴量に、目に対応する加重値を適用した前記加重特徴量を算出し、前記アバター生成部は、前記ユーザの目に対応する前記複数の特徴点の前記加重特徴量を用いて、前記アバターを生成してよい。前記モード管理部は、前記通常モードと、前記目強調モードと、前記ユーザの表情を強調する表情強調モードとを切り替えてよく、前記表情強調モードが設定されている場合、前記第2算出部は、前記ユーザの顔の前記複数の特徴点のうち、前記ユーザの目、眉、頬、及び口に対応する複数の特徴点のそれぞれの前記特徴量に、前記顔の部位に対応する加重値を適用した加重特徴量を算出し、前記アバター生成部は、前記ユーザの目、眉、頬、及び口に対応する前記複数の特徴点の前記加重特徴量を用いて、前記アバターを生成してよい。
【0006】
前記いずれかの画像処理装置は、通常モードと、前記ユーザの表情を強調する表情強調モードとを切り替えるモード管理部を備えてよく、前記通常モードが設定されている場合、前記アバター生成部は、前記撮像データに基づいて前記アバターを生成してよく、前記表情強調モードが設定されている場合、前記第2算出部は、前記ユーザの顔の前記複数の特徴点のうち、前記ユーザの目、眉、頬、及び口に対応する複数の特徴点のそれぞれの前記特徴量に、前記顔の部位に対応する加重値を適用した加重特徴量を算出し、前記アバター生成部は、前記ユーザの目、眉、頬、及び口に対応する前記複数の特徴点の前記加重特徴量と、前記ユーザの目、眉、頬、及び口以外に対する複数の特徴点の前記特徴量とに基づいて、前記アバターを生成してよい。
【0007】
本発明の一実施態様によれば、コンピュータを、前記画像処理装置として機能させるためのプログラムが提供される。
【0008】
本発明の一実施態様によれば、コンピュータによって実行される画像処理方法が提供される。前記画像処理方法は、ユーザの顔を撮像した撮像データを解析して、前記ユーザの顔の複数の特徴点のそれぞれの移動方向及び移動速度を含む特徴量を算出する第1算出段階を備えてよい。前記画像処理方法は、前記ユーザの顔の前記複数の特徴点の少なくとも一部の複数の特徴点のそれぞれの前記特徴量に、前記顔の部位に対応する加重値を適用した加重特徴量を算出する第2算出段階を備えてよい。前記画像処理方法は、前記ユーザの顔の動きに合わせて動くアバターを生成するアバター生成部であって、前記複数の特徴点のそれぞれの前記加重特徴量に基づいて前記アバターを生成するアバター生成段階を備えてよい。前記画像処理方法は、前記撮像データの前記ユーザの顔の部分に、前記アバター生成部によって生成された前記アバターを重畳して表示するよう制御する表示制御段階を備えてよい。
【0009】
なお、上記の発明の概要は、本発明の必要な特徴の全てを列挙したものではない。また、これらの特徴群のサブコンビネーションもまた、発明となりうる。
【図面の簡単な説明】
【0010】
アバター表示システム10の一例を概略的に示す。
アバター表示システム10の他の一例を概略的に示す。
画像処理装置100の機能構成の一例を概略的に示す。
目の強調について説明するための説明図である。
表情の強調について説明するための説明図である。
画像処理装置100による処理の流れの一例を概略的に示す。
画像処理装置100又は通信装置200として機能するコンピュータ1200のハードウェア構成の一例を概略的に示す。
【発明を実施するための形態】
(【0011】以降は省略されています)
この特許をJ-PlatPat(特許庁公式サイト)で参照する
関連特許
個人
地球保全システム
2日前
個人
フラワーコートA
1か月前
個人
工程設計支援装置
1か月前
個人
為替ポイント伊達夢貯
29日前
個人
冷凍食品輸出支援構造
29日前
個人
携帯情報端末装置
1か月前
個人
表変換編集支援システム
22日前
個人
知財出願支援AIシステム
29日前
個人
結婚相手紹介支援システム
1か月前
個人
パスワード管理支援システム
22日前
個人
AIによる情報の売買の仲介
1か月前
個人
行動時間管理システム
24日前
個人
アンケート支援システム
1か月前
個人
海外支援型農作物活用システム
14日前
個人
AIキャラクター制御システム
22日前
株式会社キーエンス
受発注システム
1日前
個人
システム及びプログラム
15日前
日本精機株式会社
施工管理システム
1か月前
個人
パスポートレス入出国システム
1か月前
株式会社キーエンス
受発注システム
1日前
株式会社キーエンス
受発注システム
1日前
株式会社アジラ
進入判定装置
1か月前
個人
食品レシピ生成システム
1日前
個人
未来型家系図構築システム
14日前
個人
食事受注会計処理システム
1か月前
大阪瓦斯株式会社
住宅設備機器
1か月前
個人
冷凍加工連携型農場運用システム
29日前
個人
社会還元・施設向け供給支援構造
22日前
個人
ジェスチャーパッドのガイド部材
2か月前
個人
人格進化型対話応答制御システム
22日前
個人
音声対話型帳票生成支援システム
22日前
キヤノン株式会社
表示システム
1日前
サクサ株式会社
中継装置
22日前
サクサ株式会社
中継装置
2か月前
個人
SaaS型勤務調整支援システム
22日前
大同特殊鋼株式会社
疵判定方法
8日前
続きを見る
他の特許を見る