TOP
|
特許
|
意匠
|
商標
特許ウォッチ
Twitter
他の特許を見る
10個以上の画像は省略されています。
公開番号
2025140658
公報種別
公開特許公報(A)
公開日
2025-09-29
出願番号
2024040190
出願日
2024-03-14
発明の名称
表示デバイス、表示装置、光電変換装置、電子機器およびウェアラブルデバイス
出願人
キヤノン株式会社
代理人
弁理士法人大塚国際特許事務所
主分類
G09G
3/3225 20160101AFI20250919BHJP(教育;暗号方法;表示;広告;シール)
要約
【課題】1フレーム期間を複数のサブフレーム期間に分割する方式において、フリッカの抑制とブラーの抑制を両立するために有利な技術を提供する。
【解決手段】表示デバイスは、画素アレイと、前記画素アレイを駆動する駆動部と、前記駆動部を制御する制御部とを備える。前記制御部は、各単位フレーム期間が複数のサブフレーム期間で構成され、かつ、各サブフレーム期間におけるデューティ比が制御されるように前記駆動部を制御し、前記制御部は、各単位フレームにおいて、最後のサブフレーム期間のデューティ比が最初のサブフレーム期間のデューティ比よりも小さいように前記駆動部を制御する。
【選択図】図1
特許請求の範囲
【請求項1】
画素アレイと、前記画素アレイを駆動する駆動部と、前記駆動部を制御する制御部とを備える表示デバイスであって、
前記制御部は、各単位フレーム期間が複数のサブフレーム期間で構成され、かつ、各サブフレーム期間におけるデューティ比が制御されるように前記駆動部を制御し、
前記制御部は、各単位フレームにおいて、最後のサブフレーム期間のデューティ比が最初のサブフレーム期間のデューティ比よりも小さくなるように前記駆動部を制御する、
ことを特徴とする表示デバイス。
続きを表示(約 1,800 文字)
【請求項2】
前記制御部は、各サブフレーム期間が発光期間と非発光期間で構成され、各サブフレーム期間の開始時に前記発光期間が開始し、前記発光期間の終了時に前記非発光期間が開始するように前記駆動部を制御する、
ことを特徴とする請求項1に記載の表示デバイス。
【請求項3】
前記制御部は、各単位フレームにおいて、前記複数のサブフレーム期間のうち前記最後のサブフレーム期間以外のサブフレーム期間のデューティ比よりも前記最後のサブフレーム期間のデューティ比が小さいように前記駆動部を制御する、
ことを特徴とする請求項2に記載の表示デバイス。
【請求項4】
前記制御部は、各フレーム期間における前記最後のサブフレーム期間の前記非発光期間が3msec以上であるように前記駆動部を制御する、
ことを特徴とする請求項2に記載の表示デバイス。
【請求項5】
画素アレイと、前記画素アレイを駆動する駆動部と、前記駆動部を制御する制御部とを備える表示デバイスであって、
前記制御部は、各単位フレーム期間が複数のサブフレーム期間で構成され、かつ、各サブフレーム期間におけるデューティ比が制御されるように前記駆動部を制御し、
前記制御部は、各サブフレーム期間が発光期間と非発光期間で構成され、各サブフレーム期間の開始時に前記非発光期間が開始し、前記非発光期間の終了時に前記発光期間が開始するように前記駆動部を制御し、
前記制御部は、各単位フレームにおいて、少なくとも最後のサブフレーム期間のデューティ比よりも最初のサブフレーム期間のデューティ比が小さいように前記駆動部を制御する、
ことを特徴とする表示デバイス。
【請求項6】
前記制御部は、各単位フレームにおいて、前記複数のサブフレーム期間のうち前記最初のサブフレーム期間以外のサブフレーム期間のデューティ比よりも前記最初のサブフレーム期間のデューティ比が小さいように前記駆動部を制御する、
ことを特徴とする請求項5に記載の表示デバイス。
【請求項7】
前記制御部は、各フレーム期間における前記最初のサブフレーム期間の前記非発光期間が3msec以上であるように前記駆動部を制御する、
ことを特徴とする請求項5に記載の表示デバイス。
【請求項8】
画素アレイと、前記画素アレイを駆動する駆動部と、前記駆動部を制御する制御部とを備える表示デバイスであって、
前記制御部は、各単位フレーム期間が複数のサブフレーム期間で構成され、かつ、各サブフレーム期間におけるデューティ比が制御されるように前記駆動部を制御し、
前記制御部は、各サブフレーム期間が第1非発光期間、発光期間および第2非発光期間で構成され、各サブフレームの開始時に前記第1非発光期間が開始し、前記第1非発光期間の終了時に前記発光期間が開始し、前記発光期間の終了時に前記第2非発光期間が開始するように前記駆動部を制御し、
前記制御部は、k番目(kは1~n)のサブフレームにおける前記第1非発光期間、前記発光期間および前記第2非発光期間の長さをそれぞれの長さをt
Dk,1
、t
Lk
、t
Dk,2
と定義したときに、
t
D1,2
+t
D2,1
<t
Dn,2
+t
D1,1
を満たすように前記駆動部を制御する、
ことを特徴とする表示デバイス。
【請求項9】
前記制御部は、k=1~n-1におけるt
Dk,1
が等しく、k=1~n-1におけるt
Lk
が等しく、k=1~n-1におけるt
Dk,2
が等しいように、前記駆動部を制御する、
ことを特徴とする請求項8に記載の表示デバイス。
【請求項10】
前記制御部は、t
D1,2
+t
D2,1
が3msec以上であるように前記駆動部を制御する、
ことを特徴とする請求項9に記載の表示デバイス。
(【請求項11】以降は省略されています)
発明の詳細な説明
【技術分野】
【0001】
本発明は、表示デバイス、表示装置、光電変換装置、電子機器およびウェアラブルデバイスに関する。
続きを表示(約 2,400 文字)
【背景技術】
【0002】
近年、表示デバイスは様々な用途に使用されており、携帯用機器に搭載される小型ディスプレイの分野における開発も盛んである。携帯用機器は、取扱いが容易であることから、屋外・屋内を問わず様々な環境で使用される。表示デバイスとしては、月明かりのない夜間の屋外や照明が点灯していない室内といった暗い環境から、晴天の太陽下の野外といった明るい環境まで様々な周囲輝度の使用環境においても最適な表示画像を提供する必要がある。
【0003】
表示デバイスでは、1sec間に数十回から数百回にわたって映像を書き換えるリフレッシュ動作が行われる。映像を出力する表示デバイス側の指標として、このリフレッシュ動作の周波数はリフレッシュ・レートと呼ばれる。表示デバイス上の表示は、リフレッシュ・レートが高い映像である方がより自然に近く好ましいが、リフレッシュ・レートの増加は、表示デバイスの回路規模を増大化させ、駆動時の消費電力も大きくなってしまうため、ほとんどの場合において好ましくない。特に、携帯用機器に搭載される小型ディスプレイの場合においては、消費電力の増大は、機器のバッテリーを大きくしてしまい、製品重量が重くなったり、製品サイズが大きくなったりするので好ましくない。一方で、リフレッシュ・レートが低い場合にはフリッカと呼ばれる映像のちらつきが視認できてしまうという問題がある。それため、通常は60Hz程度のフリッカが視認しにくい周波数で使用される。
【0004】
有機EL(OLED)やマイクロLEDなどの表示デバイスは、画素毎に自発光型の発光素子を用いており、各発光素子に所望の電流を印加することで発光させる。発光させる期間は電流の印加期間に対応するため、1フレームにおける発光期間を調整することが可能である。1フレームの期間に対する発光期間の割合は、デューティ比と呼ばれる。デューティ比が100%である場合(常時発光させている場合)、60Hz駆動においてフリッカは発生しない。しかし、動きが速い映像では、連続する2つのフレームの映像の差異が大きいために、人間の視覚の残像効果によって映像が平均化され、映像がぼやけて認識されてしまうという問題がある。この視覚の残像効果は、ブラーあるいはモーション・ブラーと呼ばれる。特許文献1には、1フレームを複数のサブフレームに分割し、各サブフレームをデューティ比に応じた発光期間だけ発光素子を発光させてフリッカを抑制する技術が記載されている。
【先行技術文献】
【特許文献】
【0005】
特開2006-030516公報
【発明の概要】
【発明が解決しようとする課題】
【0006】
本発明者が検討を行った結果、特許文献1に記載された技術では、フレーム内のサブフレーム間でデューティ比が変わらないため、動きが速い映像においてはデューティ駆動をしていてもブラーの抑制効果が十分でない場合があることがわかった。
【0007】
本発明は、1フレーム期間を複数のサブフレーム期間に分割する方式において、フリッカの抑制とブラーの抑制を両立するために有利な技術を提供する。
【課題を解決するための手段】
【0008】
本発明の1つの側面は、画素アレイと、前記画素アレイを駆動する駆動部と、前記駆動部を制御する制御部とを備える表示デバイスに係り、前記制御部は、各単位フレーム期間が複数のサブフレーム期間で構成され、かつ、各サブフレーム期間におけるデューティ比が制御されるように前記駆動部を制御し、前記制御部は、各単位フレームにおいて、最後のサブフレーム期間のデューティ比が最初のサブフレーム期間のデューティ比よりも小さいように前記駆動部を制御する。
【発明の効果】
【0009】
本発明によれば、フリッカの抑制とブラーの抑制を両立するために有利な技術が提供される。
【図面の簡単な説明】
【0010】
第1実施形態の表示デバイスの動作を示すタイミングチャート。
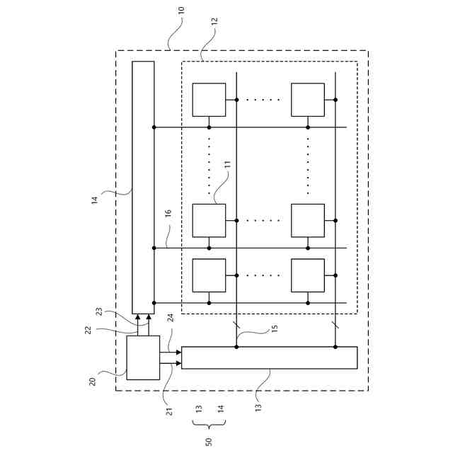
第1実施形態の一実施例の表示デバイスの構成を模式的に示す図。
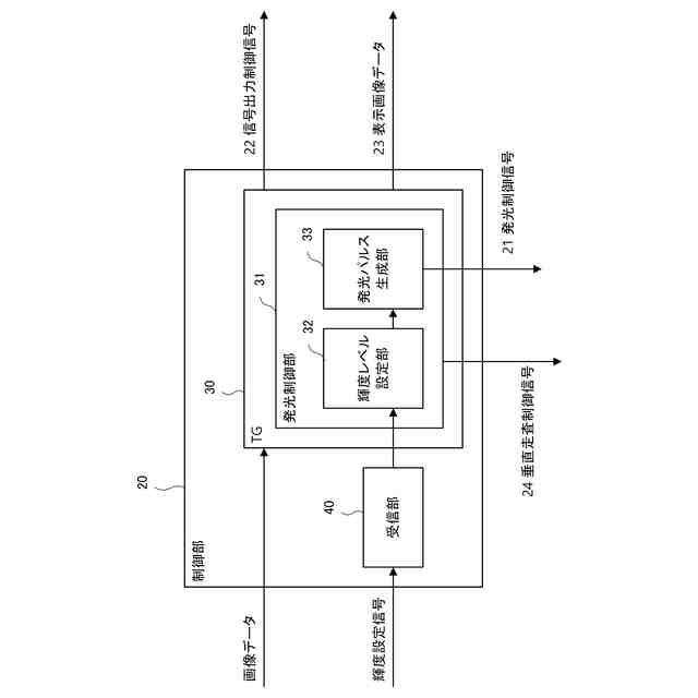
第1実施形態の一実施例の表示デバイスの制御部の構成を示す図。
実施例1-1の表示デバイスの動作を示すタイミングチャート。
実施例1-1を説明するためのタイミングチャート。
実施例1-1を説明するためのタイミングチャート。
実施例1-2の表示デバイスの動作を示すタイミングチャート。
実施例1-3の表示デバイスの動作を示すタイミングチャート。
実施例1-4の表示デバイスの動作を示すタイミングチャート。
実施例1-5の表示デバイスの動作を示すタイミングチャート。
実施例1-6の表示デバイスの動作を示すタイミングチャート。
第2実施形態の表示デバイスの動作を示すタイミングチャート。
実施例2-1の表示デバイスの動作を示すタイミングチャート。
実施例2-2の表示デバイスの動作を示すタイミングチャート。
実施例3-1の表示デバイスの動作を示すタイミングチャート。
実施例3-2の表示デバイスの制御部の構成を示す図。
実施例3-2の表示デバイスの動作を示すタイミングチャート。
一実施形態の表示装置の構成を例示する図。
一実施形態の表示装置の構成を例示する図。
一実施形態の撮像装置および電子機器を例示する図。
一実施形態の表示装置を例示する図。
一実施形態のスマートグラスを例示する図。
【発明を実施するための形態】
(【0011】以降は省略されています)
この特許をJ-PlatPat(特許庁公式サイト)で参照する
関連特許
キヤノン株式会社
トナー
1日前
キヤノン株式会社
トナー
1か月前
キヤノン株式会社
表示装置
8日前
キヤノン株式会社
電子機器
29日前
キヤノン株式会社
定着装置
24日前
キヤノン株式会社
定着装置
24日前
キヤノン株式会社
定着装置
24日前
キヤノン株式会社
撮像装置
1か月前
キヤノン株式会社
電子機器
26日前
キヤノン株式会社
撮像装置
17日前
キヤノン株式会社
撮像装置
29日前
キヤノン株式会社
電子機器
17日前
キヤノン株式会社
電子機器
3日前
キヤノン株式会社
記録装置
17日前
キヤノン株式会社
撮像装置
9日前
キヤノン株式会社
撮像装置
16日前
キヤノン株式会社
光学装置
29日前
キヤノン株式会社
記録装置
1日前
キヤノン株式会社
記録装置
16日前
キヤノン株式会社
撮像装置
15日前
キヤノン株式会社
定着装置
15日前
キヤノン株式会社
現像装置
1か月前
キヤノン株式会社
電子機器
1か月前
キヤノン株式会社
電子機器
5日前
キヤノン株式会社
発光装置
8日前
キヤノン株式会社
収容装置
9日前
キヤノン株式会社
定着装置
9日前
キヤノン株式会社
電子機器
9日前
キヤノン株式会社
撮像装置
26日前
キヤノン株式会社
電子機器
9日前
キヤノン株式会社
電子機器
24日前
キヤノン株式会社
撮像装置
1日前
キヤノン株式会社
容器構造体
1か月前
キヤノン株式会社
容器構造体
1か月前
キヤノン株式会社
現像剤容器
2日前
キヤノン株式会社
半導体装置
3日前
続きを見る
他の特許を見る