TOP
|
特許
|
意匠
|
商標
特許ウォッチ
Twitter
他の特許を見る
公開番号
2025140782
公報種別
公開特許公報(A)
公開日
2025-09-29
出願番号
2024040360
出願日
2024-03-14
発明の名称
積層鉄心、及び積層鉄心の製造方法
出願人
株式会社メタルアート
代理人
個人
主分類
H02K
15/02 20250101AFI20250919BHJP(電力の発電,変換,配電)
要約
【課題】積層された鉄心片どうしが強固に締結された積層鉄心を提供する。
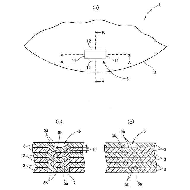
【解決手段】カシメ部5が設けられた板状の鉄心片3を複数備える積層鉄心1であって、複数の鉄心片3は、カシメ部5が嵌合された状態で積層されており、カシメ部5は、鉄心片3の板面に対し垂直な方向から見た輪郭が、向かい合う二辺の組である第一組の対辺11と当該第一組の対辺11と交差し、且つ向かい合う二辺の組である第二組の対辺12とを有し、鉄心片3の板面に対し垂直で、且つ第一組の対辺11と交差する面で切断した断面形状が円弧状であるとともに、鉄心片3の板面に対し垂直で、且つ第二組の対辺12と交差する面で切断した断面形状が直線状であるものとする。
【選択図】図1
特許請求の範囲
【請求項1】
カシメ部が設けられた板状の鉄心片を複数備える積層鉄心であって、
複数の前記鉄心片は、前記カシメ部が嵌合された状態で積層されており、
前記カシメ部は、前記鉄心片の板面に対し垂直な方向から見た輪郭が、向かい合う二辺の組である第一組の対辺と当該第一組の対辺と交差し、且つ向かい合う二辺の組である第二組の対辺とを有し、前記鉄心片の板面に対し垂直で、且つ前記第一組の対辺と交差する面で切断した断面形状が円弧状であるとともに、前記鉄心片の板面に対し垂直で、且つ前記第二組の対辺と交差する面で切断した断面形状が直線状である積層鉄心。
続きを表示(約 550 文字)
【請求項2】
積層方向に隣接する前記鉄心片の剥離強度が200N/mm以上である請求項1に記載の積層鉄心。
【請求項3】
係合部が設けられた鉄心片を、前記係合部が係合された状態となるように複数積層する積層工程と、
最上層の前記鉄心片の前記係合部にパンチを押圧してカシメ部を形成するカシメ部形成工程と、
を包含し、
前記係合部は、前記鉄心片の板面に対し垂直な方向から見た輪郭が、向かい合う二辺の組である第一組の対辺と当該第一組の対辺と交差し、且つ向かい合う二辺の組である第二組の対辺とを有し、前記鉄心片の板面に対し垂直で、且つ前記第一組の対辺と交差する面で切断した断面形状がV字状であるとともに、前記鉄心片の板面に対し垂直で、且つ前記第二組の対辺と交差する面で切断した断面形状が直線状であり、
前記カシメ部は、前記鉄心片の板面に対し垂直で、且つ前記第一組の対辺と交差する面で切断した断面形状が円弧状であるとともに、前記鉄心片の板面に対し垂直で、且つ前記第二組の対辺と交差する面で切断した断面形状が直線状である積層鉄心の製造方法。
【請求項4】
前記パンチの突出高さが0.3mm以上である請求項3に記載の積層鉄心の製造方法。
発明の詳細な説明
【技術分野】
【0001】
本発明は、カシメ部が設けられた板状の鉄心片を複数備える積層鉄心、及び当該積層鉄心の製造方法に関する。
続きを表示(約 1,800 文字)
【背景技術】
【0002】
例えば、モータの回転子や固定子において用いられる積層鉄心は、カシメ部が設けられた板状の鉄心片を複数備え、カシメ部が嵌合された状態となるように複数の鉄心片を積層することにより製造されている。カシメ部としては、両側に傾斜面を有する、断面形状がV字状のものや、逆台形状のものが知られている(例えば、特許文献1及び2を参照)。
【先行技術文献】
【特許文献】
【0003】
実開昭57-118640号公報
特開2001-197693号公報
【発明の概要】
【発明が解決しようとする課題】
【0004】
上記のような従来の積層鉄心では、積層方向に隣接する一方(上層)の鉄心片と他方(下層)の鉄心片とにおける傾斜面どうしを当接させて互いのカシメ部が嵌合されている。しかしながら、断面形状がV字状又は逆台形状のカシメ部では、傾斜面が急勾配であるので、当接させた傾斜面どうしが干渉し合い、互いのカシメ部の間に隙間が生じる。そのため、カシメ部どうしの締結強度が弱くなり、鉄心片どうしが剥離してしまう虞がある。
【0005】
本発明は、上記の課題に鑑みてなされたものであり、積層された鉄心片どうしが強固に締結された積層鉄心、及び当該積層鉄心の製造方法を提供することを目的とする。
【課題を解決するための手段】
【0006】
上記課題を解決するための本発明に係る積層鉄心の特徴構成は、
カシメ部が設けられた板状の鉄心片を複数備える積層鉄心であって、
複数の前記鉄心片は、前記カシメ部が嵌合された状態で積層されており、
前記カシメ部は、前記鉄心片の板面に対し垂直な方向から見た輪郭が、向かい合う二辺の組である第一組の対辺と当該第一組の対辺と交差し、且つ向かい合う二辺の組である第二組の対辺とを有し、前記鉄心片の板面に対し垂直で、且つ前記第一組の対辺と交差する面で切断した断面形状が円弧状であるとともに、前記鉄心片の板面に対し垂直で、且つ前記第二組の対辺と交差する面で切断した断面形状が直線状であることにある。
【0007】
本構成の積層鉄心によれば、カシメ部は、鉄心片の板面に対し垂直で、且つ第一組の対辺と交差する面で切断した断面形状が円弧状であるとともに、鉄心片の板面に対し垂直で、且つ第二組の対辺と交差する面で切断した断面形状が直線状である。このような形状のカシメ部であれば、カシメ部どうしを嵌合させた状態において、互いのカシメ部の構成面が干渉することなく圧着される。従って、積層された鉄心片どうしを強固に締結することができる。
【0008】
本発明に係る積層鉄心において、
積層方向に隣接する前記鉄心片の剥離強度が200N/mm以上であることが好ましい。
【0009】
本構成の積層鉄心によれば、積層方向に隣接する鉄心片の剥離強度が200N/mm以上であるので、例えば、当該積層鉄心を電動機に適用した場合、ノイズや振動の増加、コギングの悪化、出力の低下等を未然に防ぐことができる。
【0010】
次に、上記課題を解決するための本発明に係る積層鉄心の製造方法の特徴構成は、
係合部が設けられた鉄心片を、前記係合部が係合された状態となるように複数積層する積層工程と、
最上層の前記鉄心片の前記係合部にパンチを押圧してカシメ部を形成するカシメ部形成工程と、
を包含し、
前記係合部は、前記鉄心片の板面に対し垂直な方向から見た輪郭が、向かい合う二辺の組である第一組の対辺と当該第一組の対辺と交差し、且つ向かい合う二辺の組である第二組の対辺とを有し、前記鉄心片の板面に対し垂直で、且つ前記第一組の対辺と交差する面で切断した断面形状がV字状であるとともに、前記鉄心片の板面に対し垂直で、且つ前記第二組の対辺と交差する面で切断した断面形状が直線状であり、
前記カシメ部は、前記鉄心片の板面に対し垂直で、且つ前記第一組の対辺と交差する面で切断した断面形状が円弧状であるとともに、前記鉄心片の板面に対し垂直で、且つ前記第二組の対辺と交差する面で切断した断面形状が直線状であることにある。
(【0011】以降は省略されています)
この特許をJ-PlatPat(特許庁公式サイト)で参照する
関連特許
個人
電源装置
13日前
個人
永久磁石モーター
29日前
個人
バッテリ内蔵直流電源
12日前
株式会社FUJI
制御盤
2日前
オムロン株式会社
電源回路
6日前
オムロン株式会社
電源回路
6日前
オムロン株式会社
電源回路
6日前
ニデック株式会社
モータの制御方法
20日前
日産自動車株式会社
電子機器
23日前
エイブリック株式会社
バッテリ装置
1か月前
トヨタ自動車株式会社
回転子
13日前
井関農機株式会社
充電システム
23日前
ミサワホーム株式会社
居住設備
2日前
トヨタ自動車株式会社
溶接装置
26日前
大豊工業株式会社
モータ
12日前
東京応化工業株式会社
発電装置
6日前
株式会社リコー
拡張アンテナ装置
5日前
三菱ケミカル株式会社
電池
29日前
愛知電機株式会社
巻線方法および巻線装置
28日前
トヨタ自動車株式会社
ロータ
今日
富士電子工業株式会社
電力変換装置
14日前
ユタカ電業株式会社
ケーブルダクト
2日前
株式会社ミツバ
巻線装置
5日前
株式会社正興電機製作所
地絡確認装置
5日前
株式会社アイシン
直流回転電機
26日前
株式会社ダイヘン
電力変換装置
28日前
株式会社ダイヘン
電力管理装置
21日前
NTN株式会社
モータユニット
2日前
大阪瓦斯株式会社
蓄電装置
29日前
株式会社デンソー
インバータ装置
14日前
株式会社豊田自動織機
車両用機器
2日前
カヤバ株式会社
アクチュエータユニット
12日前
住友電装株式会社
ワイヤハーネス
22日前
志幸技研工業株式会社
ケーブル布設工法
12日前
株式会社ダイヘン
変換装置集積体
28日前
株式会社アイシン
駆動装置
今日
続きを見る
他の特許を見る