TOP
|
特許
|
意匠
|
商標
特許ウォッチ
Twitter
他の特許を見る
10個以上の画像は省略されています。
公開番号
2025140783
公報種別
公開特許公報(A)
公開日
2025-09-29
出願番号
2024040361
出願日
2024-03-14
発明の名称
半導体装置、および半導体装置の製造方法
出願人
ローム株式会社
代理人
個人
,
個人
主分類
H01L
23/29 20060101AFI20250919BHJP(基本的電気素子)
要約
【課題】半導体素子において発生した熱の放熱性を向上するのに適した半導体装置を提供する。
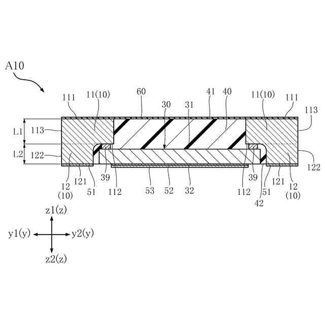
【解決手段】半導体装置A10は、導電部材10、半導体素子30および封止樹脂40を備える。導電部材10は、厚さ方向zのz1側およびz2側を向く主面111,112を有する配線部11と、配線部11に対して厚さ方向zのz2側につながり、且つ厚さ方向zのz2側を向く主面121を有する端子部12と、を含む。半導体素子30は、配線部11に対して厚さ方向zのz2側に位置し、主面112に接合されている。半導体素子30は、素子主面31,32を有する。配線部11は、厚さ方向zに直交する方向を向く側面113を有する。端子部12は、厚さ方向zに直交する方向を向き、且つ側面113につながる側面122を有する。素子主面32は、封止樹脂40から露出しており、側面113,122の少なくともいずれかは、封止樹脂40から露出している。
【選択図】図6
特許請求の範囲
【請求項1】
厚さ方向の一方側を向く第1主面および前記厚さ方向の他方側を向く第2主面を有する配線部と、前記配線部に対して前記厚さ方向の他方側につながり、且つ前記厚さ方向の他方側を向く第3主面を有する端子部と、を含む少なくとも1つの導電部材と、
前記配線部に対して前記厚さ方向の他方側に位置し、前記厚さ方向の一方側を向く第1素子主面および前記厚さ方向の他方側を向く第2素子主面を有する半導体素子と、
前記少なくとも1つの導電部材の各々の一部、および前記半導体素子を覆う封止樹脂と、を備え、
前記半導体素子は、前記第2主面に接合されており、
前記配線部は、前記厚さ方向に直交する方向を向く第1側面を有し、
前記端子部は、前記厚さ方向に直交する方向を向き、且つ前記第1側面につながる第2側面を有し、
前記第2素子主面は、前記封止樹脂から露出しており、
前記第1側面および前記第2側面の少なくともいずれかは、前記封止樹脂から露出している、半導体装置。
続きを表示(約 700 文字)
【請求項2】
前記封止樹脂は、前記厚さ方向の一方側を向く第1樹脂主面を有し、
前記第1主面は、前記第1樹脂主面から露出している、請求項1に記載の半導体装置。
【請求項3】
前記半導体素子は、接合層を介して前記第2主面に導電接合されている、請求項1に記載の半導体装置。
【請求項4】
前記配線部の前記厚さ方向の第1寸法は、前記端子部の前記厚さ方向の第2寸法の35%以上150%以下である、請求項1に記載の半導体装置。
【請求項5】
前記第1寸法は、前記第2寸法よりも大きい、請求項4に記載の半導体装置。
【請求項6】
複数の前記導電部材を備え、
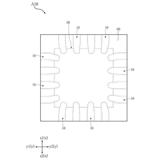
前記厚さ方向に見て、複数の前記導電部材における複数の前記端子部は、前記半導体素子を囲う、請求項1に記載の半導体装置。
【請求項7】
前記封止樹脂は、前記厚さ方向の他方側を向く第2樹脂主面を有し、
前記第3主面および前記第2素子主面は、前記第2樹脂主面と面一である、請求項1に記載の半導体装置。
【請求項8】
前記第3主面の前記厚さ方向の他方側に位置し、且つ前記第3主面に接する第1金属層をさらに備える、請求項1に記載の半導体装置。
【請求項9】
前記第2素子主面の前記厚さ方向の他方側に位置する第2金属層をさらに備える、請求項8に記載の半導体装置。
【請求項10】
前記第1金属層と前記第2金属層とは、同じ素材からなる、請求項9に記載の半導体装置。
(【請求項11】以降は省略されています)
発明の詳細な説明
【技術分野】
【0001】
本開示は、半導体装置および半導体装置の製造方法に関する。
続きを表示(約 2,600 文字)
【背景技術】
【0002】
半導体素子を備えた半導体装置は、様々な構成が提案されている。特許文献1には、従来の半導体装置の一例が開示されている。同文献に開示された半導体装置は、リード、半導体素子および封止樹脂を備えている。特許文献1に記載の半導体装置において、半導体素子は、リード上にフリップチップ実装により搭載されている。リードは、厚さ方向の一方側を向く主面、および厚さ方向の他方側を向く裏面を有する。半導体素子は、リードの主面に対向して配置されており、たとえばはんだなどからなる接合層を介してリードの主面に接合されている。封止樹脂は、半導体素子の全体と、リードの一部とを覆っている。リードの裏面は、封止樹脂から露出しており、当該リードの裏面がたとえば接合材を介して回路基板に接合される。
【0003】
上記構成の半導体装置において、半導体素子で発生した熱は、接合層、およびリードを介して放熱される。しかしながら、半導体装置の大電流化等に伴い、半導体素子での発熱量が大きくなると、上記のようにリードを介した放熱が不十分となることが懸念される。
【先行技術文献】
【特許文献】
【0004】
特開2020-77694号公報
【0005】
[概要]
本開示は、上記した事情のもとで考え出されたものであって、フリップチップ接合により導電部材に搭載された半導体素子において発生した熱の放熱性を向上するのに適した半導体装置を提供することを主たる課題とする。
【0006】
本開示の第1の側面によって提供される半導体装置は、厚さ方向の一方側を向く第1主面および前記厚さ方向の他方側を向く第2主面を有する配線部と、前記配線部に対して前記厚さ方向の他方側につながり、且つ前記厚さ方向の他方側を向く第3主面を有する端子部と、を含む少なくとも1つの導電部材と、前記配線部に対して前記厚さ方向の他方側に位置し、前記厚さ方向の一方側を向く第1素子主面および前記厚さ方向の他方側を向く第2素子主面を有する半導体素子と、前記少なくとも1つの導電部材の各々の一部、および前記半導体素子を覆う封止樹脂と、を備え、前記半導体素子は、前記第2主面に接合されており、前記配線部は、前記厚さ方向に直交する方向を向く第1側面を有し、前記端子部は、前記厚さ方向に直交する方向を向き、且つ前記第1側面につながる第2側面を有し、前記第2素子主面は、前記封止樹脂から露出しており、前記第1側面および前記第2側面の少なくともいずれかは、前記封止樹脂から露出している。
【0007】
本開示の第2の側面によって提供される半導体装置の製造方法は、厚さ方向の一方側を向く第1主面および前記厚さ方向の他方側を向く第2主面を有する配線部と、前記配線部に対して前記厚さ方向の他方側につながる端子部と、を含み、リードフレームにより構成された導電部材を準備する工程と、前記第2主面の上に半導体素子を配置する工程と、
前記第2主面、前記端子部および前記半導体素子を覆うように封止樹脂を形成する工程と、前記封止樹脂を前記厚さ方向の他方側から研削して、前記端子部および前記半導体素子を露出させる工程と、前記封止樹脂、前記端子部および前記配線部を、前記厚さ方向を含む平面に沿って切断する工程と、を含む。
【0008】
本開示のその他の特徴および利点は、添付図面を参照して以下に行う詳細な説明によって、より明らかとなろう。
【図面の簡単な説明】
【0009】
図1は、本開示の第1実施形態に係る半導体装置を示す平面図である。
図2は、本開示の第1実施形態に係る半導体装置を示す平面図(絶縁層を透過)である。
図3は、本開示の第1実施形態に係る半導体装置を示す平面図(絶縁層および封止樹脂を透過)である。
図4は、本開示の第1実施形態に係る半導体装置を示す底面図である。
図5は、本開示の第1実施形態に係る半導体装置を示す正面図である。
図6は、図3のVI-VI線に沿う断面図である。
図7は、図3のVII-VII線に沿う断面図である。
図8は、本開示の第1実施形態に係る半導体装置の製造方法の一例の一工程を示す断面図である。
図9は、図8に続く工程を示す断面図である。
図10は、図9に続く工程を示す断面図である。
図11は、図10に続く工程を示す断面図である。
図12は、図11に続く工程を示す断面図である。
図13は、図12に続く工程を示す断面図である。
図14は、図13に続く工程を示す断面図である。
図15は、図14に続く工程を示す断面図である。
図16は、本開示の第1実施形態に係る半導体装置の使用状態の一例を示す断面図である。
図17は、第1実施形態の第1変形例に係る半導体装置を示す、図6と同様の断面図である。
図18は、第1実施形態の第2変形例に係る半導体装置を示す、図6と同様の断面図である。
図19は、第1実施形態の第2変形例に係る半導体装置の製造方法の一例の一工程を示す断面図である。
図20は、図19に続く工程を示す断面図である。
図21は、図20に続く工程を示す断面図である。
図22は、本開示の第2実施形態に係る半導体装置を示す、図6と同様の断面図である。
図23は、本開示の第2実施形態に係る半導体装置の製造方法の一例の一工程を示す断面図である。
図24は、図23に続く工程を示す断面図である。
図25は、図24に続く工程を示す断面図である。
図26は、図25に続く工程を示す断面図である。
図27は、図26に続く工程を示す断面図である。
図28は、図27に続く工程を示す断面図である。
図29は、図28に続く工程を示す断面図である。
図30は、図29に続く工程を示す断面図である。
図31は、図30に続く工程を示す断面図である。
【0010】
[詳細な説明]
以下、本開示の好ましい実施の形態につき、図面を参照して具体的に説明する。
(【0011】以降は省略されています)
この特許をJ-PlatPat(特許庁公式サイト)で参照する
関連特許
ローム株式会社
タイマ
7日前
ローム株式会社
電子装置
3日前
ローム株式会社
監視回路
3日前
ローム株式会社
発振回路
3日前
ローム株式会社
発振回路
27日前
ローム株式会社
入出力回路
24日前
ローム株式会社
半導体装置
13日前
ローム株式会社
半導体装置
3日前
ローム株式会社
半導体装置
22日前
ローム株式会社
メモリ装置
3日前
ローム株式会社
半導体装置
3日前
ローム株式会社
半導体装置
23日前
ローム株式会社
半導体装置
22日前
ローム株式会社
基準電圧源
24日前
ローム株式会社
半導体装置
7日前
ローム株式会社
圧電共振器
24日前
ローム株式会社
照度センサ
29日前
ローム株式会社
半導体装置
14日前
ローム株式会社
半導体装置
1日前
ローム株式会社
半導体装置
29日前
ローム株式会社
半導体装置
1日前
ローム株式会社
半導体装置
1日前
ローム株式会社
半導体装置
1日前
ローム株式会社
半導体装置
22日前
ローム株式会社
信号出力回路
13日前
ローム株式会社
信号出力回路
13日前
ローム株式会社
半導体記憶装置
6日前
ローム株式会社
半導体記憶装置
6日前
ローム株式会社
定電圧生成回路
13日前
ローム株式会社
半導体集積回路
14日前
ローム株式会社
縦型ホール素子
3日前
ローム株式会社
MEMSセンサ
23日前
ローム株式会社
電圧制御発振器
23日前
ローム株式会社
窒化物半導体装置
21日前
ローム株式会社
半導体モジュール
3日前
ローム株式会社
窒化物半導体装置
27日前
続きを見る
他の特許を見る