TOP
|
特許
|
意匠
|
商標
特許ウォッチ
Twitter
他の特許を見る
10個以上の画像は省略されています。
公開番号
2025140482
公報種別
公開特許公報(A)
公開日
2025-09-29
出願番号
2024039912
出願日
2024-03-14
発明の名称
縦型ホール素子
出願人
ローム株式会社
代理人
個人
,
個人
,
個人
,
個人
主分類
H10N
52/00 20230101AFI20250919BHJP()
要約
【課題】半導体領域を流れる検知電流の電流経路の広がりが抑制された縦型ホール素子を提供する。
【解決手段】縦型ホール素子1は、第1面210と第1面210の反対方向を向く第2面220を有し、第1面210の一部に第1領域211が選択的に設定された導電性の第1半導体層20と、第1面210の第1領域211を除いた第2領域212に配置された、絶縁層又は第1半導体層と導電型が異なる導電性半導体のマスク層80と、第1半導体層20の第1領域211に配置され、底面が第1面210に対向するメサ形状であって第1半導体層20と同一導電型の導電性半導体の第1感磁層301を備える。
【選択図】図1
特許請求の範囲
【請求項1】
第1面と前記第1面の反対方向を向く第2面を有し、前記第1面の一部に第1領域が選択的に設定された導電性の第1半導体層と、
前記第1面の前記第1領域を除いた第2領域に配置された、絶縁層又は前記第1半導体層と導電型が異なる導電性半導体のマスク層と、
前記第1半導体層の前記第1領域に配置され、底面が前記第1面に対向するメサ形状であって前記第1半導体層と同一導電型の導電性半導体の第1感磁層と、
を備える縦型ホール素子。
続きを表示(約 840 文字)
【請求項2】
前記第1感磁層がエピタキシャル成長層である、請求項1に記載の縦型ホール素子。
【請求項3】
前記第1感磁層の周囲に前記マスク層が露出している、請求項1に記載の縦型ホール素子。
【請求項4】
前記マスク層が絶縁層である、請求項1に記載の縦型ホール素子。
【請求項5】
前記第1感磁層が第1導電型半導体であり、
前記マスク層が第2導電型半導体である、
請求項1に記載の縦型ホール素子。
【請求項6】
前記第1感磁層の前記底面の反対方向を向く上面に配置された第1主電極と、
前記第1感磁層から離隔した位置で前記第1面の上方に配置された第2主電極と、
を更に備える、請求項1乃至5のいずれか1項に記載の縦型ホール素子。
【請求項7】
前記第1主電極を挟んで前記第1感磁層の前記上面に配置された一対のホール電極を更に備え、
前記第1半導体層の前記第1面と平行な向きの磁場と、前記第1感磁層を経由して前記第1主電極と前記第2主電極の間を流れる検知電流とにより発生するローレンツ力に起因するホール出力電圧を、前記ホール電極により検知可能に構成されている、請求項6に記載の縦型ホール素子。
【請求項8】
前記第1感磁層から離隔した位置で前記第1面の上方に配置され、底面が前記第1面に対向するメサ形状の導電性半導体の第2感磁層を更に備え、
前記第2主電極が前記第2感磁層の前記底面に対向する上面に配置されている、
請求項6に記載の縦型ホール素子。
【請求項9】
前記第1感磁層を挟んで2つの前記第2感磁層が配置されている、請求項8に記載の縦型ホール素子。
【請求項10】
前記第1感磁層が化合物半導体を含む、請求項1乃至5のいずれか1項に記載の縦型ホール素子。
(【請求項11】以降は省略されています)
発明の詳細な説明
【技術分野】
【0001】
本開示は、縦型ホール素子に関する。
続きを表示(約 2,400 文字)
【背景技術】
【0002】
ホール効果を利用して磁場を検知するホール素子に、基板に対して平行に通過する磁場を検知する縦型ホール素子が用いられている。縦型ホール素子では、磁場を検知するための検知電流が基板に対して垂直方向に半導体領域を流れる。
【先行技術文献】
【特許文献】
【0003】
特開2008-16863号公報
【0004】
[概要]
縦型ホール素子は、半導体領域を流れる検知電流の電流経路に広がりが生じると、感度が低下する。本開示の目的は、半導体領域を流れる検知電流の電流経路の広がりが抑制された縦型ホール素子を提供することにある。
【0005】
本開示の一態様は、第1面と第1面の反対方向を向く第2面を有し、第1面の一部に第1領域が選択的に設定された導電性の第1半導体層と、第1面の第1領域を除いた第2領域に配置された、絶縁層又は第1半導体層と導電型が異なる導電性半導体のマスク層と、第1半導体層の第1領域に配置され、底面が第1面に対向するメサ形状であって第1半導体層と同一導電型の導電性半導体の第1感磁層を備える縦型ホール素子である。
【0006】
本開示の他の態様は、第1面と第1面の反対方向を向く第2面を有し、第1面の一部に第1領域が選択的に設定された導電性の第1半導体層を準備し、第1面の第1領域を除いた第2領域に、絶縁層又は第1半導体層と導電型が異なる導電性半導体のマスク層を選択的に形成し、第1半導体層の第1領域に、底面が第1面に対向するメサ形状であって第1半導体層と同一導電型の導電性半導体の第1感磁層を形成する、を含む縦型ホール素子の製造方法である。
【図面の簡単な説明】
【0007】
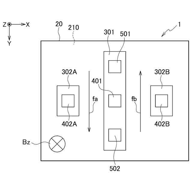
図1は、第1の実施形態に係る縦型ホール素子の構造を示す模式的な断面図である。
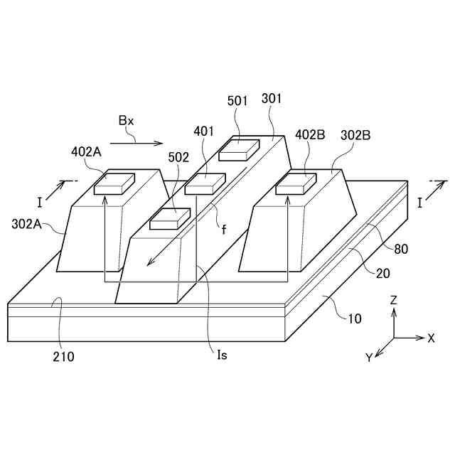
図2は、第1の実施形態に係る縦型ホール素子の動作を説明するための模式的な斜視図である。
図3は、第1の実施形態に係る縦型ホール素子による磁場の誤った検知の防止を説明するための模式図である。
図4は、感磁層モデルの構造を示す模式的な斜視図である。
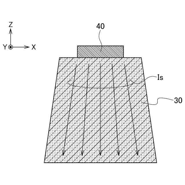
図5は、感磁層における検知電流の電流経路の広がりを説明するための模式的な断面図である。
図6は、感磁層における検知電流の電流経路の広がりの例を示すグラフである。
図7は、第1の実施形態に係る縦型ホール素子の製造方法を説明するための模式的な工程断面図である(その1)。
図8は、第1の実施形態に係る縦型ホール素子の製造方法を説明するための模式的な工程断面図である(その2)。
図9は、第1の実施形態に係る縦型ホール素子の製造方法を説明するための模式的な工程断面図である(その3)。
図10は、第1の実施形態に係る縦型ホール素子の製造方法を説明するための模式的な工程断面図である(その4)。
図11は、第1の実施形態に係る縦型ホール素子の製造方法を説明するための模式的な工程断面図である(その5)。
図12は、第1の実施形態に係る縦型ホール素子の製造方法を説明するための模式的な工程断面図である(その6)。
図13は、第1の実施形態に係る縦型ホール素子の主電極の形状の例を示す模式的な断面図である。
図14は、第1の実施形態の変形例に係る縦型ホール素子の構造を示す模式的な平面図である。
図15は、第1の実施形態の変形例に係る縦型ホール素子の他の構造を示す模式的な平面図である。
図16は、第2の実施形態に係る縦型ホール素子の構造を示す模式的な断面図である。
図17は、第2の実施形態に係る縦型ホール素子の製造方法を説明するための模式的な工程断面図である(その1)。
図18は、第2の実施形態に係る縦型ホール素子の製造方法を説明するための模式的な工程断面図である(その2)。
図19は、第2の実施形態に係る縦型ホール素子の製造方法を説明するための模式的な工程断面図である(その3)。
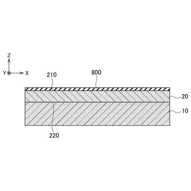
図20は、その他の実施形態に係る縦型ホール素子の構造を示す模式的な断面図である。
【0008】
[詳細な説明]
次に、図面を参照して実施形態を説明する。以下の図面の記載において、同一又は類似の部分には同一又は類似の符号を付している。ただし、図面は模式的なものであり、厚みと平面寸法との関係、各部の厚みの比率などは現実のものとは異なることに留意すべきである。また、図面相互間においても互いの寸法の関係又は比率が異なる部分が含まれていることは勿論である。
【0009】
また、以下に示す実施形態は、技術的思想を具体化するための装置又は方法を例示するものであって、構成部品の形状、構造、配置などを下記のものに特定するものでない。この実施形態は、特許請求の範囲において種々の変更を加えることができる。
【0010】
第1の実施形態に係る縦型ホール素子1は、図1に示すように、第1面210と第1面210の反対方向を向く第2面220を有する導電性の第1半導体層20と、第1面210の上方に配置された第1感磁層301および第2感磁層302A、302Bを備える。以下において、第2感磁層302Aと第2感磁層302Bのそれぞれを限定しない場合は「第2感磁層302」と表記する。第2感磁層302は、第1感磁層301から離隔した位置で第1面210の上方に配置されている。また、第1感磁層301と第2感磁層302のそれぞれを限定しない場合は、「感磁層30」と表記する。感磁層30と第1半導体層20は電気的に接続されている。
(【0011】以降は省略されています)
この特許をJ-PlatPat(特許庁公式サイト)で参照する
関連特許
ローム株式会社
タイマ
7日前
ローム株式会社
発振回路
3日前
ローム株式会社
電子装置
3日前
ローム株式会社
監視回路
3日前
ローム株式会社
半導体装置
3日前
ローム株式会社
メモリ装置
3日前
ローム株式会社
半導体装置
7日前
ローム株式会社
半導体装置
3日前
ローム株式会社
半導体装置
1日前
ローム株式会社
半導体装置
1日前
ローム株式会社
半導体装置
1日前
ローム株式会社
半導体装置
1日前
ローム株式会社
定電圧生成回路
13日前
ローム株式会社
縦型ホール素子
3日前
ローム株式会社
半導体記憶装置
6日前
ローム株式会社
半導体記憶装置
6日前
ローム株式会社
TVSダイオード
1日前
ローム株式会社
半導体モジュール
3日前
ローム株式会社
TVSダイオード
1日前
ローム株式会社
電界効果トランジスタ
3日前
ローム株式会社
電源回路用の電子負荷装置
7日前
ローム株式会社
振幅制限回路及びオペアンプ
3日前
ローム株式会社
LEDドライバ及び表示装置
3日前
ローム株式会社
半導体装置及びデータドライバ
3日前
ローム株式会社
データドライバ及び半導体装置
6日前
ローム株式会社
半導体チップおよび半導体装置
6日前
ローム株式会社
電子回路及び電子回路のテスト方法
6日前
ローム株式会社
半導体装置および半導体装置の製造方法
3日前
ローム株式会社
受信回路、半導体装置、および表示装置
3日前
ローム株式会社
集積回路の異常処理回路および集積回路
3日前
ローム株式会社
測定システム、測定装置および測定方法
3日前
ローム株式会社
半導体装置、および半導体装置の製造方法
3日前
ローム株式会社
電源制御装置、およびDC/DCコンバータ
今日
ローム株式会社
半導体装置、および、半導体装置の製造方法
3日前
ローム株式会社
半導体装置および半導体装置を備える電子機器
3日前
ローム株式会社
半導体装置および半導体装置を備える電子機器
3日前
続きを見る
他の特許を見る