TOP
|
特許
|
意匠
|
商標
特許ウォッチ
Twitter
他の特許を見る
公開番号
2025140989
公報種別
公開特許公報(A)
公開日
2025-09-29
出願番号
2024040670
出願日
2024-03-15
発明の名称
細胞収容容器及び当該容器を使用した着床能増強胚の回収方法
出願人
株式会社リコー
代理人
弁理士法人平木国際特許事務所
主分類
C12M
1/28 20060101AFI20250919BHJP(生化学;ビール;酒精;ぶどう酒;酢;微生物学;酵素学;突然変異または遺伝子工学)
要約
【課題】容器との接着を抑制しつつ細胞を収容することができる細胞収容容器、及び当該容器を使用した細管によるダメージを回避する移植用胚の回収方法を提供する。
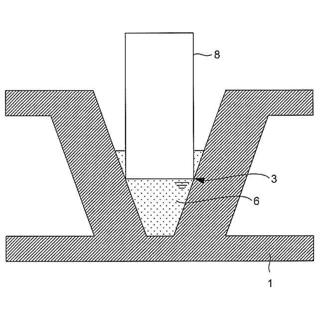
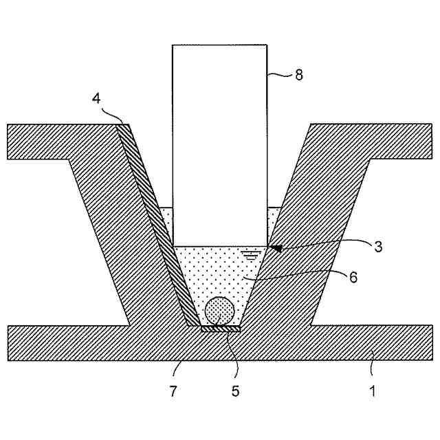
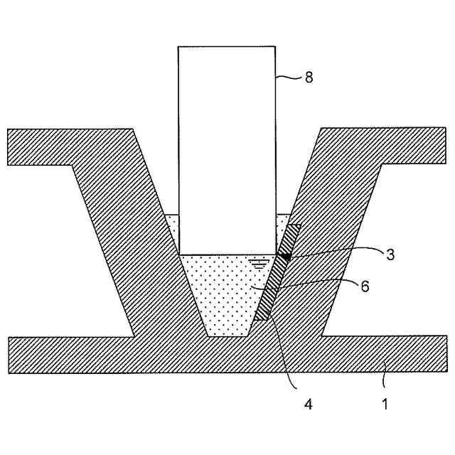
【解決手段】細胞収容容器であって、前記容器が、凹部、及び前記凹部の上部又は内部に細管を固定する細管固定部を備え、前記凹部が、前記細管を固定したときに前記凹部と細管先端部と前記細管固定部とによって形成される細胞収容室を備え、前記細胞収容室が、容器外部に連通する連通部を備え、前記細胞収容室の内面の前記細胞と接触する部分が低接着性材料からなり、前記細管を固定したときに前記細管先端部が前記細胞に接触せず、前記連通部が前記細管を固定したときに前記細胞収容室と前記容器外部とを等圧化する、前記容器を提供する。
【選択図】図1
特許請求の範囲
【請求項1】
細胞収容容器であって、
前記容器が、
凹部、及び
前記凹部の上部又は内部に細管を固定する細管固定部
を備え、
前記凹部が、
前記細管を固定したときに前記凹部と細管先端部と前記細管固定部とによって形成される細胞収容室
を備え、
前記細胞収容室が、
容器外部に連通する連通部
を備え、
前記細胞収容室の内面の前記細胞と接触する部分が低接着性材料からなり、
前記細管を固定したときに前記細管先端部が前記細胞に接触せず、
前記連通部が前記細管を固定したときに前記細胞収容室と前記容器外部とを等圧化する、
前記容器。
続きを表示(約 540 文字)
【請求項2】
前記細胞収容室の水平方向の断面積が前記細胞収容室の底部に向かって徐々に小さくなる、請求項1に記載の容器。
【請求項3】
凹部上面の開口部面積の円相当径が、0.1mm~20mmである、請求項1に記載の容器。
【請求項4】
前記細胞が単一細胞である、請求項1に記載の容器。
【請求項5】
前記単一細胞が有胎盤類の胚である、請求項4に記載の容器。
【請求項6】
前記有胎盤類の胚が着床能増強胚である、請求項5に記載の容器。
【請求項7】
請求項1~6のいずれか一項に記載の容器と、細管とを含む細胞回収キット。
【請求項8】
着床能増強胚の回収方法であって、
請求項1~6のいずれか一項に記載の容器において、有胎盤類の胚表面とRGDモチーフを含むポリペプチドの溶液とをインビトロで接触させて着床能増強胚を作製する工程、
前記容器に細管を固定する工程、及び
前記細管の内部を引圧して前記着床能増強胚を回収する工程
を含む方法。
【請求項9】
前記細管の内径が、前記着床能増強胚の直径よりも大きい、請求項8に記載の方法。
発明の詳細な説明
【技術分野】
【0001】
本発明は、細胞収容容器及び当該容器を使用した着床能増強胚の回収方法に関する。
続きを表示(約 2,000 文字)
【背景技術】
【0002】
近年、先進国をはじめとする各国では、晩婚化等を背景に不妊治療を受ける夫婦が増加している。例えば、2020年の日本における出生児14人のうち1人は、胚移植による出産である(非特許文献1及び2)。
【0003】
ところが、不妊治療における体外受精又は顕微授精による成功率は高いとは言い難い。例えば、2020年の日本における体外受精の成功率(胚移植あたりの出生率)は、新鮮胚を用いた場合は14.7%、凍結胚を用いた場合は25.5%に過ぎない(非特許文献1)。インビトロでの受精、受精卵から胚盤胞までの成長、及び着床から妊娠までの各成功率はいずれも50%以上であることから、前述の成功率の低さは、母体子宮内に移植された移植胚の子宮内膜への着床率の低さが原因とされている。
【0004】
胚の着床は、胚表面の細胞接着タンパク質と子宮内膜細胞上の受容体タンパク質との相互作用によって行われる。したがって、移植胚の着床率を向上させて体外受精等の成功率を高めるには、子宮内膜への胚の接着性を増強することが有効と考えられ、それに関連する研究が行われている。
【0005】
例えば、非特許文献3は、胚盤胞と子宮上皮細胞との接着を向上させる目的で、培養液中にIGF-1(インスリン様成長因子1:Insulin-like growth factor 1)を添加することによって、胚表面におけるフィブロネクチンの産生を向上させる手法を開示している。しかし、この方法はIGF-1を介して接着タンパク質であるフィブロネクチンの産生を間接的に亢進させるため、フィブロネクチンの産生量や発現のタイミングを制御することが困難である。フィブロネクチン量は、接着性の強化、及び胚の成長に直接的な影響を与え、その発現のタイミングは不妊治療等における移植時の着床率に大きな影響を及ぼすことが知られている。したがって、この方法では胚の着床率を向上させることができないという問題があった。
【0006】
また、非特許文献4は、初期胚の成長とフィブロネクチン濃度との関係を開示している。具体的には、初期胚の培養液にフィブロネクチンを異なる濃度で添加して、フィブロネクチンが胚に与える影響について評価している。その結果、フィブロネクチン濃度が5μg/mL及び300μg/mLのときは2細胞期から胚盤胞まで成長したサンプルが0%であり、50μg/mLにおいても成長したのは約7%に過ぎなかったことが報告されている。この結果は、高濃度のフィブロネクチンを胚に長時間作用させることは、胚の成長を阻害することを示唆している。
【0007】
さらに、非特許文献5は、胚盤胞を含む培養液に15.2±3.1μg/mLのフィブロネクチンを添加してフィブロネクチン処理による胚盤胞の体外移植率(in vitro-implantation rate)について開示している。本文献は、使用する胚が、受精から胚盤胞期までを体内で発育させた胚盤胞の場合、インビトロでのフィブロネクチン添加による着床能の向上効果が認められたが、体内受精後に採取し、2細胞期から後期胚盤胞期までを体外で培養した胚盤胞の場合、フィブロネクチン添加による向上効果は認められなかったことを報告している。この結果は、低濃度のフィブロネクチン添加では体外で培養された胚盤胞は、着床能の効果を向上できないことを示唆している。
【0008】
以上のように、従来の研究報告から、接着タンパク質が胚の着床率の向上に関与していることは判明しているものの、高濃度の接着タンパク質で処理した場合は胚へのダメージが生じて、胚の成長が阻害されてしまうことや、逆に低濃度の接着タンパク質処理では胚の細胞接着性の向上が得られないため、胚の着床率の向上に接着タンパク質を利用できないという問題があった。
【発明の概要】
【発明が解決しようとする課題】
【0009】
本発明者は、上記問題を解決するために鋭意研究を重ねた結果、インビトロ操作で移植前の胚に高濃度の細胞接着タンパク質を短時間接触させた場合、胚の細胞接着性を増強し、かつ胚へのダメージを最小限に抑えることができることを見出した。当該研究結果に基づいて提供される着床能増強胚の作製方法及び移植用の着床能増強胚は、以下の通りである。
【0010】
(1)着床能増強胚の作製方法であって、有胎盤類の胚表面にRGDモチーフを含むポリペプチドの溶液をインビトロで接触させる接触工程を含む前記作製方法。
(2)RGDモチーフを含むポリペプチドを細胞表面に付着した移植用の着床能増強胚。
(【0011】以降は省略されています)
この特許をJ-PlatPat(特許庁公式サイト)で参照する
関連特許
株式会社リコー
綴じ装置
1か月前
株式会社リコー
画像形成装置
5日前
株式会社リコー
液体吐出装置
1か月前
株式会社リコー
画像形成装置
1か月前
株式会社リコー
画像形成装置
16日前
株式会社リコー
画像形成装置
5日前
株式会社リコー
液体塗布装置
9日前
株式会社リコー
画像形成装置
8日前
株式会社リコー
感熱記録媒体
2日前
株式会社リコー
画像形成装置
1か月前
株式会社リコー
画像形成装置
23日前
株式会社リコー
画像形成装置
1か月前
株式会社リコー
画像形成装置
5日前
株式会社リコー
画像形成装置
1か月前
株式会社リコー
画像形成装置
1日前
株式会社リコー
履帯式走行体
1か月前
株式会社リコー
画像投射装置
1か月前
株式会社リコー
画像形成装置
1か月前
株式会社リコー
印刷システム
5日前
株式会社リコー
映像表示装置
26日前
株式会社リコー
画像形成装置
24日前
株式会社リコー
生体情報測定装置
2日前
株式会社リコー
投薬管理システム
24日前
株式会社リコー
印刷応答補償機構
9日前
株式会社リコー
画像投射システム
16日前
株式会社リコー
画像形成システム
1日前
株式会社リコー
情報処理システム
26日前
株式会社リコー
拡張アンテナ装置
8日前
株式会社リコー
液体を吐出する装置
2日前
株式会社リコー
カラー画像形成装置
1か月前
株式会社リコー
マーキングシステム
8日前
株式会社リコー
電極及びその製造方法
3日前
株式会社リコー
電極及びその製造方法
5日前
株式会社リコー
多孔質構造体の製造方法
5日前
株式会社リコー
測定装置および測定方法
25日前
株式会社リコー
測定装置および測定方法
25日前
続きを見る
他の特許を見る