TOP
|
特許
|
意匠
|
商標
特許ウォッチ
Twitter
他の特許を見る
公開番号
2025141099
公報種別
公開特許公報(A)
公開日
2025-09-29
出願番号
2024040865
出願日
2024-03-15
発明の名称
光変換装置及び光伝送システム
出願人
学校法人早稲田大学
代理人
弁理士法人創光国際特許事務所
主分類
H04B
10/2507 20130101AFI20250919BHJP(電気通信技術)
要約
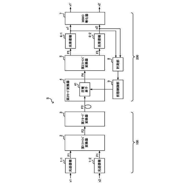
【課題】マルチモードファイバを含む光伝送システムにおいて生じる複数の光信号間のクロストークを低減する。
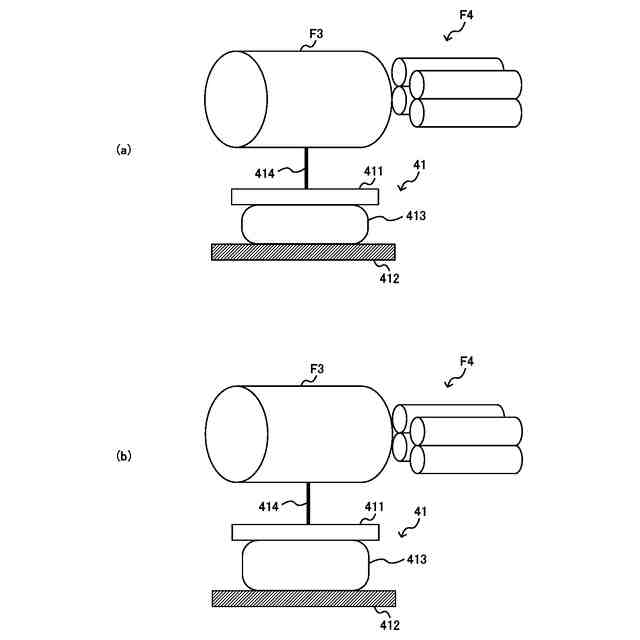
【解決手段】光伝送システムSにおいて、受信側の光変換装置200は、送信側の光変換装置100から複数のモードで光信号を伝送するマルチモードファイバF3により伝送された複数のモードに対応する複数の光入力信号のそれぞれを、マルチコアファイバF4が有する複数のコアに入力するとともに、マルチモードファイバF3の状態を変化させる圧電素子41を有するモード変換器4と、複数のコアから出力される複数の光出力信号を複数のシングルコアファイバF5に入力するファイバ変換器5と、複数のシングルコアファイバF5から出力される複数の光出力信号の信号品質を計測する計測部8と、計測部8が計測した信号品質に基づいて圧電素子41を制御することによりマルチモードファイバF3の状態を変化させる状態制御部9と、を有する。
【選択図】図1
特許請求の範囲
【請求項1】
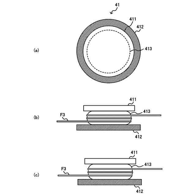
複数のモードで光信号を伝送するマルチモードファイバにより伝送された複数のモードに対応する複数の光入力信号のそれぞれを、マルチコアファイバが有する複数のコアに入力するモード変換器であって、前記マルチモードファイバの状態を変化させる圧電素子を有するモード変換器と、
前記複数のコアから出力される複数の第1光出力信号を複数のシングルコアファイバに入力するファイバ変換器と、
前記複数のシングルコアファイバから出力される複数の第2光出力信号の信号品質を計測する計測部と、
前記計測部が計測した前記信号品質に基づいて前記圧電素子を制御することにより前記マルチモードファイバの状態を変化させる状態制御部と、
を有する光変換装置。
続きを表示(約 1,300 文字)
【請求項2】
前記マルチモードファイバは、前記圧電素子の側面に巻き付けられており、
前記状態制御部は、前記信号品質に基づく電圧を前記圧電素子に印加して前記圧電素子を変形させることにより前記マルチモードファイバを圧縮又は伸長させて前記マルチモードファイバのモード状態を変化させる、
請求項1の光変換装置。
【請求項3】
前記マルチモードファイバは、前記圧電素子の変形によって前記マルチモードファイバと前記マルチコアファイバとの相対位置が変化するように前記圧電素子と結合されており、
前記状態制御部は、前記信号品質に基づく電圧を前記圧電素子に印加して前記圧電素子を変形させることにより、前記マルチモードファイバの状態として、前記マルチモードファイバと前記マルチコアファイバとの相対位置を変化させる、
請求項1に記載の光変換装置。
【請求項4】
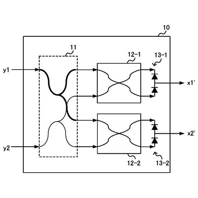
前記計測部は、前記光入力信号が入力されていないモードに対応する前記シングルコアファイバから出力される前記第2光出力信号の大きさに基づいて、当該第2光出力信号の前記信号品質を計測する、
請求項1に記載の光変換装置。
【請求項5】
前記計測部は、前記複数の第2光出力信号のうち2つの前記第2光出力信号の間のクロストーク量を前記信号品質として計測し、
前記状態制御部は、計測されたクロストーク量が閾値以上の前記2つの第2光出力信号の間のクロストーク量が小さくなるように前記状態を変化させる、
請求項1に記載の光変換装置。
【請求項6】
前記計測部は、前記複数の第2光出力信号における2つの前記第2光出力信号の複数の組み合わせのうち、対応する前記コアが隣接する組み合わせに対応する2つの前記第2光出力信号のクロストーク量を前記信号品質として計測する、
請求項5に記載の光変換装置。
【請求項7】
前記計測部は、前記複数の光出力信号それぞれのS/N比を前記信号品質として計測する、
請求項1に記載の光変換装置。
【請求項8】
前記計測部は、所定のトレーニング信号に基づく前記複数の光入力信号を前記モード変換器が受信している間における前記複数の第2光出力信号の前記信号品質を計測する、
請求項1に記載の光変換装置。
【請求項9】
前記計測部は、前記信号品質に基づいて前記状態制御部が前記状態を変化させた後に、前記信号品質が所定の条件を満たすまで前記信号品質を計測する動作を繰り返す、
請求項1に記載の光変換装置。
【請求項10】
前記計測部は、所定の期間にわたって前記複数の光出力信号の前記信号品質を計測し、
前記状態制御部は、前記所定の期間にわたって前記状態を変化させ、前記所定の期間が経過した場合に、前記所定の期間において最良の前記信号品質であったときの前記状態になるように前記圧電素子を制御する、
請求項1に記載の光変換装置。
(【請求項11】以降は省略されています)
発明の詳細な説明
【技術分野】
【0001】
本発明は、光変換装置及び光伝送システムに関する。
続きを表示(約 1,500 文字)
【背景技術】
【0002】
物理的に1つの伝送路に複数のモードで光信号を伝送可能なマルチモードファイバにより複数の光信号を多重化する技術が知られている。特許文献1及び特許文献2には、マルチモードファイバにより伝送された複数のモードに対応する複数の光信号の間に生じるクロストークを抑制するためのMIMO(Multi Input Multi Output)等化処理技術が開示されている。特許文献1には、マルチモードファイバで伝送された複数のモードに対応する複数の光信号がマルチコアファイバに入力された後に、MIMO等化処理が行われる構成が開示されている。
【先行技術文献】
【特許文献】
【0003】
特開第5878985号公報
特許第7290172号公報
【発明の概要】
【発明が解決しようとする課題】
【0004】
マルチモードファイバで伝送された複数のモードに対応する複数の光信号をマルチコアファイバから出力する構成において、MIMO等化処理を実行したとしてもクロストークを十分に抑制することができないという問題があった。
【0005】
そこで、本発明はこれらの点に鑑みてなされたものであり、マルチモードファイバを含む光伝送システムにおいて生じる複数の光信号間のクロストークを低減することを目的とする。
【課題を解決するための手段】
【0006】
本発明の第1の態様の光変換装置は、複数のモードで光信号を伝送するマルチモードファイバにより伝送された複数のモードに対応する複数の光入力信号のそれぞれを、マルチコアファイバが有する複数のコアに入力するモード変換器であって、前記マルチモードファイバの状態を変化させる圧電素子を有するモード変換器と、前記複数のコアから出力される複数の第1光出力信号を複数のシングルコアファイバに入力するファイバ変換器と、前記複数のシングルコアファイバから出力される複数の第2光出力信号の信号品質を計測する計測部と、前記計測部が計測した前記信号品質に基づいて前記圧電素子を制御することにより前記マルチモードファイバの状態を変化させる状態制御部と、を有する。
【0007】
前記マルチモードファイバは、前記圧電素子の側面に巻き付けられており、前記状態制御部は、前記信号品質に基づく電圧を前記圧電素子に印加して前記圧電素子を変形させることにより前記マルチモードファイバを圧縮又は伸長させて前記マルチモードファイバのモード状態を変化させてもよい。
【0008】
前記マルチモードファイバは、前記圧電素子の変形によって前記マルチモードファイバと前記マルチコアファイバとの相対位置が変化するように前記圧電素子と結合されており、前記状態制御部は、前記信号品質に基づく電圧を前記圧電素子に印加して前記圧電素子を変形させることにより、前記マルチモードファイバの状態として、前記マルチモードファイバと前記マルチコアファイバとの相対位置を変化させてもよい。
【0009】
前記計測部は、前記光入力信号が入力されていないモードに対応する前記シングルコアファイバから出力される前記第2光出力信号の大きさに基づいて、当該第2光出力信号の前記信号品質を計測してもよい。
【0010】
前記計測部は、前記複数の第2光出力信号のうち2つの前記第2光出力信号の間のクロストーク量を前記信号品質として計測し、前記状態制御部は、計測されたクロストーク量が閾値以上の前記2つの第2光出力信号の間のクロストーク量が小さくなるように前記状態を変化させてもよい。
(【0011】以降は省略されています)
この特許をJ-PlatPat(特許庁公式サイト)で参照する
関連特許
学校法人早稲田大学
アンテナの放射特性を測定する測定方法、測定システム、及びプログラム
3日前
個人
店内配信予約システム
2か月前
WHISMR合同会社
収音装置
21日前
キヤノン株式会社
撮像装置
1か月前
アイホン株式会社
電気機器
15日前
キヤノン株式会社
電子機器
2か月前
株式会社リコー
画像形成装置
1か月前
キヤノン電子株式会社
画像読取装置
22日前
個人
ワイヤレスイヤホン対応耳掛け
13日前
株式会社リコー
画像形成装置
1か月前
株式会社リコー
画像形成装置
1か月前
株式会社ニコン
撮像装置
2か月前
ブラザー工業株式会社
読取装置
1か月前
キヤノン株式会社
撮像システム
15日前
パテントフレア株式会社
超高速電波通信
29日前
国立大学法人電気通信大学
小型光学装置
1か月前
沖電気工業株式会社
画像形成装置
3日前
パテントフレア株式会社
水中電波通信法
1か月前
大日本印刷株式会社
写真撮影装置
14日前
株式会社小糸製作所
画像照射装置
1か月前
キヤノン電子株式会社
シート材搬送装置
1か月前
株式会社松平商会
携帯機器カバー
24日前
DXO株式会社
情報処理システム
2か月前
日本無線株式会社
無線通信システム
24日前
日本無線株式会社
無線通信システム
1か月前
株式会社JVCケンウッド
スピーカ
22日前
日本無線株式会社
無線通信システム
1か月前
日本無線株式会社
無線通信システム
1か月前
株式会社大林組
監視システム
1か月前
株式会社リコー
画像形成装置
1か月前
株式会社国際電気
遠隔監視システム
1か月前
日本無線株式会社
無線通信システム
7日前
サクサ株式会社
ダウンロード支援装置
1か月前
日本放送協会
広視野角撮像装置
3日前
日本信号株式会社
可視光通信システム
3日前
株式会社デンソー
装置及び方法
22日前
続きを見る
他の特許を見る