TOP
|
特許
|
意匠
|
商標
特許ウォッチ
Twitter
他の特許を見る
公開番号
2025117140
公報種別
公開特許公報(A)
公開日
2025-08-12
出願番号
2024011839
出願日
2024-01-30
発明の名称
ダウンロード支援装置
出願人
サクサ株式会社
代理人
個人
主分類
H04L
51/08 20220101AFI20250804BHJP(電気通信技術)
要約
【課題】メールの添付ファイルが蓄積されているストレージサーバのダウンロード有効期間が経過しても、過去の受信メールの添付ファイルをダウロード可能とする。
【解決手段】ダウンロード支援装置10が、ファイルのダウンロードに成功した時点で、そのファイルを控えファイルとしてファイルサーバ30に格納しておくとともに、その要求URL(第1の要求URL)とファイルサーバ30に格納した控えファイルの格納URLを関連付けて記憶しておき、その後、ファイルのダウンロードに失敗した場合、その要求URL(第2の要求URL)と対応する格納URLを要求元の情報端末20に通知する。
【選択図】 図1
特許請求の範囲
【請求項1】
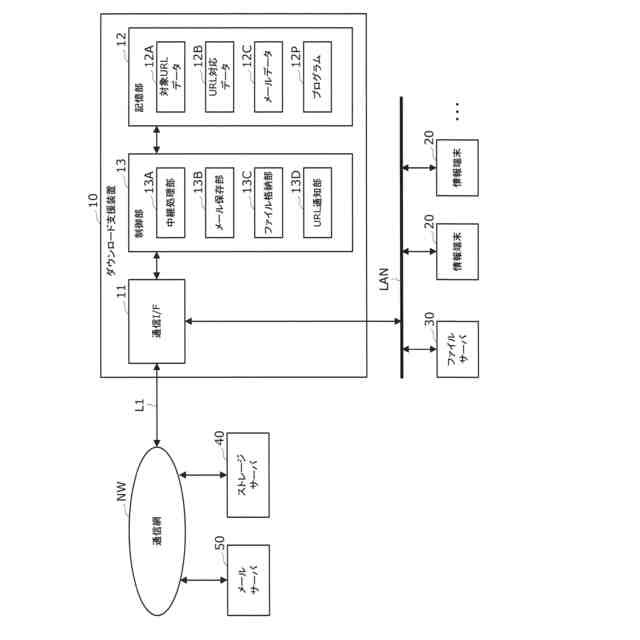
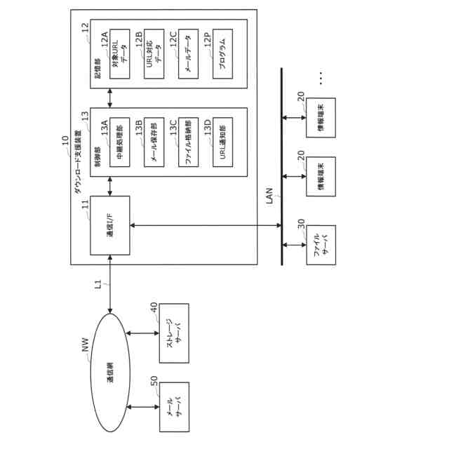
情報端末が受信したメールにストレージサーバにおけるファイルのURLが記載されている場合に、前記ファイルのダウンロードを支援するダウンロード支援装置であって、
前記情報端末から送信された第1のダウンロード要求に応じて、前記第1のダウンロード要求で指定された第1の要求URLに対応するファイルが前記ストレージサーバからダウンロードされた場合、
前記ファイルを抽出してファイルサーバに格納するとともに、前記第1の要求URLと前記ファイルの格納先を示す格納URLとを関連付けて記憶部に格納するように構成されたファイル格納部と、
前記情報端末から送信された第2のダウンロード要求に応じて、前記ストレージサーバからエラーが返送された場合、
前記第2のダウンロード要求で指定された第2の要求URLと関連付けられている前記格納URLを前記記憶部から取得し、前記情報端末に通知するように構成されたURL通知部とを備える
ことを特徴とするダウンロード支援装置。
続きを表示(約 930 文字)
【請求項2】
前記情報端末が受信したメールに前記ファイルのダウンロード期限が記載されている場合に、前記メールから少なくとも当該ファイルのURLをメールデータとして前記記憶部に保存するように構成されたメール保存部をさらに備え、
前記ファイル格納部は、
前記第1の要求URLが前記メールデータのURLと一致する場合に、前記第1の要求URLに対応する前記ファイルを前記ファイルサーバに格納するように構成されている
請求項1に記載のダウンロード支援装置。
【請求項3】
前記情報端末が受信したメールから少なくとも前記ファイルの格納先のURLが記載された部分をメールデータとして前記記憶部に保存するように構成されたメール保存部をさらに備え、
前記URL通知部は、
前記格納URLを通知する際、前記第2の要求URLが含まれる前記メールデータを前記記憶部から取得し、取得した前記メールデータの前記第2の要求URLを前記格納URLに書き換えた新たなメールデータを用いて前記情報端末への支援メールを作成するように構成されている
請求項1に記載のダウンロード支援装置。
【請求項4】
前記URL通知部は、
前記情報端末に前記格納URLを通知する際、前記情報端末で起動されているメールアプリケーションの画面に前記格納URLの表示を指示するように構成されている
請求項1に記載のダウンロード支援装置。
【請求項5】
前記URL通知部は、
前記情報端末に前記格納URLを通知する際、前記情報端末で前記第2のダウンロード要求の際に起動したブラウザアプリケーションの画面に前記格納URLの表示を指示するように構成されている
請求項1に記載のダウンロード支援装置。
【請求項6】
前記URL通知部は、
前記情報端末に前記格納URLを通知する際、前記情報端末で前記第2のダウンロード要求の際に起動したブラウザアプリケーションに前記格納URLへのリダイレクトを指示するように構成されている
請求項1に記載のダウンロード支援装置。
発明の詳細な説明
【技術分野】
【0001】
本発明は、ストレージサーバからのファイルのダウンロードを支援する際に用いられるダウンロード支援技術に関する。
続きを表示(約 2,000 文字)
【背景技術】
【0002】
一般に、ユーザが送受信したメールは、メールサーバやユーザの情報端末に保存される。また、特許文献1では、所定のグループに存するユーザが送受信したメールを、一括して保存するメール管理システムが提案されている。これにより、メール受信からある程度時間が経過しても過去に受信したメールを再び閲覧することができる。
【0003】
また、情報端末で起動される一般的なメールアプリケーションでは、受信メールに添付ファイルのURL(リンク情報)が記載されている場合、情報端末のメールアプリケーションで画面表示されている受信メールのURLを選択操作すると、添付ファイルのダウンロード要求がストレージサーバに送信され、これに応じてストレージサーバからURLと対応するファイルをダウンロードすることができる(例えば、非特許文献1など参照)。
【先行技術文献】
【特許文献】
【0004】
特開2002-044124号公報
【発明の概要】
【発明が解決しようとする課題】
【0005】
しかしながら、ストレージサーバの運用形態によっては、ダウンロード期限が規定されていて、有効期間の経過に応じてファイルが削除される場合がある。このような場合、有効期間の経過前であれば、メールアプリケーションで受信メールを閲覧してURLを選択操作すれば、ストレージサーバからファイルをダウンロードできるが、有効期間の経過後の場合、メールアプリケーションで受信メールを再び閲覧してURLを選択操作しても、ストレージサーバからHTTP404(not found)など、指定ファイルが見つからないという旨のエラーが返送されて、ファイルをダウンロードできなくなるというような問題点があった。
【0006】
本発明はこのような課題を解決するためのものであり、メールの添付ファイルが蓄積されているストレージサーバのダウンロード有効期間が経過しても、過去の受信メールの添付ファイルをダウンロードできるダウンロード支援技術を提供することを目的としている。
【課題を解決するための手段】
【0007】
このような目的を達成するために、本発明にかかるダウンロード支援装置は、情報端末が受信したメールにストレージサーバにおけるファイルのURLが記載されている場合に、前記ファイルのダウンロードを支援するダウンロード支援装置であって、前記情報端末から送信された第1のダウンロード要求に応じて、前記第1のダウンロード要求で指定された第1の要求URLに対応するファイルが前記ストレージサーバからダウンロードされた場合、前記ファイルを抽出してファイルサーバに格納するとともに、前記第1の要求URLと前記ファイルの格納先を示す格納URLとを関連付けて記憶部に格納するように構成されたファイル格納部と、前記情報端末から送信された第2のダウンロード要求に応じて、前記ストレージサーバからエラーが返送された場合、前記第2のダウンロード要求で指定された第2の要求URLと関連付けられている前記格納URLを前記記憶部から取得し、前記情報端末に通知するように構成されたURL通知部とを備える。
【0008】
また、上記ダウンロード支援装置の一構成例では、前記情報端末が受信したメールに前記ファイルのダウンロード期限が記載されている場合に、前記メールから少なくとも当該ファイルのURLをメールデータとして前記記憶部に保存するように構成されたメール保存部をさらに備え、前記ファイル格納部は、前記第1の要求URLが前記メールデータのURLと一致する場合に、前記第1の要求URLに対応する前記ファイルを前記ファイルサーバに格納するように構成されている。
【0009】
また、上記ダウンロード支援装置の一構成例では、前記情報端末が受信したメールから少なくとも前記ファイルの格納先のURLが記載された部分をメールデータとして前記記憶部に保存するように構成されたメール保存部をさらに備え、前記URL通知部は、前記格納URLを通知する際、前記第2の要求URLが含まれる前記メールデータを前記記憶部から取得し、取得した前記メールデータの前記第2の要求URLを前記格納URLに書き換えた新たなメールデータを用いて前記情報端末への支援メールを作成するように構成されている。
【0010】
また、上記ダウンロード支援装置の一構成例では、前記URL通知部は、前記情報端末に前記格納URLを通知する際、前記情報端末で起動されているメールアプリケーションの画面に前記格納URLの表示を指示するように構成されている。
(【0011】以降は省略されています)
この特許をJ-PlatPat(特許庁公式サイト)で参照する
関連特許
サクサ株式会社
中継装置
2か月前
サクサ株式会社
中継装置
24日前
サクサ株式会社
中継装置
2か月前
サクサ株式会社
筐体の壁掛け構造
1か月前
サクサ株式会社
ダウンロード支援装置
1か月前
サクサ株式会社
生体情報収集評価システム
25日前
サクサ株式会社
メールシステムおよび中継装置
1か月前
サクサ株式会社
メールシステムおよび中継装置
1か月前
サクサ株式会社
カバーの取付構造およびカバーの取付方法
1か月前
サクサ株式会社
カバーの取付構造およびカバーの取付方法
1か月前
個人
店内配信予約システム
2か月前
WHISMR合同会社
収音装置
24日前
サクサ株式会社
中継装置
2か月前
キヤノン株式会社
電子機器
2か月前
キヤノン株式会社
撮像装置
1か月前
アイホン株式会社
電気機器
18日前
キヤノン株式会社
撮像装置
3か月前
キヤノン電子株式会社
画像読取装置
25日前
電気興業株式会社
無線中継器
3か月前
株式会社リコー
画像形成装置
1か月前
株式会社リコー
画像形成装置
1か月前
個人
ワイヤレスイヤホン対応耳掛け
16日前
株式会社リコー
画像形成装置
1か月前
ヤマハ株式会社
信号処理装置
3か月前
日本精機株式会社
画像投映システム
3か月前
キヤノン電子株式会社
モバイル装置
2か月前
ブラザー工業株式会社
読取装置
1か月前
キヤノン株式会社
撮像システム
18日前
株式会社ニコン
撮像装置
2か月前
パテントフレア株式会社
水中電波通信法
2か月前
株式会社JVCケンウッド
通信システム
2日前
大日本印刷株式会社
写真撮影装置
17日前
有限会社フィデリックス
マイクロフォン
2日前
キヤノン電子株式会社
シート材搬送装置
1か月前
DXO株式会社
情報処理システム
2か月前
株式会社松平商会
携帯機器カバー
27日前
続きを見る
他の特許を見る