TOP
|
特許
|
意匠
|
商標
特許ウォッチ
Twitter
他の特許を見る
公開番号
2025141388
公報種別
公開特許公報(A)
公開日
2025-09-29
出願番号
2024041292
出願日
2024-03-15
発明の名称
ワイヤハーネスの配索構造
出願人
株式会社オートネットワーク技術研究所
,
住友電装株式会社
,
住友電気工業株式会社
代理人
個人
,
個人
,
個人
,
個人
主分類
B60R
16/02 20060101AFI20250919BHJP(車両一般)
要約
【課題】車両に対してワイヤハーネスを容易に追加できるようにすると共に、追加されるワイヤハーネスの車室への露出をなるべく抑制することを目的とする。
【解決手段】ワイヤハーネスの配索構造30は、インストルメントパネル11と、前記インストルメントパネル11の内部に配置されたリインフォースメント20と、前記インストルメントパネル11と前記リインフォースメント20との間に設けられた中間ベース40と、前記中間ベース40に沿って配索されたワイヤハーネス50と、を備える。
【選択図】図2
特許請求の範囲
【請求項1】
インストルメントパネルと、
前記インストルメントパネルの内部に配置されたリインフォースメントと、
前記インストルメントパネルと前記リインフォースメントとの間に設けられた中間ベースと、
前記中間ベースに沿って配索されたワイヤハーネスと、
を備える、ワイヤハーネスの配索構造。
続きを表示(約 1,000 文字)
【請求項2】
請求項1に記載のワイヤハーネスの配索構造であって、
前記中間ベースは、前記リインフォースメントよりも前記インストルメントパネルに近い位置に設けられている、ワイヤハーネスの配索構造。
【請求項3】
請求項2に記載のワイヤハーネスの配索構造であって、
前記中間ベースは板状に形成されて、前記インストルメントパネルの一部の裏側に前記インストルメントパネルに対向して設けられている、ワイヤハーネスの配索構造。
【請求項4】
請求項3に記載のワイヤハーネスの配索構造であって、
前記インストルメントパネルのうち前記中間ベースを覆う一部は、他の一部に対して着脱可能に設けられている、ワイヤハーネスの配索構造。
【請求項5】
請求項1から請求項4のいずれか1項に記載のワイヤハーネスの配索構造であって、
前記中間ベースは、車両の左右方向に沿って延びる第1延在部分と、前記第1延在部分の一部から車両の前後方向に延びる第2延在部分とを有する、ワイヤハーネスの配索構造。
【請求項6】
請求項5に記載のワイヤハーネスの配索構造であって、
前記第1延在部分は、運転席の前方領域から助手席の前方領域まで延びる、ワイヤハーネスの配索構造。
【請求項7】
請求項6に記載のワイヤハーネスの配索構造であって、
前記第2延在部分は、前記助手席の前記前方領域に部分的に設けられる、ワイヤハーネスの配索構造。
【請求項8】
請求項1から請求項4のいずれか1項に記載のワイヤハーネスの配索構造であって、
前記中間ベースには複数の孔が形成されており、
前記ワイヤハーネスは前記複数の孔のうちの一部の孔を選択的に用いて固定されている、ワイヤハーネスの配索構造。
【請求項9】
請求項1から請求項4のいずれか1項に記載のワイヤハーネスの配索構造であって、
前記中間ベースには溝が形成されており、
前記ワイヤハーネスは前記溝に収まっている、ワイヤハーネスの配索構造。
【請求項10】
請求項1から請求項4のいずれか1項に記載のワイヤハーネスの配索構造であって、
前記中間ベースは、前記インストルメントパネルに固定されている、ワイヤハーネスの配索構造。
発明の詳細な説明
【技術分野】
【0001】
本開示は、ワイヤハーネスの配索構造に関する。
続きを表示(約 1,000 文字)
【背景技術】
【0002】
特許文献1は、電装部品に対するワイヤハーネスを、後部ガラスを保持するウェザストリップに埋設し、各電装部品に接続するコネクタ等やメインハーネスに接続するためのコネクタを外部に露出させた状態でウェザストリップに固定的に設ける技術を開示している。
【先行技術文献】
【特許文献】
【0003】
特開平10-24782号公報
【発明の概要】
【発明が解決しようとする課題】
【0004】
車両における電気部品の追加実装等に応じて、ワイヤハーネスを容易に追加できるようにすることが望まれている。また、追加されるワイヤハーネスの車室への露出がなるべく抑制されることが望まれている。
【0005】
そこで、本開示は、車両に対してワイヤハーネスを容易に追加できるようにすると共に、追加されるワイヤハーネスの車室への露出をなるべく抑制することを目的とする。
【課題を解決するための手段】
【0006】
本開示のワイヤハーネスの配索構造は、インストルメントパネルと、前記インストルメントパネルの内部に配置されたリインフォースメントと、前記インストルメントパネルと前記リインフォースメントとの間に設けられた中間ベースと、前記中間ベースに沿って配索されたワイヤハーネスと、を備える、ワイヤハーネスの配索構造である。
【発明の効果】
【0007】
本開示によれば、車両に対してワイヤハーネスを容易に追加できるようにすると共に、追加されるワイヤハーネスの車室への露出をなるべく抑制できる。
【図面の簡単な説明】
【0008】
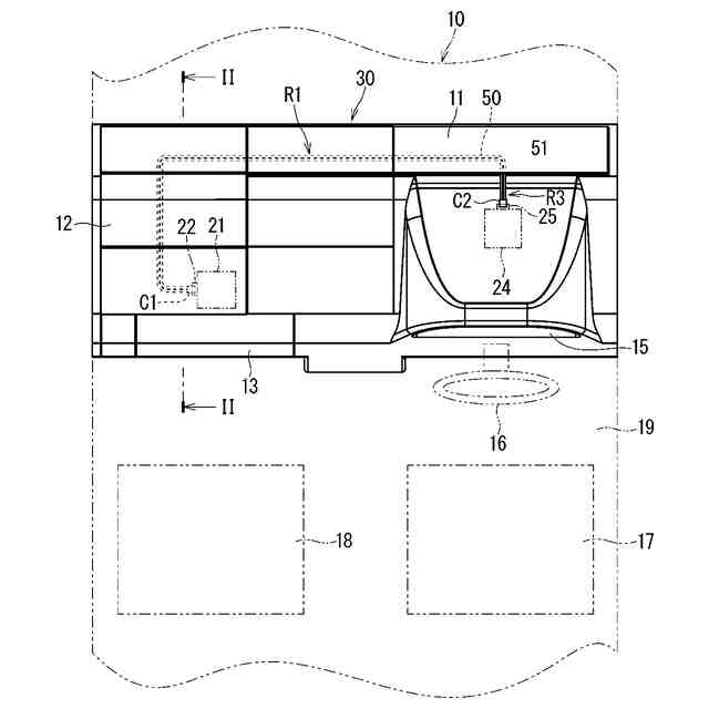
図1は実施形態1にかかるワイヤハーネスの配索構造を示す平面図である。
図2は図1のII-II線に沿った断面図である。
図3はワイヤハーネスの配索構造を示す分解斜視図である。
図4はインストルメントパネルの一部を外した状態を示す平面図である。
図5は中間ベースの変形例を示す断面図である。
【発明を実施するための形態】
【0009】
[本開示の実施形態の説明]
最初に本開示の実施態様を列記して説明する。
【0010】
本開示のワイヤハーネスの配索構造は、次の通りである。
(【0011】以降は省略されています)
この特許をJ-PlatPat(特許庁公式サイト)で参照する
関連特許
個人
カーテント
4か月前
個人
タイヤレバー
2か月前
個人
前輪キャスター
1か月前
個人
ホイルのボルト締結
3か月前
個人
タイヤ脱落防止構造
1か月前
個人
ルーフ付きトライク
1か月前
個人
キャンピングトライク
3か月前
個人
マスタシリンダ
7日前
日本精機株式会社
表示装置
2か月前
日本精機株式会社
表示装置
1か月前
井関農機株式会社
作業車両
3か月前
個人
車両通過構造物
2か月前
日本精機株式会社
表示装置
2か月前
日本精機株式会社
表示装置
2か月前
井関農機株式会社
作業車両
3か月前
個人
乗合路線バスの客室装置
2か月前
個人
車両用スリップ防止装置
3か月前
個人
キャンピングトレーラー
3か月前
個人
アクセルのソフトウェア
3か月前
日本精機株式会社
車載表示装置
15日前
個人
車載小物入れ兼雨傘収納具
3か月前
日本精機株式会社
車室演出装置
1か月前
株式会社ニフコ
保持装置
3か月前
株式会社ニフコ
収納装置
24日前
個人
円湾曲ホイール及び球体輪
2か月前
株式会社ニフコ
照明装置
1か月前
日本精機株式会社
車載表示装置
3か月前
個人
音声ガイド、音声サービス
2か月前
株式会社豊田自動織機
産業車両
2か月前
日本精機株式会社
車両用投射装置
1日前
日本精機株式会社
車両用投影装置
3か月前
日本精機株式会社
車両用投影装置
3か月前
極東開発工業株式会社
車両
2か月前
日本精機株式会社
車両用表示装置
3か月前
日本無線株式会社
取付金具
2か月前
井関農機株式会社
作業車両
3か月前
続きを見る
他の特許を見る