TOP
|
特許
|
意匠
|
商標
特許ウォッチ
Twitter
他の特許を見る
公開番号
2025141800
公報種別
公開特許公報(A)
公開日
2025-09-29
出願番号
2025003157
出願日
2025-01-09
発明の名称
原子感知のためのモード設計されたループギャップ共振器エンクロージャ
出願人
ハネウェル・インターナショナル・インコーポレーテッド
,
Honeywell International Inc.
代理人
個人
,
個人
,
個人
,
個人
主分類
G04F
5/14 20060101AFI20250919BHJP(時計)
要約
【課題】ループギャップ共振器(LGR)に発生する電磁共振モードの分離を改善する。
【解決手段】LGRに結合するためのハウジング100は、その中にLGR112が配置される内部空洞を含む。LGRは少なくとも1つの取り付けブラケット106によってハウジングに取り付けられ、LGRを内部空洞内に固定する。加えて、内部空洞は、空洞壁とLGRとの間に分離領域110を含む。各取り付けブラケットの幅及び分離領域の幅は、LGR内部で均一な電磁場を支持するために決定される。
【選択図】図1
特許請求の範囲
【請求項1】
デバイスであって、
ループギャップ共振器(LGR)に結合されたハウジングであって、前記LGRは内側空洞を含み、前記内側空洞内の電磁場を支持するように構成される、ハウジング、を含み、
前記ハウジングは、
外部と、
内部であって、前記LGRがその中に配置される内部空洞を含む、内部と、を含み、
前記ハウジングは、前記内部空洞内に突出する少なくとも1つの取り付けブラケットであって、前記少なくとも1つの取り付けブラケットは、第1の幅を有し、前記LGRを前記ハウジングの前記内部空洞内に固定するように構成される、少なくとも1つの取り付けブラケット、を含み、
前記LGRは、前記LGRの外縁と前記ハウジングの内縁との間に分離領域が存在するように、前記少なくとも1つの取り付けブラケットによって固定され、前記分離領域は第2の幅を有し、
前記少なくとも1つの取り付けブラケットの前記第1の幅、及び前記分離領域の前記第2の幅に基づいて、実質的に均一な位相及び振幅の電磁場が、前記LGRの前記内側空洞内に提供される、ハウジングを備える、デバイス。
続きを表示(約 170 文字)
【請求項2】
前記少なくとも1つの取り付けブラケットは、複数の取り付けブラケットを備え、前記複数の取り付けブラケットの各々は、前記第2の幅を有する、請求項1に記載のデバイス。
【請求項3】
前記複数の取り付けブラケットの各々は、隣接する取り付けブラケットに対して方位角的に等距離である、請求項2に記載のデバイス。
発明の詳細な説明
【技術分野】
【0001】
連邦政府支援研究開発に関する記載
本発明は、海軍によって授与されたN00014-22-C-1043の下で政府支援を受けてなされた。政府は、本発明に一定の権利を有する。
続きを表示(約 2,800 文字)
【背景技術】
【0002】
原子時計などの小型原子センサは、重要な感知アプリケーションにおける精度を保証するために、非常に均一な空間位相プロファイルを有するマイクロ波場と相互作用する原子を必要とし、その1つは、全地球的航法衛星システム(GNSS:Global Navigation Satellite Systems)が存在しない環境におけるタイミングホールドオーバーである。しかしながら、位相の小さな空間勾配は、実質的なクロック誤差をもたらし、それによってセンサ性能を低下させる可能性がある。レーザ冷却原子時計においてマイクロ波場を生成するための1つの有利な機構は、ループギャップ共振器(LGR:loop gap resonator)である。それでも、LGRは、その支持された電磁共振モードに対する空間勾配の影響を受けない。例えば、LGRにおける電磁共振モードは、LGRの構造によって、又はその周辺環境から、有害に変更され得る。LGRを絶縁するように設計された外部ハウジング内でのLGRの結合でさえ、共振モードに摂動を導入する可能性があり、LGRを不安定にする可能性がある。
【0003】
したがって、LGRに発生する電磁共振モードの分離を改善する必要がある。
【発明の概要】
【0004】
1つ以上の実施形態の詳細を、以下の概要及び説明に示す。1つの例示的な実施形態に関連して図示又は説明される特徴は、他の実施形態の特徴と組み合わされ得る。したがって、本明細書に記載の様々な実施形態のいずれかを組み合わせて、更なる実施形態を提供することができる。実施形態の態様は、必要に応じて変更され、本明細書で特定される様々な特許、出願及び刊行物の概念を用いて、更なる実施形態を提供することができる。
【0005】
一実施形態では、デバイスが開示される。デバイスは、ループギャップ共振器(LGR)に結合されたハウジングを備える。LGRは内側空洞を含み、内側空洞内の電磁場を支持するように構成される。ハウジングは、外部及び内部を備える。内部は、その中にLGRが配置される内部空洞を備える。ハウジングは、内部空洞内に突出する少なくとも1つの取り付けブラケットを備える。少なくとも1つの取り付けブラケットは、第1の幅を有し、ハウジングの内部空洞にLGRを固定するように構成される。LGRは、LGRの外縁とハウジングの内縁との間に分離領域が存在するように、少なくとも1つの取り付けブラケットによって固定される。分離領域は第2の幅を有する。少なくとも1つの取り付けブラケットの第1の幅、及び分離領域の第2の幅に基づいて、実質的に均一な位相及び振幅の電磁場がLGRの内側空洞内に提供される。
【0006】
別の実施形態では、システムが開示される。システムは、ループギャップ共振器(LGR)に電磁信号を結合するように構成された信号発生器を備える。LGRは、内側空洞を含み、電磁信号を受信し、内側空洞内に電磁場を生成するように構成される。システムは、LGRに結合されたハウジングを備える。ハウジングは、外部及び内部を備える。内部は、その中にLGRが配置される内部空洞を備える。ハウジングは、内部空洞内に突出する少なくとも1つの取り付けブラケットを備える。少なくとも1つの取り付けブラケットは、第1の幅を有し、ハウジングの内部空洞にLGRを固定するように構成される。LGRは、LGRの外縁とハウジングの内縁との間に分離領域が存在するように、少なくとも1つの取り付けブラケットによって固定される。分離領域は第2の幅を有する。少なくとも1つの取り付けブラケットの第1の幅、及び分離領域の第2の幅に基づいて、実質的に均一な位相及び振幅の電磁場がLGRの内側空洞内に提供される。
【0007】
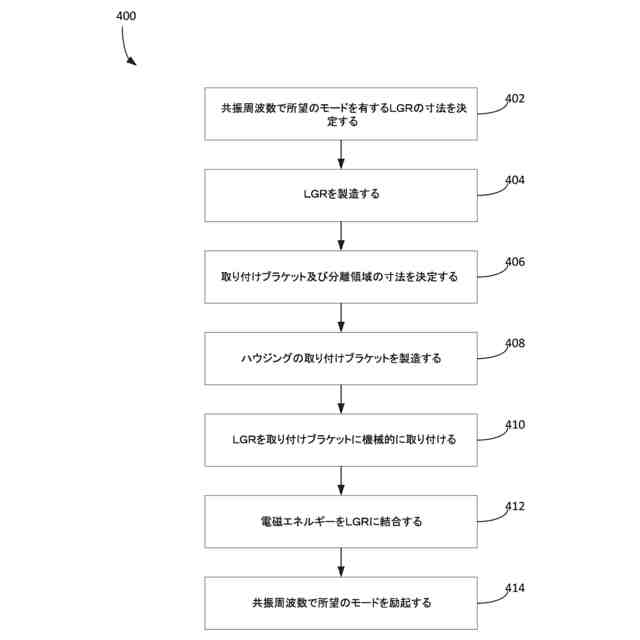
更に別の実施形態によれば、方法が開示される。方法は、少なくとも1つの取り付けブラケット及び分離領域の寸法を決定することを含む。少なくとも1つの取り付けブラケットの寸法は第1の幅を含み、分離領域の寸法は第2の幅を含む。方法は、少なくとも1つの取り付けブラケットを製造することを含み、少なくとも1つの取り付けブラケットはハウジングに結合され、ハウジングの内部空洞内に突出する。方法は、ループギャップ共振器(LGR)を少なくとも1つの取り付けブラケットに結合することを含む。LGRは、内側空洞を含み、内側空洞内の自由空間領域に電磁場を生成するように構成される。LGRは、分離領域の第2の幅がLGRをハウジングから分離するように、ハウジングの内部空洞内に配置される。方法は、電磁信号をLGRに入力することを含む。方法は、電磁信号からLGRの内側空洞内の共振周波数で所望の電磁モードを励起することを含む。
【図面の簡単な説明】
【0008】
図面は例示的な実施形態のみを示しており、したがって範囲を限定するものと見なされるべきではないことを理解して、例示的な実施形態は、後に説明するように、詳細な説明と併せて、添付の図面を用いて、詳細な説明と併せて、更に具体的且つ詳細に説明される。
1つ以上の実施形態で説明されるように、ハウジングに囲まれたLGRの上面図を示す。
1つ以上の実施形態で説明されるように、LGR(図2A)、ハウジング(図2B)、及びエンクロージャ(図2C)の様々な等角図を示す。
1つ以上の実施形態で説明されるように、LGR(図2A)、ハウジング(図2B)、及びエンクロージャ(図2C)の様々な等角図を示す。
1つ以上の実施形態で説明されるように、LGR(図2A)、ハウジング(図2B)、及びエンクロージャ(図2C)の様々な等角図を示す。
1つ以上の実施形態で説明されるように、図1~図2のエンクロージャを組み込んだ感知回路のブロック図を示す。
1つ以上の実施形態で説明されるように、電磁石デバイスを製造するための方法のフロー図を示す。
【0009】
一般的な慣例に従って、様々な記載された特徴は縮尺通りに描かれておらず、例示的な実施形態に関連する特徴を強調するように描かれている。
【発明を実施するための形態】
【0010】
以下の詳細な説明では、本明細書の一部を形成する添付の図面を参照し、図面では、本発明が実施され得る特定の例示的な実施形態の例として示される。これらの実施形態は、当業者が本発明を実施することを可能にするために十分に詳細に説明されており、他の実施形態を利用することができ、本発明の範囲から逸脱することなく、論理的、機械的、及び電気的変化がなされ得ることを理解されたい。したがって、以下の詳細な説明は、限定的な意味で解釈されるべきではない。
(【0011】以降は省略されています)
この特許をJ-PlatPat(特許庁公式サイト)で参照する
関連特許
個人
砂時計
14日前
個人
休憩報知タイマー
3か月前
個人
目覚し時計
2か月前
個人
時刻同期システム
16日前
セイコーエプソン株式会社
時計
3か月前
個人
自照式の針により認視性を高めたアナログ式時計
2か月前
セイコーエプソン株式会社
電子時計
1か月前
株式会社oneA
目覚まし装置
3か月前
株式会社村田製作所
光学的パターン表示物品
今日
シチズン時計株式会社
電子時計
1か月前
セイコーエプソン株式会社
電子制御式機械時計
3か月前
セイコーエプソン株式会社
電子制御式機械時計
2日前
セイコーエプソン株式会社
ムーブメント及び時計
3か月前
シチズン時計株式会社
機械式時計
2か月前
シチズン時計株式会社
機械式時計
1か月前
シチズン時計株式会社
機械式時計
2か月前
セイコーエプソン株式会社
電子時計
3か月前
個人
アナログ時計、時間表示方法、および、時間表示プログラム
3か月前
カシオ計算機株式会社
装飾板及び時計
1日前
セイコーエプソン株式会社
機械式時計
15日前
セイコータイムクリエーション株式会社
からくり時計
今日
カシオ計算機株式会社
制御装置、制御方法、及びプログラム
1日前
カシオ計算機株式会社
機器ケース及び時計
2か月前
株式会社5コーポレーション
勉強時間測定装置及び勉強時間測定方法
3か月前
カシオ計算機株式会社
機器ケース及び時計
24日前
セイコーエプソン株式会社
インデックス、文字板、及び時計
28日前
カシオ計算機株式会社
外装部品ユニット及び時計
今日
住友ベークライト株式会社
計時装置、計時方法および検査装置
3か月前
カシオ計算機株式会社
電子時計及び電子時計本体
15日前
モントレー ブレゲ・エス アー
表示機構のための調整システム
3か月前
セイコーウオッチ株式会社
時計、音声再生方法およびプログラム
1か月前
モントレー ブレゲ・エス アー
プレート上のディスプレイモジュールの配置
3か月前
カシオ計算機株式会社
電子時計、外装部材及びバンド
15日前
カシオ計算機株式会社
カバー構造体、時計、およびカバー構造体の製造方法
3か月前
セイコーエプソン株式会社
機械式時計及び機械式時計の組み立て方法
2か月前
セイコーエプソン株式会社
時計用部品、および、時計
1か月前
続きを見る
他の特許を見る