TOP
|
特許
|
意匠
|
商標
特許ウォッチ
Twitter
他の特許を見る
10個以上の画像は省略されています。
公開番号
2025142349
公報種別
公開特許公報(A)
公開日
2025-09-30
出願番号
2025127895,2024099685
出願日
2025-07-31,2018-04-20
発明の名称
電子部品および半導体装置
出願人
ローム株式会社
代理人
弁理士法人あい特許事務所
主分類
H01L
23/29 20060101AFI20250919BHJP(基本的電気素子)
要約
【課題】放熱性を向上できる電子部品および半導体装置を提供する。
【解決手段】電子部品(1)は、絶縁層(7)と、絶縁層(7)上に配置された配線層(20)と、配線層(20)上に配置され、配線層(20)とは反対側に電極(28)を有する半導体チップ(21)と、絶縁層(7)上で配線層(20)および半導体チップ(21)を封止する封止絶縁層(8)と、半導体チップ(21)の電極(28)上で封止絶縁層(8)を貫通する開口(33)と、開口(33)内で電極(28)に電気的に接続された外部端子(15)と、を含む。
【選択図】図4
特許請求の範囲
【請求項1】
一方側の第1主面および他方側の第2主面を有する基板と、
一方側の第1チップ主面および他方側の第2チップ主面、ならびに、前記第1チップ主面および/または前記第2チップ主面に形成された複数の電極を有し、前記基板の前記第1主面に配置されたチップと、
前記基板の前記第2主面を露出させるように前記基板の前記第1主面の上で前記チップを封止し、前記基板の前記第1主面に対向する封止主面を有する封止絶縁層と、前記封止絶縁層の前記封止主面から露出するように前記封止絶縁層を貫通して形成され、前記チップの前記複数の電極にそれぞれ電気的に接続された複数の外部端子と、を含む、電子部品。
続きを表示(約 930 文字)
【請求項2】
前記封止絶縁層の前記封止主面は、実装面を形成しており、前記チップの前記複数の電極にそれぞれ電気的に接続された前記複数の外部端子の全てが、前記実装面から露出している、請求項1に記載の電子部品。
【請求項3】
前記基板は、前記第1主面および前記第2主面を接続する側面を含み、前記封止絶縁層は、前記基板の前記側面を露出させている、請求項1または2に記載の電子部品。
【請求項4】
前記封止絶縁層は、前記基板の前記側面に対して面一に形成された封止側面を含む、請求項3に記載の電子部品。
【請求項5】
前記チップは、前記第1チップ主面側に形成された回路素子を含み、前記第2チップ主面を前記基板の前記第1主面に対向させた姿勢で前記第1主面の上に配置されており、前記複数の外部端子は、前記封止絶縁層を貫通して前記チップの前記複数の電極にそれぞれ電気的に接続されたチップ側外部端子を含む、請求項1~4のいずれか一項に記載の電子部品。
【請求項6】
前記基板は、シリコン基板、炭化シリコン基板、サファイア基板または窒化物半導体基板を含む、請求項1~5のいずれか一項に記載の電子部品。
【請求項7】
前記基板の前記第1主面の上に形成された配線層をさらに含み、前記チップは、前記第2チップ主面に形成され、前記配線層に電気的に接続された配線側電極を含む、請求項1~6のいずれか一項に記載の電子部品。
【請求項8】
前記複数の外部端子は、前記封止絶縁層を貫通して前記配線層に接続された配線層側外部端子を含む、請求項7に記載の電子部品。
【請求項9】
前記基板の前記第1主面に形成され、前記基板の前記第1主面および前記チップの間の領域に介在する主面絶縁層をさらに含む、請求項1~8のいずれか一項に記載の電子部品。
【請求項10】
前記主面絶縁層は、酸化シリコン、窒化シリコン、酸窒化シリコン、酸化アルミニウム、窒化アルミニウムまたは酸窒化アルミニウムのうちの少なくとも1種を含む、請求項9に記載の電子部品。
(【請求項11】以降は省略されています)
発明の詳細な説明
【技術分野】
【0001】
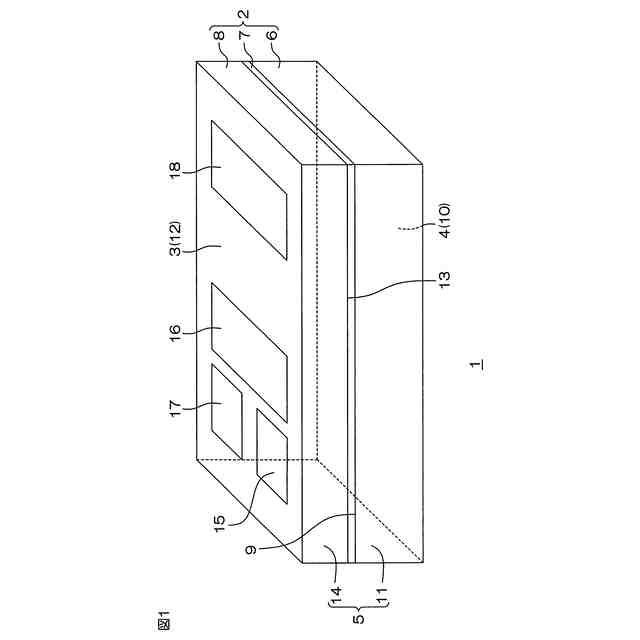
本発明は、電子部品および半導体装置に関する。
続きを表示(約 1,200 文字)
【背景技術】
【0002】
特許文献1には、電子部品の一例としてのパワーモジュール半導体装置が開示されている。このパワーモジュール半導体装置は、セラミック基板を含む。セラミック基板の上には、半導体デバイスおよび端子電極が配置されている。
【0003】
端子電極は、セラミック基板の側面を横切って、セラミック基板の内側の領域から外側の領域に引き出されている。端子電極は、ボンディングワイヤを介して半導体デバイスに電気的に接続されている。
【0004】
半導体デバイスの上には、柱状電極が立設されている。セラミック基板、半導体デバイス、柱状電極および端子電極の一部は、樹脂層によって封止されている。樹脂層は、セラミック基板の外面の全域に亘って形成されている。
【先行技術文献】
【特許文献】
【0005】
特開2013-172044号公報
【発明の概要】
【発明が解決しようとする課題】
【0006】
従来のパワーモジュール半導体装置では、セラミック基板の外面の全面が樹脂層によって被覆されているため、半導体デバイスで生じた熱が樹脂層に籠り易い。そのため、樹脂層外に端子電極を引き出すことによって、樹脂層内の熱を樹脂層外に放散させている。端子電極は、ボンディングワイヤ等の接続部材を介して半導体デバイスに接続される必要がある。電子部品の小型化は、この種のデザインによって阻害される。
【0007】
そこで、一実施形態は、放熱性を向上できる電子部品および半導体装置を提供する。
【課題を解決するための手段】
【0008】
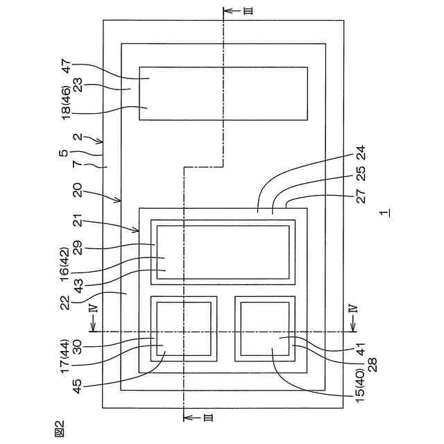
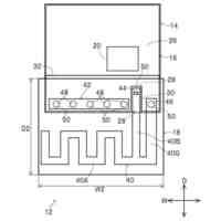
一実施形態は、一方側の第1主面および他方側の第2主面を有する基板と、一方側の第1チップ主面および他方側の第2チップ主面、ならびに、前記第1チップ主面および/または前記第2チップ主面に形成された複数の電極を有し、前記基板の前記第1主面に配置されたチップと、前記基板の前記第2主面を露出させるように前記基板の前記第1主面の上で前記チップを封止し、前記基板の前記第1主面に対向する封止主面を有する封止絶縁層と、前記封止絶縁層の前記封止主面から露出するように前記封止絶縁層を貫通して形成され、前記チップの前記複数の電極にそれぞれ電気的に接続された複数の外部端子と、を含む、電子部品を提供する。
【0009】
この電子部品によれば、基板の第2主面が封止絶縁層から露出している。したがって、基板の側面から外部端子を引き出さなくても、チップで生じた熱を基板の第2主面から外部に放散させることができる。
【0010】
しかも、基板の側面から外部端子を引き出す必要がないので、ボンディングワイヤ等の接続部材を使用しなくて済む。これにより、部品点数の削減によるシュリンク化を達成できる。よって、小型化および放熱性の向上の両立を図ることができる電子部品を提供できる。
(【0011】以降は省略されています)
この特許をJ-PlatPat(特許庁公式サイト)で参照する
関連特許
ローム株式会社
駆動回路
今日
ローム株式会社
半導体装置
今日
ローム株式会社
半導体装置
今日
ローム株式会社
半導体装置
5日前
ローム株式会社
半導体装置
5日前
ローム株式会社
半導体装置
5日前
ローム株式会社
半導体装置
1日前
ローム株式会社
半導体装置
今日
ローム株式会社
無線通信回路
今日
ローム株式会社
時間測定回路
今日
ローム株式会社
フォトダイオード
今日
ローム株式会社
アンテナ付高周波モジュール
今日
ローム株式会社
半導体装置及び高電圧検出アンプ
5日前
ローム株式会社
半導体装置および半導体装置ユニット
今日
ローム株式会社
半導体装置の製造方法および半導体装置
今日
ローム株式会社
マイクロコンピュータのメモリ制御回路
今日
ローム株式会社
アナログディジタル変換回路、制御システム
1日前
ローム株式会社
表示ドライバ、表示装置及びエージング試験方法
1日前
ローム株式会社
電圧検知回路、表示ドライバ、表示装置及び比較器
今日
ローム株式会社
無線受電装置、無線給電システム、及び無線受電方法
1日前
ローム株式会社
画像処理装置、画像処理方法、及び画像処理プログラム
今日
ローム株式会社
電源制御装置、絶縁型DC/DCコンバータ、およびACアダプタ
1日前
ローム株式会社
半導体装置、シリアル伝送システム、データをシリアル伝送する方法
1日前
日本発條株式会社
積層体
9日前
個人
防雪防塵カバー
9日前
ローム株式会社
半導体装置
5日前
ローム株式会社
半導体装置
7日前
ローム株式会社
半導体装置
7日前
ローム株式会社
半導体装置
7日前
ローム株式会社
半導体装置
今日
株式会社GSユアサ
蓄電装置
9日前
個人
半導体パッケージ用ガラス基板
8日前
太陽誘電株式会社
全固体電池
5日前
株式会社ホロン
冷陰極電子源
5日前
株式会社GSユアサ
蓄電装置
5日前
トヨタ自動車株式会社
二次電池
9日前
続きを見る
他の特許を見る