TOP
|
特許
|
意匠
|
商標
特許ウォッチ
Twitter
他の特許を見る
公開番号
2025136520
公報種別
公開特許公報(A)
公開日
2025-09-19
出願番号
2024035150
出願日
2024-03-07
発明の名称
固体二次電池
出願人
本田技研工業株式会社
代理人
個人
,
個人
主分類
H01M
10/0585 20100101AFI20250911BHJP(基本的電気素子)
要約
【課題】正極層の側面を長期間にわたって隙間を発生させずに絶縁することができる固体二次電池を提供すること。
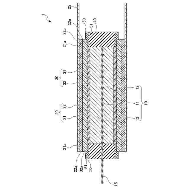
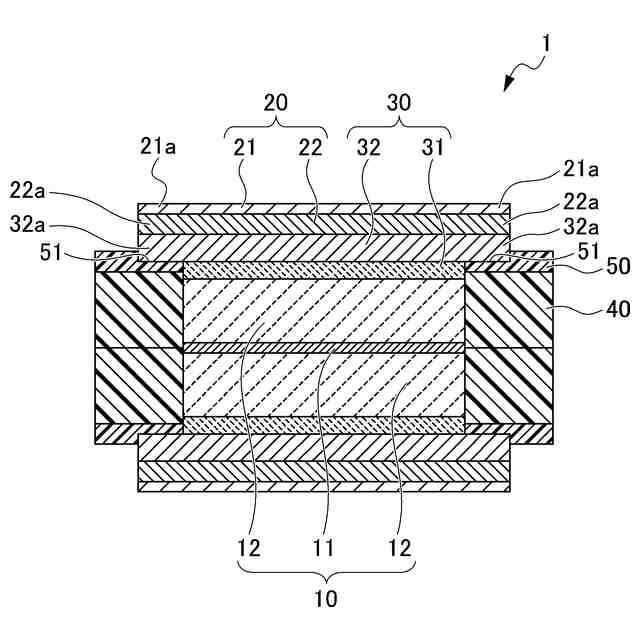
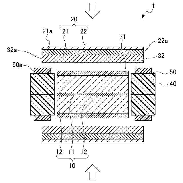
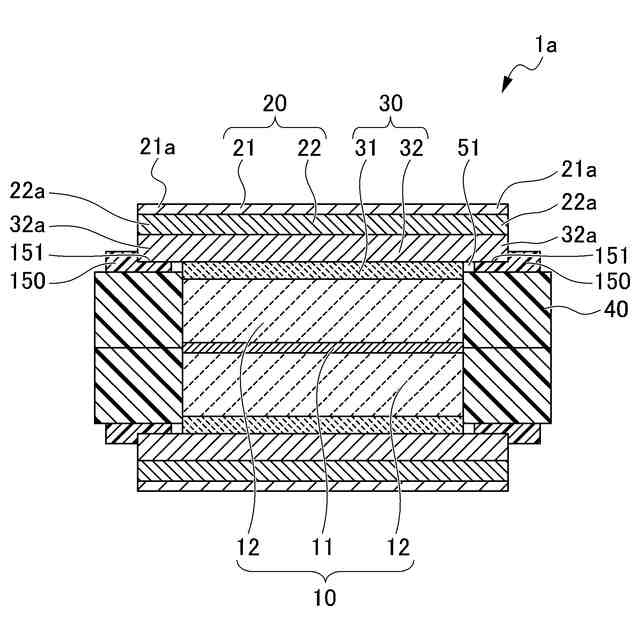
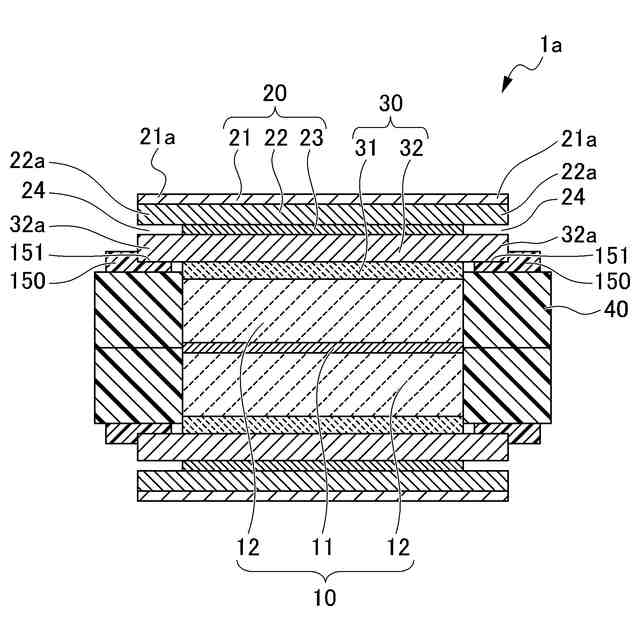
【解決手段】正極層10と、負極層20と、正極層10と負極層20との間に配置された固体電解質層30と、を含み、負極層20及び固体電解質層30の少なくとも一方は、平面視で正極層から突出した突出部32aを有する電極積層体1と、正極層10の外周に配置された絶縁性枠体40と、絶縁性枠体40と突出部32aと間に配置された弾性体50と、を備える、固体二次電池。
【選択図】図1
特許請求の範囲
【請求項1】
正極層と、負極層と、前記正極層と前記負極層との間に配置された固体電解質層と、を含み、前記負極層及び前記固体電解質層の少なくとも一方は、平面視で前記正極層から突出した突出部を有する電極積層体と、
前記正極層の外周に配置された絶縁性枠体と、
前記絶縁性枠体と前記突出部との間に配置された弾性体と、を備える、固体二次電池。
続きを表示(約 440 文字)
【請求項2】
前記弾性体の幅方向の寸法が、前記絶縁性枠体の幅寸法と同じ又はそれよりも小さい、請求項1に記載の固体二次電池。
【請求項3】
前記正極層は、正極集電体と、前記正極集電体の両面に積層された2つの正極活物質層とを有し、
前記負極層及び前記固体電解質層は、前記正極層を挟んで対向配置されていて、
前記突出部は、前記正極層を挟んで対向配置されていて、
前記絶縁性枠体は、対向配置された前記突出部の間に配置されている、請求項1又は2に記載の固体二次電池。
【請求項4】
前記正極層は、正極集電体と、前記正極集電体の一方の表面に積層された正極活物質層とを有し、
前記正極集電体は、平面視で前記正極活物質層から突出した突出部を有し、
前記絶縁性枠体は、前記正極集電体の前記突出部と、前記負極層及び前記固体電解質層の少なくとも一方の前記突出部との間に配置されている、請求項1又は2に記載の固体二次電池。
発明の詳細な説明
【技術分野】
【0001】
本発明は、固体二次電池に関する。
続きを表示(約 1,700 文字)
【背景技術】
【0002】
近年、より多くの人々が手ごろで信頼でき、持続可能かつ先進的なエネルギーへのアクセスを確保できるようにするため、エネルギーの効率化に貢献する二次電池に関する研究開発が行われている。二次電池の中でも正極層と負極層との間に固体電解質層を配置した電極積層体を有する固体二次電池は、固体電解質が不燃性であるために安全性が向上する点や、より高いエネルギー密度を有する点において優れており、特に注目を集めている。固体二次電池では、電極積層体の正極層、固体電解質層及び負極層の位置ずれや短絡を防止するために正極層の周囲に絶縁性枠体を配置し、絶縁性枠体で囲われた正極層に固体電解質層を介して負極層を配置することが行われている(特許文献1)。
【先行技術文献】
【特許文献】
【0003】
特開2023-77228号公報
【発明の概要】
【発明が解決しようとする課題】
【0004】
ところで、固体二次電池では、長寿命化が課題である。長寿命化のために、固体二次電池の正極層の周囲に絶縁性枠体を配置することは有効である。しかしながら、工業的に正極層を製造する際に正極層の正極活物質層の目付を一定に維持することは難しいため、正極層の厚さにはわずかばらつきがある。また、固体電解質層や絶縁性枠体にはラフネスがある。このため、固体電解質層と絶縁性枠体との間には隙間が生じることがある。また、固体二次電池の高容量化のため、負極活物質としてリチウムを用いることが検討されている。負極活物質としてリチウムを用いると、充放電によって負極層の厚みが変化し、正極層と負極層の間にある固体電解質層が変形して、固体電解質層と絶縁性枠体との間に隙間が生じることがある。固体電解質層と絶縁性枠体との間に隙間が生じると、固体二次電池製造時のプレス、固体二次電池の拘束、固体二次電池輸送時の振動など外部からの圧力や衝撃によって、固体電解質層が変形して割れにつながるおそれがある。また、固体電解質層と絶縁性枠体との間に隙間が生じると、正極層の側面に異物が混入するおそれがある。
【0005】
本発明は、上記の事情に鑑みてなされたものであり、絶縁性枠体と固体電解質層との間に隙間を発生させずに、正極層の周囲に絶縁性枠体を長期間にわたって安定して配置ことができる固体二次電池を提供することを目的とする。そして、延いてはエネルギーの効率化に寄与するものである。
【課題を解決するための手段】
【0006】
本発明者らは、負極層及び固体電解質層の少なくとも一方に平面視で正極層から突出した突出部を設け、その突起部と正極層の外周に配置された絶縁性枠体との間に弾性体を配置することによって、上記の課題を解決することが可能となることを見出し、本発明を完成するに至った。したがって、本発明は、次のものを提供する。
【0007】
(1)正極層と、負極層と、前記正極層と前記負極層との間に配置された固体電解質層と、を含み、前記負極層及び前記固体電解質層の少なくとも一方は、平面視で前記正極層から突出した突出部を有する電極積層体と、前記正極層の外周に配置された絶縁性枠体と、前記絶縁性枠体と前記突出部との間に配置された弾性体と、を備える、固体二次電池。
【0008】
(1)の固体二次電池は、電極積層体の突出部と、正極層の外周に配置された絶縁性枠体との間に弾性体が配置されているので、絶縁性枠体と固体電解質層との間に隙間を発生させずに、正極層の周囲に絶縁性枠体を長期間にわたって安定して絶縁することができる。
【0009】
(2)前記弾性体の幅方向の寸法が、前記絶縁性枠体の幅寸法と同じ又はそれよりも小さい、(1)に記載の固体二次電池。
【0010】
(2)の固体二次電池は、弾性体の幅方向の寸法が絶縁性枠体の幅寸法と同じ又はそれよりも小さいので、弾性体に圧力が付与されて、弾性体が変形した場合でも弾性体が絶縁性枠体を超えて外部に飛び出しにくくなる。
(【0011】以降は省略されています)
この特許をJ-PlatPat(特許庁公式サイト)で参照する
関連特許
本田技研工業株式会社
バッテリ
4日前
本田技研工業株式会社
固体電池
5日前
本田技研工業株式会社
車両構造
7日前
本田技研工業株式会社
車両構造
7日前
本田技研工業株式会社
受電装置
5日前
本田技研工業株式会社
送電装置
5日前
本田技研工業株式会社
保管装置
5日前
本田技研工業株式会社
断続装置
5日前
本田技研工業株式会社
切断装置
3日前
本田技研工業株式会社
保持装置
4日前
本田技研工業株式会社
ステータ
3日前
本田技研工業株式会社
バッテリ
4日前
本田技研工業株式会社
保管装置
5日前
本田技研工業株式会社
会話装置
3日前
本田技研工業株式会社
リンク機構
3日前
本田技研工業株式会社
放電処理方法
5日前
本田技研工業株式会社
潤滑システム
5日前
本田技研工業株式会社
鞍乗り型車両
3日前
本田技研工業株式会社
鞍乗り型車両
4日前
本田技研工業株式会社
電源システム
5日前
本田技研工業株式会社
鞍乗り型車両
3日前
本田技研工業株式会社
遠心ファン構造
4日前
本田技研工業株式会社
車両用冷却装置
3日前
本田技研工業株式会社
遠心ファン構造
4日前
本田技研工業株式会社
車両用冷却装置
3日前
本田技研工業株式会社
モータ制御装置
5日前
本田技研工業株式会社
リリーフバルブ
4日前
本田技研工業株式会社
能動型防振装置
7日前
本田技研工業株式会社
CO2電解装置
3日前
本田技研工業株式会社
CO2変換方法
3日前
本田技研工業株式会社
水電解スタック
3日前
本田技研工業株式会社
燃料電池システム
4日前
本田技研工業株式会社
鞍乗り型電動車両
7日前
本田技研工業株式会社
バッテリシステム
7日前
本田技研工業株式会社
バッテリシステム
4日前
本田技研工業株式会社
車室環境制御装置
3日前
続きを見る
他の特許を見る