TOP
|
特許
|
意匠
|
商標
特許ウォッチ
Twitter
他の特許を見る
公開番号
2025134393
公報種別
公開特許公報(A)
公開日
2025-09-17
出願番号
2024032274
出願日
2024-03-04
発明の名称
車両制御装置
出願人
本田技研工業株式会社
代理人
弁理士法人航栄事務所
主分類
G08G
1/16 20060101AFI20250909BHJP(信号)
要約
【課題】運転者に煩わしさを与え得る過剰な警報を抑制しつつ、運転者への警報を適切に行うことを可能にする。
【解決手段】制御装置30は、車両1の周辺状況を認識する第1認識部31と、運転者による車両1の運転状況を認識する第2認識部32と、第1認識部31によって認識された周辺状況と、第2認識部32によって認識された運転状況とに基づき、警報装置90を介して運転者への警報を行う警報制御部33と、を備える。第2認識部32は、車両1に対する操舵状況と、運転者の視線の向きとを含む運転状況を認識する。警報制御部33は、周辺状況に基づき警報の実行条件が成立した場合に、警報を所定の警報強度で行うことが可能であり、上記の操舵状況と視線の向きとのうちの少なくとも一方が所定条件を満たしている場合に、当該所定条件を満たしていない場合と比べて、警報の実行条件を厳しくする、及び/又は警報強度を低下させる。
【選択図】図1
特許請求の範囲
【請求項1】
車両を制御する車両制御装置であって、
前記車両の周辺状況を認識する第1認識部と、
運転者による前記車両の運転状況を認識する第2認識部と、
前記第1認識部によって認識された周辺状況と、前記第2認識部によって認識された運転状況とに基づき、所定の警報装置を介して前記運転者への警報を行う警報制御部と、
を備え、
前記第2認識部は、前記車両に対する操舵状況と、前記運転者の視線の向きとを含む前記運転状況を認識し、
前記警報制御部は、
前記周辺状況に基づき所定の実行条件が成立した場合に、前記警報を所定の警報強度で行うことが可能であり、
前記操舵状況と前記視線の向きとのうちの少なくとも一方が所定条件を満たしている場合に、当該所定条件を満たしていない場合と比べて、前記実行条件を厳しくする、及び/又は前記警報強度を低下させる、
車両制御装置。
続きを表示(約 1,200 文字)
【請求項2】
請求項1に記載の車両制御装置であって、
前記第1認識部は、前記車両が走行する自車線の形状を含む前記周辺状況を認識し、
前記車両制御装置は、
前記周辺状況に基づき、前記車両が前記自車線から逸脱しないように前記車両に対する操舵を支援する操舵制御を行う操舵制御部をさらに備え、
前記警報制御部は、
前記周辺状況と前記実行条件とに基づき、前記車両が前記自車線から逸脱する可能性があると判定した場合に、前記警報を行い、
前記操舵制御の作動中に前記所定条件を満たしている場合に、前記実行条件を厳しくする、及び/又は前記警報強度を低下させる、
車両制御装置。
【請求項3】
請求項2に記載の車両制御装置であって、
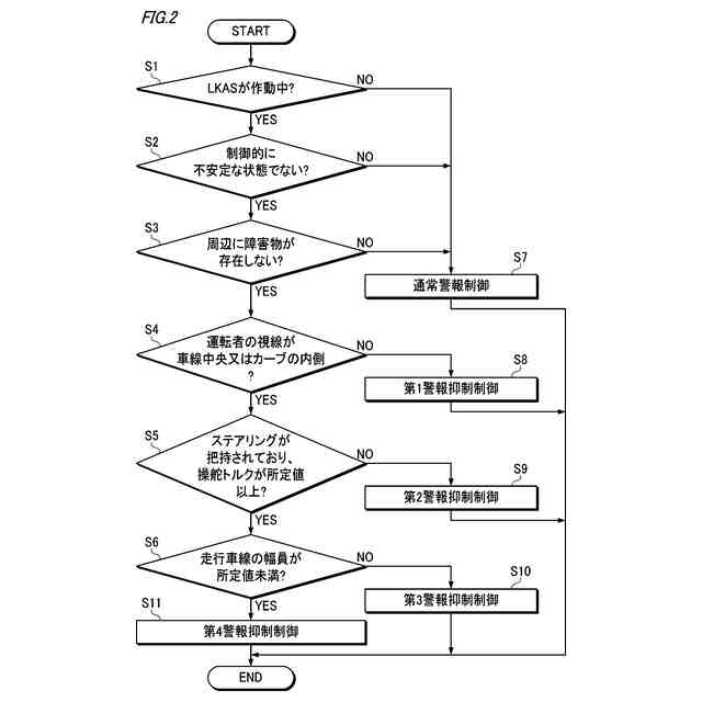
前記所定条件は、前記自車線の中央又は当該中央よりもカーブの内側へ前記視線が向いていること、という条件を含む、
車両制御装置。
【請求項4】
請求項2に記載の車両制御装置であって、
前記第2認識部は、前記車両のステアリングに生じた操舵トルクを含む前記操舵状況を認識し、
前記所定条件は、前記操舵トルクが所定値以上であること、という条件を含む、
車両制御装置。
【請求項5】
請求項2に記載の車両制御装置であって、
前記第2認識部は、前記車両のステアリングの把持状況を含む前記操舵状況を認識し、
前記所定条件は、前記ステアリングが把持されていること、という条件を含む、
車両制御装置。
【請求項6】
請求項1又は2に記載の車両制御装置であって、
前記警報制御部は、前記所定条件を満たしている状態が所定時間継続した場合に、前記実行条件を厳しくする、及び/又は前記警報強度を低下させる、
車両制御装置。
【請求項7】
請求項2に記載の車両制御装置であって、
前記警報制御部は、さらに、前記車両が走行する自車線の幅員が所定値未満である場合に、前記幅員が前記所定値以上ある場合と比べて、前記実行条件を厳しくする、及び/又は前記警報強度を低下させる、
車両制御装置。
【請求項8】
請求項1又は2に記載の車両制御装置であって、
前記警報制御部は、前記第1認識部によって認識された周辺状況についての信頼度が所定値であり、且つ前記所定条件を満たしている場合に、前記実行条件を厳しくする、及び/又は前記警報強度を低下させる、
車両制御装置。
【請求項9】
請求項1又は2に記載の車両制御装置であって、
前記第1認識部は、前記車両の周辺に存在する障害物を含む前記周辺状況を認識し、
前記警報制御部は、前記車両からの距離が閾値以下の前記障害物が認識された場合に、前記実行条件を通常の実行条件とする、及び/又は前記警報強度を通常の警報強度とする、
車両制御装置。
発明の詳細な説明
【技術分野】
【0001】
本発明は、車両を制御する車両制御装置に関する。
続きを表示(約 1,400 文字)
【背景技術】
【0002】
近年、脆弱な立場にある交通参加者にも配慮した持続可能な輸送システムへのアクセスを提供するための取り組みが活発化している。この取り組みの1つとして、交通の安全性や利便性をより改善すべく、自動車などの車両における運転支援技術や自動運転技術に関する研究開発が行われている。
【0003】
運転支援技術の一例として、下記特許文献1には、車線の中央範囲を走行する場合より車線の縁へ寄った走行についての制御として、車線の縁へ寄った走行を車線の中央へ戻す逸脱抑制制御を実行するようにした技術が開示されている。
【先行技術文献】
【特許文献】
【0004】
特開2022-059939号公報
【発明の概要】
【発明が解決しようとする課題】
【0005】
しかしながら、従来技術では、運転者に煩わしさを与え得る過剰な警報を抑制しつつ、運転者への警報を適切に行う観点で改善の余地があった。
【0006】
本発明は、運転者に煩わしさを与え得る過剰な警報を抑制しつつ、運転者への警報を適切に行うことを可能にする車両制御装置を提供する。
【課題を解決するための手段】
【0007】
本発明の一態様は、
車両を制御する車両制御装置であって、
前記車両の周辺状況を認識する第1認識部と、
運転者による前記車両の運転状況を認識する第2認識部と、
前記第1認識部によって認識された周辺状況と、前記第2認識部によって認識された運転状況とに基づき、所定の警報装置を介して前記運転者への警報を行う警報制御部と、
を備え、
前記第2認識部は、前記車両に対する操舵状況と、前記運転者の視線の向きとを含む前記運転状況を認識し、
前記警報制御部は、
前記周辺状況に基づき所定の実行条件が成立した場合に、前記警報を所定の警報強度で行うことが可能であり、
前記操舵状況と前記視線の向きとのうちの少なくとも一方が所定条件を満たしている場合に、当該所定条件を満たしていない場合と比べて、前記実行条件を厳しくする、及び/又は前記警報強度を低下させる、
車両制御装置である。
【発明の効果】
【0008】
本発明によれば、運転者に煩わしさを与え得る過剰な警報を抑制しつつ、運転者への警報を適切に行うことを可能にする車両制御装置を提供できる。
【図面の簡単な説明】
【0009】
一実施形態の制御装置を備える車両の概略構成を示すブロック図である。
一実施形態の制御装置が実行する警報制御処理の一例を示すフローチャートである。
一実施形態の制御装置が参照する警報制御テーブルの一例を示す図である。
【発明を実施するための形態】
【0010】
以下、本発明の車両制御装置の一実施形態について、図面を参照しながら説明する。以下の実施形態は本発明を限定するものではなく、以下の実施形態で説明する要素のすべてが本発明に必須のものとは限らない。また、本発明の趣旨を逸脱しない範囲において、以下の実施形態で説明する2以上の要素を任意に組み合わせてもよい。なお、以下では、同一又は類似の要素には同一又は類似の符号を付して、その説明を省略又は簡略化することがある。
(【0011】以降は省略されています)
この特許をJ-PlatPat(特許庁公式サイト)で参照する
関連特許
本田技研工業株式会社
車両
7日前
本田技研工業株式会社
装置
6日前
本田技研工業株式会社
車両
1か月前
本田技研工業株式会社
モータ
3日前
本田技研工業株式会社
保管装置
1日前
本田技研工業株式会社
バッテリ
今日
本田技研工業株式会社
バッテリ
今日
本田技研工業株式会社
通知装置
6日前
本田技研工業株式会社
内燃機関
6日前
本田技研工業株式会社
内燃機関
6日前
本田技研工業株式会社
保管装置
1日前
本田技研工業株式会社
車両構造
3日前
本田技研工業株式会社
車両構造
3日前
本田技研工業株式会社
受電装置
1日前
本田技研工業株式会社
送電装置
1日前
本田技研工業株式会社
断続装置
1日前
本田技研工業株式会社
固体電池
1日前
本田技研工業株式会社
保持装置
今日
本田技研工業株式会社
回転機械
1か月前
本田技研工業株式会社
電解装置
14日前
本田技研工業株式会社
ロボット
29日前
本田技研工業株式会社
触媒インク
1か月前
本田技研工業株式会社
触媒インク
1か月前
本田技研工業株式会社
鞍乗型車両
13日前
本田技研工業株式会社
リアクトル
6日前
本田技研工業株式会社
運転制御装置
3日前
本田技研工業株式会社
電源システム
1日前
本田技研工業株式会社
クラッチ装置
22日前
本田技研工業株式会社
鞍乗り型車両
21日前
本田技研工業株式会社
車両制御装置
15日前
本田技研工業株式会社
動力伝達装置
28日前
本田技研工業株式会社
車両制御装置
13日前
本田技研工業株式会社
分離システム
3日前
本田技研工業株式会社
潤滑システム
13日前
本田技研工業株式会社
鞍乗り型車両
今日
本田技研工業株式会社
固体二次電池
13日前
続きを見る
他の特許を見る