TOP
|
特許
|
意匠
|
商標
特許ウォッチ
Twitter
他の特許を見る
10個以上の画像は省略されています。
公開番号
2025142580
公報種別
公開特許公報(A)
公開日
2025-10-01
出願番号
2024042027
出願日
2024-03-18
発明の名称
遮蔽装置
出願人
立川ブラインド工業株式会社
代理人
個人
,
個人
主分類
E06B
9/388 20060101AFI20250924BHJP(戸,窓,シャッタまたはローラブラインド一般;はしご)
要約
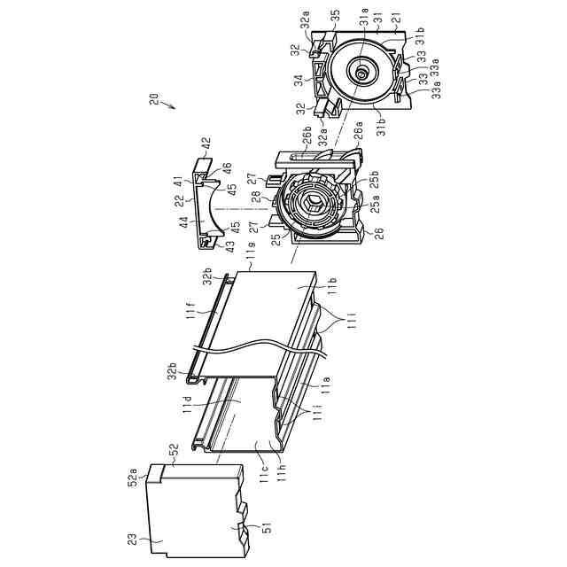
【課題】キャップのヘッド部からの脱落を抑制できる遮蔽装置を提供する。
【解決手段】ヘッドボックス11の端部に配置される操作側キャップ21と、プーリ25が配置される支持部材26と、キャップ23とヘッド端部との間に配置されるカバー22と、を備える。キャップ23は、端部開口11gを塞ぐように配置される主面部31からヘッド側壁11b,11cの内面に沿って延びる第1弾性片32を備え、第1弾性片32は、ヘッド側壁11b、11cが備える第1連結孔32bと係合する第1係合部32aを備える。カバー22は、第1弾性片32における第1係合部32aが第1連結孔32bから外れる方向の弾性変位を規制する規制部45と、ヘッド側壁11b,11cを外側から覆い、ヘッド側壁が互いに離間する方向に変位することを規制する一対のカバー側壁42,43と、を備える。
【選択図】図3
特許請求の範囲
【請求項1】
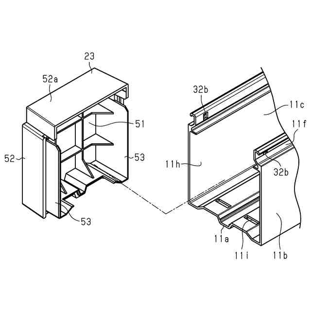
長手方向に延びる主壁と、前記主壁に立設される一対のヘッド側壁と、を備え、前記主壁及び前記ヘッド側壁に囲まれて、遮蔽材を開閉方向に移動する移動機構が配置される内部空間が構成されると共に、前記主壁、前記ヘッド側壁の端部によって端部開口が構成されるヘッド部と、
前記ヘッド部のヘッド端部に配置されるキャップと、
前記キャップと前記ヘッド端部との間に配置されるカバーと、を備え、
前記キャップは、前記端部開口を塞ぐように配置される主面部と、前記主面部から少なくとも一方の前記ヘッド側壁の内面に沿って延び、前記内面に対して近接離間する方向に弾性変位する弾性片と、を備え、
前記弾性片は、前記ヘッド側壁が備える連結部と係合する係合部を備え、
前記カバーは、前記ヘッド部に配置された状態において、前記弾性片における前記係合部が前記連結部から外れる方向の弾性変位を規制する規制部と、前記ヘッド側壁を外側から覆い、前記ヘッド側壁が互いに離間する方向に変位することを規制する一対のカバー側壁と、を備える遮蔽装置。
続きを表示(約 370 文字)
【請求項2】
前記キャップにおいて、前記主面部には、前記移動機構を動作させるための操作ユニットの部品が配置される
請求項1に記載の遮蔽装置。
【請求項3】
前記カバー側壁は、前記連結部を外側から覆う
請求項1に記載の遮蔽装置。
【請求項4】
前記弾性片は、第1弾性片であって、前記係合部は、第1係合部であって、前記連結部は、第1連結部であって、
前記キャップは、第2弾性片を更に備え、
前記第2弾性片は、前記主壁が備える第2連結部と係合する第2係合部を備える
請求項1ないし3のうち何れか1項に記載の遮蔽装置。
【請求項5】
前記カバー側壁は、前記ヘッド側壁が備える第3連結部に係合する第3係合部を備える
請求項4に記載の遮蔽装置。
発明の詳細な説明
【技術分野】
【0001】
本発明は、ヘッドの部の端部にキャップが配置された遮蔽装置に関する。
続きを表示(約 1,600 文字)
【背景技術】
【0002】
遮蔽装置の1つである横型ブラインドは、ヘッドボックスから吊下支持されるスラットの下部に設けられたボトムレールに昇降コードが取り付けられる。横型ブラインドは、昇降コードの巻取り及び巻戻しを行う巻取軸と、ユーザの操作によって巻取軸を回転させる操作ユニットと、を備える。操作ユニットは、巻取軸に回転力を伝えるプーリと、プーリを回転させる操作コードと、を備えている。
【0003】
例えば特許文献1では、操作ユニットがヘッドボックスの端部開口に取り付けられる。具体的に、操作ユニットは、補助部材を介してヘッドボックスに取り付けられる。この際、操作ユニットの補助部材に対する取付、及び補助母材のヘッドボックスへの取付は、係合突部若しくは爪部を連結部若しくは係合面に係合させる係合構造である。なお、ヘッドボックスにおいて、操作ユニットとは反対側の端部は、キャップによって閉塞される。
【先行技術文献】
【特許文献】
【0004】
特許第7025980号公報
【発明の概要】
【発明が解決しようとする課題】
【0005】
ヘッドボックスの端部を塞ぐ操作ユニット、キャップ等の閉塞部材は、単に係合構造によってヘッドボックスに取り付けるだけであると、設置後、長期亘って使用している間に、係合が外れることで、場合によっては閉塞部材がヘッドボックスから脱落するおそれがある。特に、操作ユニットを閉塞部材として用いる場合は、操作ユニットに操作コードを通じて繰り返し引張力が加わることから、係合構造が劣化することで、その結果、操作ユニットがヘッドボックスから外れる蓋然性も高くなる。
【課題を解決するための手段】
【0006】
上記課題を解決するための遮蔽装置は、長手方向に延びる主壁と、前記主壁に立設される一対のヘッド側壁と、を備え、前記主壁及び前記ヘッド側壁に囲まれて、遮蔽材を開閉方向に移動する移動機構が配置される内部空間が構成されると共に、前記主壁、前記ヘッド側壁の端部によって端部開口が構成されるヘッド部と、前記ヘッド部のヘッド端部に配置されるキャップと、前記キャップと前記ヘッド端部との間に配置されるカバーと、を備え、前記キャップは、前記端部開口を塞ぐように配置される主面部と、前記主面部から少なくとも一方の前記ヘッド側壁の内面に沿って延び、前記内面に対して近接離間する方向に弾性変位する弾性片と、を備え、前記弾性片は、前記ヘッド側壁が備える連結部と係合する係合部を備え、前記カバーは、前記ヘッド部に配置された状態において、前記弾性片における前記係合部が前記連結部から外れる方向の弾性変位を規制する規制部と、前記ヘッド側壁を外側から覆い、前記ヘッド側壁が互いに離間する方向に変位することを規制する一対のカバー側壁と、を備える。
【0007】
上記遮蔽装置において、前記キャップにおいて、前記主面部には、前記移動機構を動作させるための操作ユニットの部品が配置されるように構成してもよい。
上記遮蔽装置において、前記カバー側壁は、前記連結部を外側から覆うように構成してもよい。
【0008】
上記遮蔽装置において、前記弾性片は、第1弾性片であって、前記係合部は、第1係合部であって、前記連結部は、第1連結部であって、前記キャップは、第2弾性片を更に備え、前記第2弾性片は、前記主壁が備える第2連結部と係合する第2係合部を備えるように構成してもよい。
【0009】
上記遮蔽装置において、前記カバー側壁は、前記ヘッド側壁が備える第3連結部に係合する第3係合部を備えるように構成してもよい。
【発明の効果】
【0010】
本発明によれば、キャップのヘッド部からの脱落を抑制できる。
【図面の簡単な説明】
(【0011】以降は省略されています)
この特許をJ-PlatPat(特許庁公式サイト)で参照する
関連特許
株式会社ナカオ
作業台
1か月前
中国電力株式会社
脚立
1か月前
株式会社ESP
止水板
1か月前
三協立山株式会社
構造体
3か月前
三協立山株式会社
開口部装置
1か月前
三協立山株式会社
開口部装置
1か月前
三協立山株式会社
開口部装置
1か月前
三協立山株式会社
開口部装置
1か月前
三協立山株式会社
開口部装置
3日前
三協立山株式会社
開口部装置
1か月前
ミサワホーム株式会社
水切り材
1か月前
株式会社TJMデザイン
脚立用ホルダー
3か月前
不二サッシ株式会社
引違いサッシ
1か月前
不二サッシ株式会社
引違いサッシ
2日前
文化シヤッター株式会社
止水装置
2日前
株式会社ニチベイ
縦型ブラインド
2か月前
株式会社LIXIL
太陽電池ガラス
11日前
永大産業株式会社
開閉構造体
3か月前
三協立山株式会社
サッシの製造方法
1か月前
株式会社LIXIL
建具
7日前
株式会社LIXIL
建具
1か月前
倉敷紡績株式会社
外構ユニット
1日前
株式会社LIXIL
建具
1か月前
株式会社LIXIL
建具
1か月前
株式会社LIXIL
建具
1か月前
株式会社LIXIL
建具
11日前
株式会社LIXIL
建具
2か月前
株式会社LIXIL
建具
1か月前
株式会社LIXIL
建具
8日前
株式会社LIXIL
建具
8日前
株式会社LIXIL
建具
2か月前
株式会社LIXIL
建具
8日前
株式会社LIXIL
建具
8日前
株式会社LIXIL
建具
8日前
株式会社LIXIL
建具
8日前
株式会社LIXIL
建具
今日
続きを見る
他の特許を見る