TOP
|
特許
|
意匠
|
商標
特許ウォッチ
Twitter
他の特許を見る
10個以上の画像は省略されています。
公開番号
2025143073
公報種別
公開特許公報(A)
公開日
2025-10-01
出願番号
2024042793
出願日
2024-03-18
発明の名称
二酸化炭素吸収放出デバイス
出願人
株式会社東芝
代理人
弁理士法人鈴榮特許綜合事務所
主分類
B01D
53/32 20060101AFI20250924BHJP(物理的または化学的方法または装置一般)
要約
【課題】効率よく二酸化炭素を吸放出することができる二酸化炭素吸収放出デバイスを提供すること。
【解決手段】実施形態によれば、一対の電極と、水系電解液と、第1電解液流路と、第2電解液流路とを具備する二酸化炭素吸収放出デバイスが提供される。各々の電極は、導電性部材と、この導電性部材上にあり電気化学的にプロトンの授受を行う反応部位を有する多孔体とを含んだ多孔質複合体を含む。第1電解液流路において、一対の電極の一方が水系電解液と接する。第2電解液流路において、一対の電極の他方が水系電解液と接する。
【選択図】 図1
特許請求の範囲
【請求項1】
導電性部材と、前記導電性部材上にあり電気化学的にプロトンの授受を行う反応部位を有する多孔体とを含んだ多孔質複合体を各々含む一対の電極と、
水系電解液と、
前記一対の電極の一方が前記水系電解液と接する第1電解液流路と、
前記一対の電極の他方が前記水系電解液と接する第2電解液流路と
を具備する二酸化炭素吸収放出デバイス。
続きを表示(約 860 文字)
【請求項2】
前記水系電解液を電気的にpH変化させることにより前記水系電解液への二酸化炭素の溶解性を変化させることで二酸化炭素の吸放出を行うことができる、請求項1に記載の二酸化炭素吸収放出デバイス。
【請求項3】
前記反応部位は、電気応答による酸化還元活性を示す、請求項1又は2に記載の二酸化炭素吸収放出デバイス。
【請求項4】
前記反応部位は還元状態にてプロトンと結合することが可能であり、前記反応部位が前記水系電解液からプロトンを受容することで前記水系電解液のpHが上昇し二酸化炭素の溶解性を高めることができる、請求項3に記載の二酸化炭素吸収放出デバイス。
【請求項5】
前記反応部位は酸化状態にてプロトンを放出することが可能であり、前記反応部位が前記水系電解液にプロトンを供与することで前記水系電解液のpHが降下し二酸化炭素の溶解性を低くすることができる、請求項4に記載の二酸化炭素吸収放出デバイス。
【請求項6】
前記一対の電極の間で還元電流と酸化電流とのスイッチングが可能である、請求項1又は2に記載の二酸化炭素吸収放出デバイス。
【請求項7】
前記一対の電極の間で還元電位と酸化電位とのスイッチングが可能である、請求項1又は2に記載の二酸化炭素吸収放出デバイス。
【請求項8】
前記反応部位は、キノン、カテコール、フラン、フェナジン、フェナントレン、チオフェン、ピリジン、ピロール、スルフィド、ジスルフィド、及び縮合系ヘテロ芳香環系キノンから成る群より選択される少なくとも1つを含む、請求項3に記載の二酸化炭素吸収放出デバイス。
【請求項9】
前記反応部位は金属錯体である、請求項3に記載の二酸化炭素吸収放出デバイス。
【請求項10】
前記反応部位は、電気活性を有する金属有機構造体の一部である、請求項3に記載の二酸化炭素吸収放出デバイス。
(【請求項11】以降は省略されています)
発明の詳細な説明
【技術分野】
【0001】
本発明の実施形態は、二酸化炭素吸収放出デバイスに関する。
続きを表示(約 2,400 文字)
【背景技術】
【0002】
二酸化炭素をアミンなどの吸収剤に吸収させる技術は、火力発電所などのCCS(Carbon dioxide Capture and Storage: 二酸化炭素回収・貯留)プラントで使用され、地球温暖化防止のための技術として最有力候補とされている。二酸化炭素を吸収した吸収剤は、一般的に再生塔で加熱され、二酸化炭素を放出することで再生され、繰り返し使用される。このときの一般的な温度は140℃程度であり、大きなエネルギーを消費する。再生に要する熱やエネルギーは、ヒートデューティ又はエナジーペナルティとも言われている。この加熱温度を低くして二酸化炭素の放出を効率化できれば、エネルギーを削減でき、地球温暖化防止技術としてその普及を促進することができる。
【0003】
この他、多孔質材料を二酸化炭素吸着剤として用いることも知られている。多孔質材料は比較的大きな比表面積を有するので、細孔のサイズや細孔表面の官能基に二酸化炭素親和性の高いものを選択することで大量のガス又は有機分子を吸着できる特性を利用して、ガス貯蔵、ガス分離、触媒、反応場などの用途が検討されている。多孔質材料としてはゼオライト、ポーラスシリカ、ポーラスアルミナ、多孔質炭素材料、Metal-Organic Frameworks(MOF)、Covalent-Organic Frameworks(COF)、及びこれら多孔質材料の細孔にアミン分子を修飾したものなどが知られている。このような多孔質材料を用いたときも、二酸化炭素吸着剤の再生は基本的に加熱により行われ、アミンなどの吸収剤と同様に省エネルギー化が求められる。
【0004】
省エネルギー再生方式として、吸着した二酸化炭素と水蒸気を置換する方法がある。吸着された二酸化炭素等と水蒸気の置換反応により、二酸化炭素は吸着剤から放出される。この方法によれば加熱温度を100℃以下に下げることができるが、放出ガス中に二酸化炭素以外に水蒸気が含まれる。そのため、後段で放出ガスを冷却し、水蒸気を凝縮して二酸化炭素から分離する工程が加わる。従って、加熱脱着よりは省エネルギーになり得るが、吸収剤の再生方法として最適とは言い難い。
【0005】
他方、電気応答活性基を含んだポリマーや多孔質材料を用いて、加熱の代わりに電位のスイッチングにより二酸化炭素を分離する技術も検討されている。この方法を用いれば加熱せずに二酸化炭素を放出させることができるため、省エネルギー効果が期待される。
【先行技術文献】
【特許文献】
【0006】
米国特許出願公開第2014/0271434号明細書
公開公開WO2021/236979号
特開2022-25699号公報
特表2022-546697号公報
特開2023-33072号公報
【非特許文献】
【0007】
Nat. Commun., 14, 313 (2023).
Mater. Chem. Front., 2017, 1, 1310-1316.
Carbon 171 (2021) 248-256.
CCS Chem. 2020, 2, 696-706.
J. Am. Chem. Soc., 2013, 135, 16821-16824.
Inorg. Chem. 2017, 56, 13741-13747.
Adv. Sci. 2015, 2, 1500124.
【発明の概要】
【発明が解決しようとする課題】
【0008】
実施形態は、効率よく二酸化炭素を吸放出することができる二酸化炭素吸収放出デバイスを提供することを目的とする。
【課題を解決するための手段】
【0009】
実施形態によれば、一対の電極と、水系電解液と、第1電解液流路と、第2電解液流路とを具備する二酸化炭素吸収放出デバイスが提供される。各々の電極は、導電性部材と、この導電性部材上にあり電気化学的にプロトンの授受を行う反応部位を有する多孔体とを含んだ多孔質複合体を含む。第1電解液流路において、一対の電極の一方が水系電解液と接する。第2電解液流路において、一対の電極の他方が水系電解液と接する。
【図面の簡単な説明】
【0010】
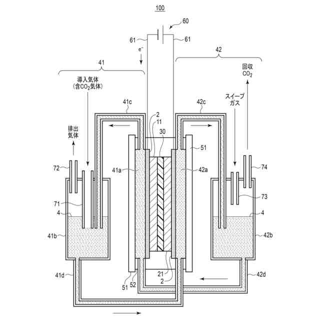
実施形態に係る二酸化炭素吸収放出デバイスの一例の動作のモードを模式的に表す断面図。
実施形態に係る二酸化炭素吸収放出デバイスの一例の動作の別モードを模式的に表す断面図。
実施形態に係る二酸化炭素吸収放出デバイスが含む電極の一例を模式的に表す断面図。
実施形態に係る二酸化炭素吸収放出デバイスの動作の一例を表すフローチャート。
実施形態に係る二酸化炭素吸収放出デバイスの動作の他の例を表すフローチャート。
一例のキノン系酸化還元活性基の構造式を示す一覧図。
一例の含N系酸化還元活性基の構造式を示す一覧図。
一例の含S系酸化還元活性基の構造式を示す一覧図。
一例の縮合系ヘテロ芳香環系酸化還元活性基の構造式を示す一覧図。
一例のキノン系酸化還元分子によるプロトン授受スキーム。
一例のスルフィド系酸化還元分子によるプロトン授受スキーム。
一例の縮合系ヘテロ芳香環系酸化還元分子によるプロトン授受スキーム。
他の例の縮合系ヘテロ芳香環系酸化還元分子によるプロトン授受スキーム。
実施例2にて測定されたサイクリックボルタンメトリー曲線を示すグラフ。
実施例5にて測定されたサイクリックボルタンメトリー曲線を表すグラフ。
【発明を実施するための形態】
(【0011】以降は省略されています)
この特許をJ-PlatPat(特許庁公式サイト)で参照する
関連特許
株式会社東芝
センサ
7日前
株式会社東芝
モータ
2日前
株式会社東芝
固定子
1か月前
株式会社東芝
センサ
1か月前
株式会社東芝
センサ
7日前
株式会社東芝
電子装置
1日前
株式会社東芝
ドア構造
1か月前
株式会社東芝
吸音装置
2日前
株式会社東芝
金型構造
7日前
株式会社東芝
半導体装置
4日前
株式会社東芝
半導体装置
4日前
株式会社東芝
半導体装置
16日前
株式会社東芝
半導体装置
4日前
株式会社東芝
半導体装置
14日前
株式会社東芝
電動送風機
1か月前
株式会社東芝
粒子加速器
1日前
株式会社東芝
半導体装置
4日前
株式会社東芝
半導体装置
4日前
株式会社東芝
半導体装置
4日前
株式会社東芝
ラック装置
1か月前
株式会社東芝
半導体装置
4日前
株式会社東芝
計測システム
1か月前
株式会社東芝
台車搬送装置
今日
株式会社東芝
重量測定装置
今日
株式会社東芝
開発支援装置
1か月前
株式会社東芝
ディスク装置
1か月前
株式会社東芝
ディスク装置
22日前
株式会社東芝
ディスク装置
1か月前
株式会社東芝
電子デバイス
2日前
株式会社東芝
差動伝送回路
1か月前
株式会社東芝
ディスク装置
4日前
株式会社東芝
ディスク装置
1か月前
株式会社東芝
異常検出装置
1か月前
株式会社東芝
熱電変換装置
2日前
株式会社東芝
ディスク装置
1か月前
株式会社東芝
電子デバイス
2日前
続きを見る
他の特許を見る