TOP
|
特許
|
意匠
|
商標
特許ウォッチ
Twitter
他の特許を見る
10個以上の画像は省略されています。
公開番号
2025143175
公報種別
公開特許公報(A)
公開日
2025-10-01
出願番号
2024178698
出願日
2024-10-11
発明の名称
液滴形成装置及びゲル粒子の製造方法
出願人
株式会社リコー
代理人
弁理士法人志賀国際特許事務所
主分類
C12M
1/00 20060101AFI20250924BHJP(生化学;ビール;酒精;ぶどう酒;酢;微生物学;酵素学;突然変異または遺伝子工学)
要約
【課題】大きさの揃った液滴を好適に製造可能とする液滴形成装置及びゲル粒子の製造方法の提供。
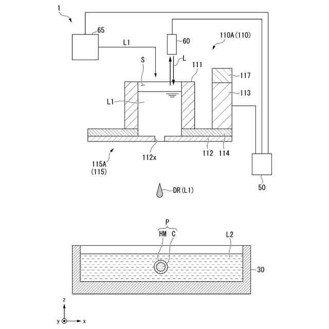
【解決手段】液体の液滴を吐出する吐出ヘッドを備え、吐出ヘッドは、液体を保持する筒状の液保持部材と、液保持部材の一端側を覆い、液保持部材と共に液体を保持する液室を形成し、印加される電気信号に基づいて液滴を吐出させる加振部と、を有し、液室は、液保持部材の他端側が大気開放されており、加振部は、電気信号に基づいて振動する加振部材と、液滴を吐出する吐出口を有する膜状部材と、加振部材の振動に基づいて振動し、自身が振動することにより加振部材の振動を膜状部材に伝達する共振部材と、を有し、共振部材は、膜状部材と平面的に重なり膜状部材と接する板状部材である液滴形成装置。
【選択図】図2
特許請求の範囲
【請求項1】
液体の液滴を吐出する吐出ヘッドを備え、
前記吐出ヘッドは、前記液体を保持する筒状の液保持部材と、
前記液保持部材の一端側を覆い、前記液保持部材と共に前記液体を保持する液室を形成し、印加される電気信号に基づいて前記液滴を吐出させる加振部と、を有し、
前記液室は、前記液保持部材の他端側が大気開放されており、
前記加振部は、前記電気信号に基づいて振動する加振部材と、
前記液滴を吐出する吐出口を有する膜状部材と、
前記加振部材の振動に基づいて振動し、自身が振動することにより前記加振部材の振動を前記膜状部材に伝達する共振部材と、を有し、
前記共振部材は、前記膜状部材と平面的に重なり前記膜状部材と接する板状部材である液滴形成装置。
続きを表示(約 980 文字)
【請求項2】
前記電気信号を供給し前記吐出ヘッドの動作を制御する第1制御装置を備え、
前記第1制御装置は、前記加振部材に下記式(1)の駆動周波数を有する前記電気信号を供給する請求項1に記載の液滴形成装置。
[駆動周波数]=([前記共振部材の構造振動の共振周波数]/n)×a…(1)
(ただし、nは1から100の整数、aは0.9~1.1を表す。)
【請求項3】
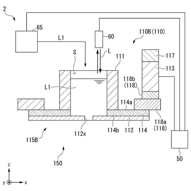
前記加振部は、前記共振部材と前記加振部材との間に設けられた着脱部材を有し、
前記着脱部材は、前記液保持部材と前記膜状部材と前記共振部材とを含む吐出部材と、前記加振部材とを着脱自在とする請求項1又は2に記載の液滴形成装置。
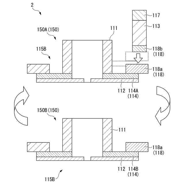
【請求項4】
複数の前記吐出部材を有する請求項3に記載の液滴形成装置。
【請求項5】
前記複数の吐出部材は、第1の吐出部材と第2の吐出部材と、を有し、
前記第2の吐出部材は、前記第1の吐出部材が有する共振部材とは共振周波数が異なる第2の共振部材を有する請求項4に記載の液滴形成装置。
【請求項6】
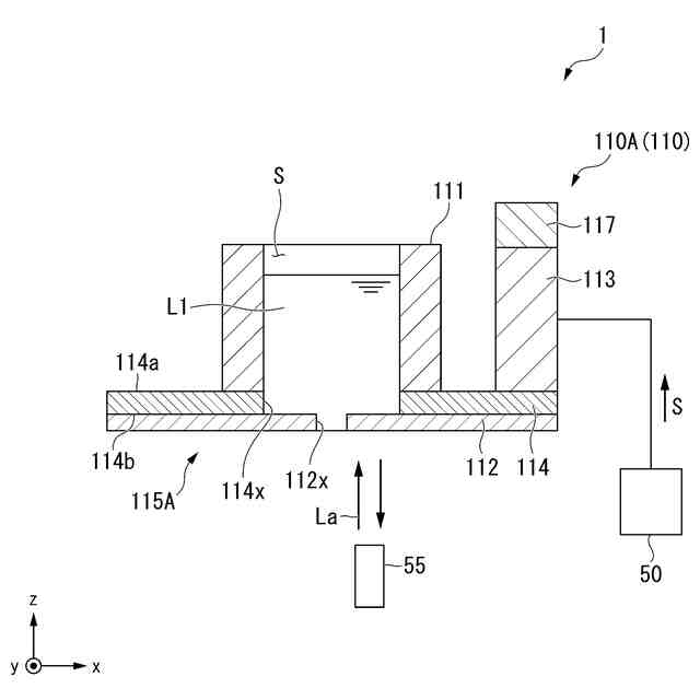
前記液室における前記液体の液量を検出する検出部と、
前記液室へ前記液体を供給する供給部と、
前記検出部の検出結果に基づいて前記供給部を制御し、前記液室における前記液体の液量を予め定めた規定量以上に維持する第2制御装置と、を有する請求項1又は2に記載の液滴形成装置。
【請求項7】
前記液滴の吐出方向に配置された貯留部をさらに備え、
前記液体は、第1基質を含む第1溶液であり、
前記貯留部は、第2基質を含む第2溶液を貯留し、
前記第1基質は、前記第2基質と反応してハイドロゲルを形成する請求項1又は2に記載の液滴形成装置。
【請求項8】
前記第1溶液は、細胞及びスフェロイドのいずれか一方又は両方である分散質を含む請求項7に記載の液滴形成装置。
【請求項9】
請求項7に記載の液滴形成装置を用い、前記吐出ヘッドから吐出した前記液滴を、前記液滴の吐出方向に貯留された前記第2溶液に滴下し、少なくとも表面がハイドロゲルで覆われたゲル粒子を形成する工程を有するゲル粒子の製造方法。
発明の詳細な説明
【技術分野】
【0001】
本発明は、液滴形成装置及びゲル粒子の製造方法に関する。
続きを表示(約 1,600 文字)
【背景技術】
【0002】
ゲル粒子は、ゲルを材料とする粒子である。ゲルは、三次元網目構造を有する高分子又はその高分子の膨潤体であり、高分子の網目構造内に多量の水を保持可能である。このようなゲル粒子は、薬剤やタンパク質、染料など様々な機能分子を内包させることが可能であり、近年、医療、食品、化粧品、光学、印刷等の広い分野で機能性材料として着目されている。
【0003】
このようなゲル粒子の製造方法としては、乳化重合やエマルション重合を用いる方法、ポリイオンコンプレックス形成を用いる方法が知られている。
【0004】
特許文献1には、エマルション重合を用いる方法として、w/wエマルションを調製後、油相と乳化してw/w/oエマルションを調製し、外水相をゲル化させることで、粒径分布が狭く、均一な大きさのゲル粒子を作製する方法が記載されている。
【0005】
また、特許文献2には、ポリイオンコンプレックス形成を用いる方法として、第1高分子電解質を含む第1高分子電解質溶液をニードル先端から噴出させ、形成された微小液滴を第2高分子電解質を含む第2高分子電解質溶液に接触させることで、ゲル粒子を製造するを得る方法が記載されている。特許文献2に記載の発明では、ニードル先端から第1高分子電解質溶液を噴出させる際にニードルに電圧を印加することで、形成する液滴を強く帯電させ、飛翔中の液滴の合一を抑制し、大きさの揃ったゲル粒子を製造することとしている。
【発明の概要】
【発明が解決しようとする課題】
【0006】
このようなゲル粒子は、製品の物理的安定性及び品質の安定性の観点から、粒径のばらつきが少ないことが求められている。しかし、上記特許文献1、2の方法は、以下のように改善の余地がある。
【0007】
特許文献1に記載のエマルション重合を利用した製造方法でゲル粒子を作製する場合、ゲル粒子の形成時の油相溶媒や界面活性剤を、形成したゲル粒子から除去するための洗浄処理が必要となる。洗浄では、エタノールやヘキサン、アセトンなどの有機溶媒を用いての洗浄を繰り返す作業が必要となり、多くの時間や、大量の水を要するといった欠点がある。また、形成したゲル粒子が複数回の洗浄工程を経ることで、洗浄時の機械的ストレスによりゲル粒子が損傷することが考えられる。ゲル粒子が損傷すると、ゲル粒子の断片が形成され、粒径分布がばらついてしまうおそれがある。
【0008】
また、特許文献2の製造方法では、液滴の合一抑制のため、製造装置から吐出する液体を強く帯電させている。この場合、帯電させた電荷の静電反発力が液滴の表面張力を超えると、飛翔中の液滴がさらに複数の小さな液滴に分裂し、粒径分布がばらついたゲル粒子が形成されることが考えられる。そのため、特許文献2の製造方法では、液体に対する過度な荷電を防ぐために、液滴が置かれる帯電環境を適切に制御する、液滴の溶媒や溶質を適切に選択して表面張力を上げる、などの検討が必要となる。
【0009】
特許文献1に記載の発明においては、ニードル先端から第1高分子電解質溶液を噴出させる際にニードルに電圧を印加することで、形成する液滴を強く帯電させている。これにより、帯電した液滴を飛翔させ、飛翔中の液滴の合一を抑制し、大きさの揃ったマイクロカプセルを製造することとしている。
【0010】
特許文献1に記載の方法により細胞を内包するマイクロカプセルを製造する場合、細胞は、ニードルからの液滴の噴霧中、及び飛翔している液滴内において、帯電した環境下に曝されることとなる。そのため、特許文献1に記載の方法では、マイクロカプセルの製造時に細胞に対して電気的な刺激が加わることとなり、細胞に対する悪影響が懸念される。
(【0011】以降は省略されています)
この特許をJ-PlatPat(特許庁公式サイト)で参照する
関連特許
株式会社リコー
綴じ装置
1か月前
株式会社リコー
履帯式走行体
1か月前
株式会社リコー
感熱記録媒体
3日前
株式会社リコー
印刷システム
6日前
株式会社リコー
画像形成装置
1か月前
株式会社リコー
画像形成装置
6日前
株式会社リコー
画像形成装置
6日前
株式会社リコー
画像形成装置
6日前
株式会社リコー
画像形成装置
1か月前
株式会社リコー
画像形成装置
9日前
株式会社リコー
液体塗布装置
10日前
株式会社リコー
画像形成装置
17日前
株式会社リコー
画像形成装置
1か月前
株式会社リコー
画像形成装置
24日前
株式会社リコー
画像形成装置
2日前
株式会社リコー
画像形成装置
25日前
株式会社リコー
液体吐出装置
1か月前
株式会社リコー
画像形成装置
1か月前
株式会社リコー
映像表示装置
27日前
株式会社リコー
拡張アンテナ装置
9日前
株式会社リコー
情報処理システム
27日前
株式会社リコー
生体情報測定装置
3日前
株式会社リコー
画像形成システム
2日前
株式会社リコー
印刷応答補償機構
10日前
株式会社リコー
画像投射システム
17日前
株式会社リコー
投薬管理システム
25日前
株式会社リコー
液体を吐出する装置
3日前
株式会社リコー
カラー画像形成装置
1か月前
株式会社リコー
マーキングシステム
9日前
株式会社リコー
電極及びその製造方法
6日前
株式会社リコー
電極及びその製造方法
4日前
株式会社リコー
測定装置および測定方法
26日前
株式会社リコー
多孔質構造体の製造方法
6日前
株式会社リコー
測定装置および測定方法
26日前
株式会社リコー
測定装置および測定方法
26日前
株式会社リコー
定着装置及び画像形成装置
16日前
続きを見る
他の特許を見る