TOP
|
特許
|
意匠
|
商標
特許ウォッチ
Twitter
他の特許を見る
10個以上の画像は省略されています。
公開番号
2025143821
公報種別
公開特許公報(A)
公開日
2025-10-02
出願番号
2024043265
出願日
2024-03-19
発明の名称
通信システム、集約端末装置、サーバーおよびコンピュータに実行させるためのプログラム
出願人
株式会社国際電気通信基礎技術研究所
代理人
個人
主分類
H04L
9/32 20060101AFI20250925BHJP(電気通信技術)
要約
【課題】署名データ量を最小にすることが可能な通信システムを提供する。
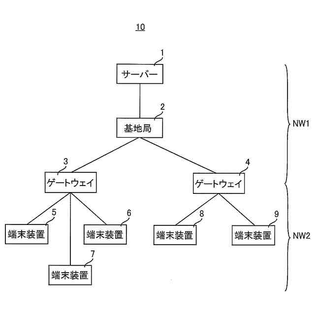
【解決手段】端末装置5~7の各々は、署名方式が1対1署名方式であるとき、自己が検出したデータmsgと自己の識別情報idと署名方式typeと、データmsgおよび識別情報idに1対1署名用鍵を用いて署名して生成したタグtagとをゲートウェイ3へ送信し、ゲートウェイ3は、端末装置5~7の各々から受信した[msg,id,type,tag]をサーバー1へ送信する。端末装置5~7の各々は、署名方式が集約署名方式であるとき、[msg,id,type,tag’(=集約署名用鍵を用いて署名して生成したタグ)]をゲートウェイ3へ送信し、ゲートウェイ3は、msg,id,tag’に集約署名用鍵を用いて署名して生成した集約タグa_tagと[msg,id]とをサーバー1へ送信する。
【選択図】図1
特許請求の範囲
【請求項1】
データを保管するサーバーと、
前記データを前記サーバーへ送信する第1の集約端末装置と、
前記第1の集約端末装置の通信範囲内に配置されたn
1
(n
1
は、1以上の整数)個の端末装置とを備え、
前記n
1
個の端末装置の各々は、自己のデータであるデータmsgを検出し、1組の[識別情報,データ]毎にデジタル署名を行う1対1署名方式におけるデジタル署名用鍵である1対1署名用鍵と1組の[識別情報id,データmsg]毎にデジタル署名を行い、複数組の[識別情報id,データmsg]に対応する複数の署名を1つに圧縮した署名を作成する署名方式である集約署名方式におけるデジタル署名用鍵である集約署名用鍵とのうちのデジタル署名後の署名サイズが小さくなる署名用鍵を用いて前記データmsgと自己の識別情報である識別情報idとに署名してタグtagを作成し、前記識別情報id、前記データmsg、署名方式typeおよび前記タグtagを無線通信によって前記第1の集約端末装置へ送信し、
前記第1の集約端末装置は、n
1
組の[前記識別情報id,前記データmsg,前記タグtag]をそれぞれ前記n
1
個の端末装置から受信し、前記署名用鍵が前記1対1署名用鍵であるとき、前記n
1
組の[前記識別情報id,前記データmsg,前記タグtag]を前記サーバーへ送信し、前記署名用鍵が前記集約署名用鍵であるとき、前記n
1
組の[前記識別情報id,前記データmsg,前記タグtag]をn
1
個の前記識別情報idに対応するn
1
個の前記集約署名用鍵(公開鍵)によって集約して集約タグa_tagを作成し、前記n
1
組の[前記識別情報id,前記データmsg]と前記集約タグa_tagとを前記サーバーへ送信し、
前記サーバーは、前記n
1
組の[前記識別情報id,前記データmsg,前記タグtag]を前記第1の集約端末装置から受信したとき、前記n
1
組の[前記識別情報id,前記データmsg,前記タグtag]のうちの1組の[前記識別情報id,前記データmsg,前記タグtag]に基づいて前記タグtagを使用して前記データmsgを検証して検証結果を作成することを前記n
1
組の[前記識別情報id,前記データmsg,前記タグtag]の全てについて実行してn
1
組の[検証結果および前記データmsg]を保管し、前記n
1
組の[前記識別情報id,前記データmsg]と前記集約タグa_tagとを前記第1の集約端末装置から受信したとき、前記集約タグa_tagを使用して前記n
1
組の[前記識別情報id,前記データmsg]に含まれるn
1
個のデータmsgを検証してn
1
個の検証結果を作成し、[n
1
個の検証結果およびn
1
個のデータmsg]を保管する、通信システム。
続きを表示(約 1,700 文字)
【請求項2】
前記サーバーは、前記1対1署名方式と前記集約署名方式とのうちの使用すべきデジタル署名方式であるデジタル署名方式DSMを決定し、その決定したデジタル署名方式DSMを前記第1の集約端末装置へ送信し、
前記第1の集約端末装置は、前記デジタル署名方式DSMを前記サーバーから受信し、その受信した前記デジタル署名方式DSMを無線通信によって前記n
1
個の端末装置へ送信する、請求項1に記載の通信システム。
【請求項3】
前記サーバーは、前記第1の集約端末装置の通信範囲内に存在する前記端末装置の個数に基づいてデジタル署名方式DSMを決定する、請求項2に記載の通信システム。
【請求項4】
前記サーバーは、前記1対1署名方式における集約後の署名サイズと前記端末装置の個数との関係を示す第1の関係式と、前記集約署名方式における集約後の署名サイズと前記端末装置の個数との関係を示す第2の関係式とに基づいて、前記1対1署名方式および前記集約署名方式のうち、前記集約後の署名サイズが小さくなる署名方式を前記デジタル署名方式DSMとして決定する、請求項3に記載の通信システム。
【請求項5】
前記サーバーは、前記第1の集約端末装置から受信したデータに基づいて前記1対1署名方式におけるデータの個数である第1の個数N_Aと前記集約署名方式におけるデータの個数である第2の個数N_Bとをカウントし、前記第1の個数N_Aと前記第2の個数N_Bとの和N_A+N_Bを前記端末装置の個数として算出し、前記第1の関係式に基づいて前記和N_A+N_Bに対応する第1の集約後の署名サイズを検出するとともに前記第2の関係式に基づいて前記和N_A+N_Bに対応する第2の集約後の署名サイズを検出し、前記第1の集約後の署名サイズと前記第2の集約後の署名サイズとのうちの小さい方の集約後の署名サイズが得られるときの署名方式を前記デジタル署名方式DSMとして決定する、請求項4に記載の通信システム。
【請求項6】
前記第1の集約端末装置は、前記デジタル署名方式DSMが前記n
1
個の端末装置における署名方式と異なるか否かを判定し、前記デジタル署名方式DSMが前記n
1
個の端末装置における署名方式と異なると判定したとき、前記デジタル署名方式DSMを無線通信によって前記n
1
個の端末装置へ送信する、請求項2に記載の通信システム。
【請求項7】
前記n
1
個の端末装置の各々は、無線通信によって前記デジタル署名方式DSMを前記第1の集約端末装置から受信したか否かを判定し、または前記データmsgの送信時刻に到達したか否かを判定し、前記デジタル署名方式DSMを前記第1の集約端末装置から受信したと判定したとき、前記受信したデジタル署名方式DSMにデジタル署名方式を変更する、請求項2に記載の通信システム。
【請求項8】
前記第1の集約端末装置は、前記1対1署名方式と前記集約署名方式とのうちの使用すべきデジタル署名方式であるデジタル署名方式DSMを決定し、その決定したデジタル署名方式DSMを無線通信によってn
1
個の端末装置へ送信する、請求項1に記載の通信システム。
【請求項9】
前記第1の集約端末装置は、自己の通信範囲内に存在する前記端末装置の個数に基づいてデジタル署名方式DSMを決定する、請求項8に記載の通信システム。
【請求項10】
前記第1の集約端末装置は、前記1対1署名方式における集約後の署名サイズと前記端末装置の個数との関係を示す第1の関係式と、前記集約署名方式における集約後の署名サイズと前記端末装置の個数との関係を示す第2の関係式とに基づいて、前記1対1署名方式および前記集約署名方式のうち、前記集約後の署名サイズが小さくなる署名方式を前記デジタル署名方式DSMとして決定する、請求項9に記載の通信システム。
(【請求項11】以降は省略されています)
発明の詳細な説明
【技術分野】
【0001】
この発明は、通信システム、集約端末装置、サーバーおよびコンピュータに実行させるためのプログラムに関するものである。
続きを表示(約 930 文字)
【背景技術】
【0002】
センサーネットワーク等の多数の端末から情報を収集するネットワークにおいては、データの偽造・改ざんを検出するために、またはデータが正しい端末から送られていることを確認するために、デジタル署名が用いられる(非特許文献1)。
【0003】
デジタル署名においては、端末数が多くなると、署名の量も膨大になるため、通信量が増加する。
【0004】
集約署名と呼ばれるデジタル署名技術を用いると、複数の署名を圧縮することによって署名データ量を削減することができる。
【先行技術文献】
【非特許文献】
【0005】
L. Shen, J. Ma, X. Liu, F. Wei and M. Miao, "A secure and efficient ID-based aggregate signature scheme for wireless sensor networks", IEEE Internet Things J., vol. 4, no. 2, pp. 546-554, Apr. 2017.
【発明の概要】
【発明が解決しようとする課題】
【0006】
しかし、集約署名は、端末数が多い場合には署名データ量を削減することができるが、端末数が少ない場合には、逆に署名データ量が増加してしまうという問題がある。
【0007】
そこで、この発明の実施の形態によれば、署名データ量を最小にすることが可能な通信システムを提供する。
【0008】
また、この発明の実施の形態によれば、署名データ量の最小化をコンピュータに実行させるためのプログラムを提供する。
【0009】
更に、この発明の実施の形態によれば、署名データ量を最小にすることが可能な集約端末装置を提供する。
【0010】
更に、この発明の実施の形態によれば、署名データ量を最小にすることが可能なサーバーを提供する。
【課題を解決するための手段】
(【0011】以降は省略されています)
この特許をJ-PlatPat(特許庁公式サイト)で参照する
関連特許
個人
店内配信予約システム
2か月前
サクサ株式会社
中継装置
3か月前
WHISMR合同会社
収音装置
26日前
キヤノン株式会社
撮像装置
1か月前
アイホン株式会社
電気機器
20日前
キヤノン株式会社
撮像装置
3か月前
キヤノン株式会社
電子機器
2か月前
キヤノン電子株式会社
モバイル装置
3か月前
キヤノン電子株式会社
画像読取装置
27日前
電気興業株式会社
無線中継器
3か月前
株式会社リコー
画像形成装置
2か月前
日本精機株式会社
画像投映システム
3か月前
ヤマハ株式会社
信号処理装置
3か月前
個人
ワイヤレスイヤホン対応耳掛け
18日前
株式会社リコー
画像形成装置
1か月前
株式会社リコー
画像形成装置
1か月前
ブラザー工業株式会社
読取装置
1か月前
キヤノン株式会社
撮像システム
20日前
株式会社ニコン
撮像装置
2か月前
キヤノン株式会社
通信システム
3か月前
大日本印刷株式会社
写真撮影装置
19日前
キヤノン電子株式会社
画像読取システム
3か月前
株式会社小糸製作所
画像照射装置
1か月前
パテントフレア株式会社
水中電波通信法
2か月前
有限会社フィデリックス
マイクロフォン
4日前
国立大学法人電気通信大学
小型光学装置
1か月前
キヤノン電子株式会社
シート材搬送装置
1か月前
株式会社JVCケンウッド
通信システム
4日前
沖電気工業株式会社
画像形成装置
8日前
エルメック株式会社
信号伝送回路
4か月前
パテントフレア株式会社
超高速電波通信
1か月前
株式会社松平商会
携帯機器カバー
29日前
DXO株式会社
情報処理システム
2か月前
日本無線株式会社
無線通信システム
29日前
日本無線株式会社
無線通信システム
1か月前
株式会社リコー
画像形成装置
1か月前
続きを見る
他の特許を見る