TOP
|
特許
|
意匠
|
商標
特許ウォッチ
Twitter
他の特許を見る
公開番号
2025132065
公報種別
公開特許公報(A)
公開日
2025-09-10
出願番号
2024029388
出願日
2024-02-29
発明の名称
ガス拡散層の製造方法
出願人
東レ株式会社
代理人
主分類
H01M
4/88 20060101AFI20250903BHJP(基本的電気素子)
要約
【課題】本発明の目的は、燃料電池のガス拡散電極に用いた際に発電性能が良好であるガス拡散層を生産性高く量産可能な製造方法を提供することである。
【解決手段】導電性多孔質基材の少なくとも片面に微多孔層が形成されたガス拡散層の製造方法であって、導電性多孔質基材上に、少なくとも導電性微粒子および分散媒を含有する微多孔層形成用塗液を塗布する塗布工程(1)、前記微多孔層形成用塗液を塗布した部分のうち、少なくとも塗布両端部を押圧ロールを用いて押圧する押圧工程(2)、および導電性多孔質基材上に塗布された微多孔層形成用塗液を乾燥させ、微多孔層とする乾燥工程(3)をこの順に有するガス拡散層の製造方法。
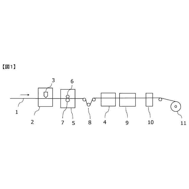
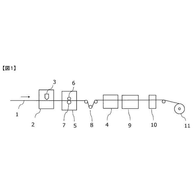
【選択図】図1
特許請求の範囲
【請求項1】
導電性多孔質基材の少なくとも片面に微多孔層が形成されたガス拡散層の製造方法であって、導電性多孔質基材上に、少なくとも導電性微粒子および分散媒を含有する微多孔層形成用塗液を塗布する塗布工程(1)、前記微多孔層形成用塗液を塗布した部分のうち、少なくとも塗布両端部を押圧ロールを用いて押圧する押圧工程(2)、および導電性多孔質基材上に塗布された微多孔層形成用塗液を乾燥させ、微多孔層とする乾燥工程(3)をこの順に有するガス拡散層の製造方法。
続きを表示(約 600 文字)
【請求項2】
前記押圧ロールが離型性ロールである請求項1に記載のガス拡散層の製造方法。
【請求項3】
前記押圧工程(2)において、塗布両端部のみを押圧ロールを用いて押圧する請求項1に記載のガス拡散層の製造方法。
【請求項4】
前記押圧工程(2)において、塗布中央部と塗布両端部とを1つの押圧ロールまたは複数の押圧ロールを用いて押圧する請求項1に記載のガス拡散層の製造方法。
【請求項5】
前記押圧工程(2)において、塗布両端部のそれぞれを面長が20~60mmである押圧ロールを用いて押圧する請求項3に記載のガス拡散層の製造方法。
【請求項6】
前記押圧工程(2)において、両端部と中央部で直径が異なり、かつ両端部の面長がそれぞれ20~60mmである1つのロールを用いて押圧する請求項4に記載のガス拡散層の製造方法。
【請求項7】
前記押圧工程(2)において、塗布中央部を少なくとも1つのロールを用いて、塗布両端部のそれぞれをロールの面長が20~60mmであるロールを用いて押圧する請求項4に記載のガス拡散層の製造方法。
【請求項8】
前記押圧工程(2)の後、または前記乾燥工程(3)の後に、塗布両端部の少なくとも一部をトリミングするスリット工程(4)をさらに含む請求項1に記載のガス拡散層の製造方法。
発明の詳細な説明
【技術分野】
【0001】
本発明は、燃料電池に用いられるガス拡散層の製造方法に関し、特に平滑性に優れるガス拡散層の製造方法に関する。
続きを表示(約 1,500 文字)
【背景技術】
【0002】
燃料電池は水素と酸素を反応させて水が生成する際に生起するエネルギーを電気的に取り出す機構であり、エネルギー効率が高く排出物が水しかないことからクリーンエネルギーとして期待されている。
【0003】
高分子電解質型燃料電池に使用される電極は、高分子電解質型燃料電池において2つのセパレータで挟まれてその間に配置されるもので、高分子電解質膜の両面において、高分子電解質膜の表面に形成される触媒層と、この触媒層の外側に形成されるガス拡散層とからなる構造を有する。ガス拡散層には一般的にガス拡散性、導電性、および排水性が求められる。当該性能を有するガス拡散層を得るために、一般的に、ガス拡散能および導電性を兼ね備えた導電性多孔質基材が用いられる。
【0004】
燃料電池は水素と酸素が反応し水が生成する際に生じるエネルギーを電気的に取り出すシステムであるため、電気的な負荷が大きくなると、すなわち電池外部へ取り出す電流を大きくすると多量の水(水蒸気)が発生する。この水蒸気が低温では凝縮して水滴になることでガス拡散層の細孔を塞いでしまうと、ガス(酸素または水素)の触媒層への供給量が低下していき、最終的に全ての細孔が塞がれてしまうと発電が停止することになる(この現象をフラッディングという)。
【0005】
フラッディングを可能な限り発生させないため、ガス拡散層には排水性が求められる。この排水性を高める手段として、通常、導電性多孔質基材に撥水処理を施し撥水性を高めている。
【0006】
しかし、撥水処理を施した導電性多孔質基材をそのままガス拡散層として用いると、その繊維の目が粗いため、凝縮した水蒸気が大きな水滴になりやすく、フラッディングを起こしやすい。このため、撥水処理を施した導電性多孔質基材の上に、導電性微粒子を分散した塗液を塗布し乾燥焼結することにより、微多孔層(マイクロポーラスレイヤーともいう)を設ける場合がある。
【0007】
上記の塗液としては導電性微粒子を分散した微多孔層形成用塗液を用いる。導電性微粒子以外に撥水剤や分散剤も適宜微多孔層形成用塗液の原料として用いられる。
【0008】
従来、一般的なガス拡散層の製造方法においては、長尺の導電性多孔質基材を連続的に搬送させて、撥水処理、乾燥、微多孔層形成用塗液の塗布、乾燥、焼結といった工程を通過させて製造する方法が知られている。ここで、微多孔層形成用塗液を塗布する方法としては、特許文献1に代表されるように、導電性多孔質基材の表面粗さによらず塗布量の定量化を図ることができる、ダイコーターなどが主に用いられている。
【先行技術文献】
【特許文献】
【0009】
特開2022-42074号公報
特開2003-145536号公報
特開2003-346833号公報
【発明の概要】
【発明が解決しようとする課題】
【0010】
ダイコーターなどの幅方向に広いノズルで微多孔層形成用塗液を吐出する塗布装置を用いる場合、塗布装置の先端部の幅方向両端から吐出される塗液は、導電性多孔質基材内部に押し付けられる力が弱いため、導電性多孔質基材へ浸み込みにくくなる。これにより導電性多孔質基材の両端部が塗液によって盛り上がる。盛り上がった微多孔層形成用塗液は、塗布以降のパスラインに転写されて堆積したり、巻き取った際に端部のみが分厚くなったりすることでガス拡散層の破断を引き起こすことがある。
(【0011】以降は省略されています)
この特許をJ-PlatPat(特許庁公式サイト)で参照する
関連特許
東レ株式会社
浄水器
1か月前
東レ株式会社
防護服
19日前
東レ株式会社
化粧料
4日前
東レ株式会社
複合半透膜
1か月前
東レ株式会社
風車ブレード
2か月前
東レ株式会社
積層フィルム
18日前
東レ株式会社
積層フィルム
1か月前
東レ株式会社
積層多孔質膜
2か月前
東レ株式会社
黒色樹脂組成物
23日前
東レ株式会社
加飾用フィルム
23日前
東レ株式会社
光透過性表皮材
18日前
東レ株式会社
無配向フィルム
12日前
東レ株式会社
多孔質炭素シート
1か月前
東レ株式会社
不織布の製造装置
17日前
東レ株式会社
飛翔体用ブレード
12日前
東レ株式会社
貼合体の製造方法
12日前
東レ株式会社
多層積層フィルム
1か月前
東レ株式会社
赤外線遮蔽構成体
12日前
東レ株式会社
車両用衝撃吸収部材
12日前
東レ株式会社
遮熱性アクリル繊維
24日前
東レ株式会社
合成繊維の巻取装置
3か月前
東レ株式会社
溶融紡糸口金パック
24日前
東レ株式会社
繊維断面の検査方法
24日前
東レ株式会社
織物および繊維製品
2か月前
東レ株式会社
テーパ付き円筒部材
18日前
東レ株式会社
太陽電池モジュール
18日前
東レ株式会社
フィルムの製造装置
12日前
東レ株式会社
サンドイッチ構造体
1か月前
東レ株式会社
熱硬化性樹脂組成物
2か月前
東レ株式会社
中空糸膜モジュール
23日前
東レ株式会社
ポリエステルフィルム
1か月前
東レ株式会社
複合成形体の製造方法
12日前
東レ株式会社
引抜成形品の製造方法
2か月前
東レ株式会社
ガス拡散層の製造方法
1か月前
東レ株式会社
ポリエステルフィルム
9日前
東レ株式会社
複合成形体の製造方法
1か月前
続きを見る
他の特許を見る