TOP
|
特許
|
意匠
|
商標
特許ウォッチ
Twitter
他の特許を見る
10個以上の画像は省略されています。
公開番号
2025144134
公報種別
公開特許公報(A)
公開日
2025-10-02
出願番号
2024043758
出願日
2024-03-19
発明の名称
画像形成装置及び転写残トナーの回収方法
出願人
株式会社リコー
代理人
個人
主分類
G03G
15/02 20060101AFI20250925BHJP(写真;映画;光波以外の波を使用する類似技術;電子写真;ホログラフイ)
要約
【課題】帯電部材からのトナーの移動制御を短くでき、像担持体の寿命を長くでき、除電装置を削減可能でコストを低減できる画像形成装置。
【解決手段】画像印字中に、帯電部材に直流バイアスを印加して転写残トナーのうち逆帯電トナーを帯電部材に移動させる第1回収動作と、画像印字後の非画像印字中に、転写残トナーを現像手段で回収する第2回収動作と行う。第2回収動作では(a)~(c)を行う。(a)転写部材への電圧の印加を停止等させ、帯電部材に印加する電圧を小さくして逆帯電トナーを帯電部材から像担持体に移動させる。(b)画像印字中に転写部材に印加する電圧と同じ極性の電圧を印加して、像担持体の表面電位の絶対値を小さくする。帯電部材に印加する電圧を大きくして帯電前放電を生じさせ像担持体上の逆帯電トナーを正規極性に帯電させる。(c)正規帯電トナーを回収する。
【選択図】図1
特許請求の範囲
【請求項1】
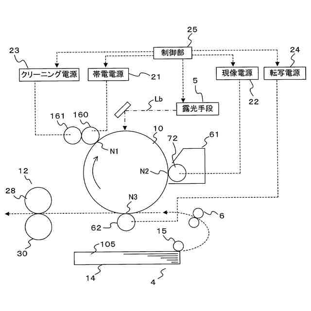
像担持体と、
前記像担持体と接触して帯電する帯電部材と、
前記帯電部材に電圧を印加する帯電電圧印加手段と、
トナーを前記像担持体に供給し、前記像担持体上にトナー像を形成する現像手段と、
前記像担持体と対向し、前記トナー像を被転写体に転写させる転写部材と、
前記転写部材に電圧を印加する転写電圧印加手段と、
画像印字中に、前記帯電部材に直流バイアスを印加して、転写後に前記像担持体上に残留した転写残トナーのうち正規帯電とは逆の極性に帯電した逆帯電トナーを前記帯電部材に移動させる第1回収動作と、非画像印字中に、前記帯電部材に移動した転写残トナーを前記帯電部材から前記像担持体、前記現像手段の順に移動させる第2回収動作とを制御する制御部と、を有し、
前記制御部は、前記第2回収動作において、下記(a)~(c)を行う
ことを特徴とする画像形成装置。
(a)前記転写部材への電圧の印加を停止、又は、画像印字中に前記転写部材に印加する電圧とは逆の極性の電圧を前記転写部材に印加するように前記転写電圧印加手段を制御し、前記帯電部材に印加する電圧の絶対値を画像印字中の前記帯電部材に印加する電圧の絶対値よりも小さくするように前記帯電電圧印加手段を制御することにより、正規極性とは逆の極性に帯電した逆帯電トナーを前記帯電部材から前記像担持体に移動させる。
(b)画像印字中に前記転写部材に印加する電圧と同じ極性の電圧を前記転写部材に印加するように前記転写電圧印加手段を制御し、前記像担持体の表面電位の絶対値を、前記転写部材と対向する位置の通過前の表面電位の絶対値よりも小さくするとともに、前記帯電部材に印加する電圧の絶対値を前記(a)のときよりも大きくするように前記帯電電圧印加手段を制御することにより、前記帯電部材と前記像担持体との間で放電を生じさせ、前記(a)により前記像担持体上に移動した逆帯電トナーを正規極性に帯電させる。
(c)前記(b)により正規極性に帯電した正規帯電トナーを前記現像手段に移動させる。
続きを表示(約 1,800 文字)
【請求項2】
前記制御部は、前記(b)において画像印字中に前記転写部材に印加する電圧と同じ極性の電圧を前記転写部材に印加する際、画像印字中に印加する電圧よりも低い電圧を前記転写部材に印加する
ことを特徴とする請求項1に記載の画像形成装置。
【請求項3】
前記制御部は、前記(b)において画像印字中に前記転写部材に印加する電圧と同じ極性の電圧を前記転写部材に印加する際、前記転写部材に印加する電圧の絶対値を750V以下とする
ことを特徴とする請求項1に記載の画像形成装置。
【請求項4】
前記転写部材を前記像担持体に対して接離させる接離機構を有し、
前記接離機構は、前記制御部によって制御され、
前記制御部は、前記(a)の制御を開始してから前記(b)の制御を行うまで前記転写部材を前記像担持体から離間させ、前記(b)を行う際に前記転写部材を前記像担持体に接触させる
ことを特徴とする請求項1に記載の画像形成装置。
【請求項5】
前記制御部は、画像印字と次の画像印字との間で前記(a)~(c)を行い、前記(a)~(c)が終了してから次の画像印字が行われ、画像印字と次の画像印字との間の期間に、所定の間隔で前記(a)~(c)を行う
ことを特徴とする請求項1に記載の画像形成装置。
【請求項6】
前記制御部は、さらに下記(d)及び(e)を行う
ことを特徴とする請求項1に記載の画像形成装置。
(d)画像印字中に前記転写部材に印加する電圧と逆の極性の電圧を前記転写部材に印加するように前記転写電圧印加手段を制御して、前記転写部材に付着し正規極性に帯電した正規帯電トナーを前記像担持体に移動させる。
(e)前記(d)により前記像担持体に移動した正規帯電トナーを前記現像手段に移動させる。
【請求項7】
前記制御部は、画像印字と次の画像印字との間で前記(d)及び(e)を行い、前記(d)及び(e)が終了してから次の画像印字が行われ、画像印字と次の画像印字との間の期間に、所定の間隔で前記(d)及び(e)を行う
ことを特徴とする請求項6に記載の画像形成装置。
【請求項8】
前記制御部は、当該画像形成装置の内部又は外部の絶対湿度に基づいて前記帯電部材に印加する電圧を制御する
ことを特徴とする請求項1に記載の画像形成装置。
【請求項9】
像担持体と、
前記像担持体と接触して帯電する帯電部材と、
トナーを前記像担持体に供給し、前記像担持体上にトナー像を形成する現像手段と、
前記像担持体と対向し、前記トナー像を被転写体に転写させる転写部材と、を有する画像形成装置が行う転写残トナーの回収方法であって、
画像印字中に、前記帯電部材に直流バイアスを印加して、転写後に前記像担持体上に残留した転写残トナーのうち正規帯電とは逆の極性に帯電した逆帯電トナーを前記帯電部材に移動させる第1回収工程と、
非画像印字中に、前記帯電部材に移動した転写残トナーを前記帯電部材から前記像担持体、前記現像手段の順に移動させる第2回収工程とを行うものであって、
前記第2回収工程において、下記(a)~(c)の工程を行うことを特徴とする転写残トナーの回収方法。
(a)前記転写部材への電圧の印加を停止、又は、画像印字中に前記転写部材に印加する電圧とは逆の極性の電圧を前記転写部材に印加し、前記帯電部材に印加する電圧の絶対値を画像印字中の前記帯電部材に印加する電圧の絶対値よりも小さくすることにより、正規極性とは逆の極性に帯電した逆帯電トナーを前記帯電部材から前記像担持体に移動させる。
(b)画像印字中に前記転写部材に印加する電圧と同じ極性の電圧を前記転写部材に印加し、前記像担持体の表面電位の絶対値を、前記転写部材と対向する位置の通過前の表面電位の絶対値よりも小さくするとともに、前記帯電部材に印加する電圧の絶対値を前記(a)のときよりも大きくすることにより、前記帯電部材と前記像担持体との間で放電を生じさせ、前記(a)により前記像担持体上に移動した逆帯電トナーを正規極性に帯電させる。
(c)前記(b)により正規極性に帯電した正規帯電トナーを前記現像手段に移動させる。
発明の詳細な説明
【技術分野】
【0001】
本発明は、画像形成装置及び転写残トナーの回収方法に関する。
続きを表示(約 2,500 文字)
【背景技術】
【0002】
電子写真方式の画像形成装置では、帯電ローラ等の帯電部材により感光体(像担持体)を帯電させ、現像手段によりトナーを感光体に供給し、感光体上のトナーを記録媒体又は中間転写体に転写することが知られている。
【0003】
従来の技術では、例えば感光体上に付着しているトナーをクリーニングブレード等のクリーニング手段で清掃することが知られている。近年、装置の小型化等の観点から、感光体のクリーニングを専用に行うクリーニング手段を備えない、いわゆるクリーナーレス方式が提案されている。
【0004】
クリーナーレス方式の画像形成装置では、転写後に感光体上に残留した転写残トナーを現像手段で回収するものが知られている。このようなクリーナーレス方式の画像形成装置では、転写残トナーを現像手段で回収し、再利用するため、廃トナーを抑制できる。このため、ユーザーメンテナンスが簡略化できるとともに、廃トナー収容器が不要となり、廃棄物を削減できる。
【0005】
特許文献1では、クリーニング装置を持たないトナー再利用型の画像形成装置が開示されている。特許文献1では、感光体と対向するローラとローラに外装されたスリーブを有する画像形成装置が開示されており、スリーブの形状のほか、ローラとスリーブの接離機構が検討されている。特許文献1によれば、像担持体からフィルミングを除去することができるとしている。また、特許文献1では、感光体を帯電させる帯電装置が有する帯電ブラシからトナーを移動させる制御が開示されている。
【0006】
特許文献2に開示されるクリーナレス方式の画像形成装置では、外添剤について検討がなされている。特許文献2によれば、長期にわたり異常画像の発生を抑制することができる。また、特許文献2では、例えば感光体の除電を行う除電装置を用いて、帯電部材からトナーを感光体に移動させる制御が開示されている。
【発明の概要】
【発明が解決しようとする課題】
【0007】
特許文献1では、印刷時にACバイアスを帯電部材に印加し、感光体の表面を帯電させている。そのため、正規極性に帯電した正規帯電トナーと、正規極性とは逆の極性に帯電した逆帯電トナーとの両方が帯電部材に付着する。このため、帯電部材に付着したトナーを感光体に移動させる際に、正規帯電トナーと逆帯電トナーの両方を感光体に移動させる工程がそれぞれ必要になり、工程数が多くなるという問題が生じる。この場合、制御にかかる時間が長くなるほか、感光体の走行距離が長くなってしまう。感光体の走行距離が長くなると、感光体の表面が削れてしまう等、感光体の寿命が短くなるという問題がある。
【0008】
特許文献2では、帯電部材に付着したトナーを感光体に移動させる制御が、特許文献1に比べて工程数が少なく、制御にかかる時間が短くなると期待できる。一方で、装置の更なる小型化などの要望から、感光体の表面の除電を行う除電装置の削減が求められている。除電装置は、例えば、帯電部材から感光体にトナーを移動させるために感光体の表面の電位を調整したり、帯電部材から感光体に移動したトナーの帯電を調整したりするなどの目的で用いられている。クリーナーレス方式の画像形成装置において、除電装置を削減することができれば、装置の更なる小型化、部材点数の低減、低コスト化が期待できる。
【0009】
そこで本発明は、帯電部材からトナーを移動させるための制御を短くすることができ、これにより像担持体の寿命が短くなることを抑制でき、像担持体の表面の除電を行う除電装置を削減可能であり、コストを低減できる画像形成装置を提供することを目的とする。
【課題を解決するための手段】
【0010】
上記課題を解決するために、本発明の画像形成装置は、
像担持体と、
前記像担持体と接触して帯電する帯電部材と、
前記帯電部材に電圧を印加する帯電電圧印加手段と、
トナーを前記像担持体に供給し、前記像担持体上にトナー像を形成する現像手段と、
前記像担持体と対向し、前記トナー像を被転写体に転写させる転写部材と、
前記転写部材に電圧を印加する転写電圧印加手段と、
画像印字中に、前記帯電部材に直流バイアスを印加して、転写後に前記像担持体上に残留した転写残トナーのうち正規帯電とは逆の極性に帯電した逆帯電トナーを前記帯電部材に移動させる第1回収動作と、非画像印字中に、前記帯電部材に移動した転写残トナーを前記帯電部材から前記像担持体、前記現像手段の順に移動させる第2回収動作とを制御する制御部と、を有し、
前記制御部は、前記第2回収動作において、下記(a)~(c)を行う
ことを特徴とする。
(a)前記転写部材への電圧の印加を停止、又は、画像印字中に前記転写部材に印加する電圧とは逆の極性の電圧を前記転写部材に印加するように前記転写電圧印加手段を制御し、前記帯電部材に印加する電圧の絶対値を画像印字中の前記帯電部材に印加する電圧の絶対値よりも小さくするように前記帯電電圧印加手段を制御することにより、正規極性とは逆の極性に帯電した逆帯電トナーを前記帯電部材から前記像担持体に移動させる。
(b)画像印字中に前記転写部材に印加する電圧と同じ極性の電圧を前記転写部材に印加するように前記転写電圧印加手段を制御し、前記像担持体の表面電位の絶対値を、前記転写部材と対向する位置の通過前の表面電位の絶対値よりも小さくするとともに、前記帯電部材に印加する電圧の絶対値を前記(a)のときよりも大きくするように前記帯電電圧印加手段を制御することにより、前記帯電部材と前記像担持体との間で放電を生じさせ、前記(a)により前記像担持体上に移動した逆帯電トナーを正規極性に帯電させる。
(c)前記(b)により正規極性に帯電した正規帯電トナーを前記現像手段に移動させる。
【発明の効果】
(【0011】以降は省略されています)
この特許をJ-PlatPat(特許庁公式サイト)で参照する
関連特許
株式会社リコー
画像形成装置
7日前
株式会社リコー
印刷システム
7日前
株式会社リコー
感熱記録媒体
4日前
株式会社リコー
画像形成装置
7日前
株式会社リコー
画像形成装置
3日前
株式会社リコー
画像形成装置
7日前
株式会社リコー
画像形成システム
3日前
株式会社リコー
生体情報測定装置
4日前
株式会社リコー
液体を吐出する装置
4日前
株式会社リコー
電極及びその製造方法
7日前
株式会社リコー
電極及びその製造方法
5日前
株式会社リコー
多孔質構造体の製造方法
7日前
株式会社リコー
印刷装置および印刷システム
3日前
株式会社リコー
パルスバルブおよび塗布装置
7日前
株式会社リコー
塗装システム、及び塗装方法
7日前
株式会社リコー
ファイル分析・保存システム
7日前
株式会社リコー
液体塗布装置および洗浄方法
7日前
株式会社リコー
後処理装置および画像形成装置
7日前
株式会社リコー
液体吐出装置及び液体吐出方法
3日前
株式会社リコー
定着装置、及び、画像形成装置
7日前
株式会社リコー
定着装置、及び、画像形成装置
7日前
株式会社リコー
システム、方法およびプログラム
3日前
株式会社リコー
液体吐出装置、及び液体吐出方法
7日前
株式会社リコー
レーザ照射装置、レーザ照射方法
7日前
株式会社リコー
パーソナライズビデオメカニズム
5日前
株式会社リコー
ベルト装置、及び、画像形成装置
3日前
株式会社リコー
液体吐出ヘッドおよび液体吐出装置
4日前
株式会社リコー
媒体処理装置及び画像形成システム
5日前
株式会社リコー
媒体処理装置及び画像形成システム
3日前
株式会社リコー
媒体処理装置及び画像形成システム
3日前
株式会社リコー
媒体処理装置及び画像形成システム
3日前
株式会社リコー
媒体処理装置及び画像形成システム
3日前
株式会社リコー
媒体処理装置及び画像形成システム
4日前
株式会社リコー
見積書作成装置、方法、プログラム
7日前
株式会社リコー
mRNA発現量の免疫学的評価方法
4日前
株式会社リコー
情報処理システム、及び情報処理方法
5日前
続きを見る
他の特許を見る