TOP
|
特許
|
意匠
|
商標
特許ウォッチ
Twitter
他の特許を見る
10個以上の画像は省略されています。
公開番号
2025144216
公報種別
公開特許公報(A)
公開日
2025-10-02
出願番号
2024043887
出願日
2024-03-19
発明の名称
発光ダイオードアレイ
出願人
株式会社東芝
代理人
弁理士法人鈴榮特許綜合事務所
主分類
H10H
20/855 20250101AFI20250925BHJP()
要約
【課題】光クロストーク現象が抑制された発光ダイオードアレイを提供すること。
【解決手段】実施形態によれば、基板と、基板上に配置された複数の発光ダイオード素子と、発光ダイオード素子を覆い、複数の開口を有する二層構造の遮光部材とを具備する発光ダイオードアレイが提供される。発光ダイオード素子は、発光電極を含む。複数の開口は、発光電極と各々重なる。遮光部材の発光ダイオード素子側の第1層の光に対する第1反射率は、第1層に対し遮光部材の裏側にある第2層の光に対する第2反射率より低い。
【選択図】 図1
特許請求の範囲
【請求項1】
基板と、
前記基板上に配置された発光電極を含む複数の発光ダイオード素子と、
前記発光ダイオード素子を覆い、前記発光電極と各々重なる複数の開口を有する二層構造の遮光部材と
を具備し、
前記遮光部材の前記発光ダイオード素子側の第1層の光に対する第1反射率は、前記第1層に対し前記遮光部材の裏側にある第2層の光に対する第2反射率より低い発光ダイオードアレイ。
続きを表示(約 660 文字)
【請求項2】
前記第1反射率は30%以下であり、前記第2反射率は70%以上である、請求項1に記載の発光ダイオードアレイ。
【請求項3】
前記開口の内側における前記第1層の側面を覆う、前記第2層と同一材料の膜を更に具備する、請求項1又は2に記載の発光ダイオードアレイ。
【請求項4】
前記発光ダイオード素子と前記遮光部材との間にサファイア板を更に具備する、請求項1又は2に記載の発光ダイオードアレイ。
【請求項5】
前記遮光部材が前記発光ダイオード素子毎に分割されている、請求項1又は2に記載の発光ダイオードアレイ。
【請求項6】
前記開口の内側における前記第1層の側面は凹凸構造を有する、請求項1又は2に記載の発光ダイオードアレイ。
【請求項7】
前記開口の前記第1層側の口径が前記開口の前記第2層側の口径より大きい、請求項1又は2に記載の発光ダイオードアレイ。
【請求項8】
前記第2層側から前記第1層側へ向かって前記開口が広がる様に前記遮光部材の内側面が傾斜している、請求項7に記載の発光ダイオードアレイ。
【請求項9】
前記開口における前記遮光部材の内側面は曲面形状を有する、請求項7に記載の発光ダイオードアレイ。
【請求項10】
前記発光ダイオード素子と前記遮光部材との間に密着層を更に具備する、請求項1又は2に記載の発光ダイオードアレイ。
(【請求項11】以降は省略されています)
発明の詳細な説明
【技術分野】
【0001】
本発明の実施形態は、発光ダイオードアレイに関する。
続きを表示(約 3,000 文字)
【背景技術】
【0002】
発光ダイオード(Light-Emitting Diode;LED)等の光源を複数配置した光源アレイ(array)は、例えば、ディスプレイ装置のバックライト等といった表示装置等の光源として用いられている。表示される画像や文字の解像度を向上させる目的でアレイ上の光源の微細化が進められ、例えば、マイクロLEDを用いたアレイがディスプレイ装置などの用途に普及している。
【0003】
LED素子などの光源の微細化が進んだことで、LEDアレイ等の光源アレイに高い指向性が要求されている。光源が発する光に指向性がなく光が放射状に出射すると、隣接する光源から出射した光同士が干渉する光クロストーク(crosstalk)現象が生じる。微細な光源がより密集して配置されているほど、光クロストークによる影響が顕著になる。理想的には、各光源から発せられる光がアレイの主面と直交する方向に直進し、隣接光と干渉しない。
【先行技術文献】
【特許文献】
【0004】
特開2002-49326号公報
特開2017-103351号公報
特開2019-152851号公報
特開2020-88383号公報
特開2020-181980号公報
【発明の概要】
【発明が解決しようとする課題】
【0005】
本発明の実施形態は、光クロストーク現象が抑制された発光ダイオードアレイを提供することを目的とする。
【課題を解決するための手段】
【0006】
実施形態によれば、基板と、基板上に配置された複数の発光ダイオード素子と、発光ダイオード素子を覆い、複数の開口を有する二層構造の遮光部材とを具備する発光ダイオードアレイが提供される。発光ダイオード素子は、発光電極を含む。複数の開口は、発光電極と各々重なる。遮光部材の発光ダイオード素子側の第1層の光に対する第1反射率は、第1層に対し遮光部材の裏側にある第2層の光に対する第2反射率より低い。
【図面の簡単な説明】
【0007】
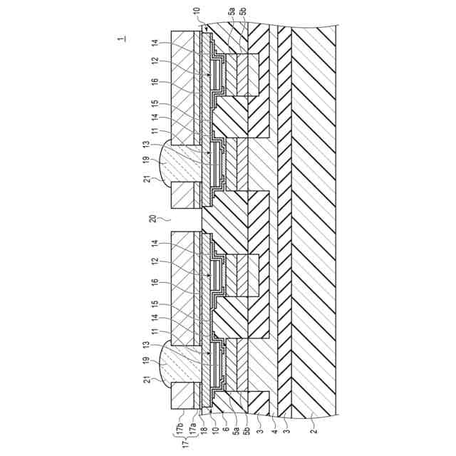
実施形態に係る発光ダイオードアレイの一例を表す概略断面図。
実施形態に係る発光ダイオードアレイの一例の一部を表す概略断面図。
実施形態に係る発光ダイオード素子の一例を表す部分透過図。
従来の発光ダイオードアレイの一例における発光を概念的に表す概略断面図。
従来の発光ダイオードアレイの他の例における発光を概念的に表す概略断面図。
実施形態に係る発光ダイオードアレイの一例における発光を概念的に表す概略断面図。
実施形態に係る発光ダイオードアレイの一例を表す部分透過図。
実施形態に係る発光ダイオードアレイの一例における発光を概念的に表す概略断面図。
実施形態に係る発光ダイオードアレイの他の例における発光を概念的に表す概略断面図。
実施形態に係る発光ダイオードアレイの変形例の一部を表す概略断面図。
実施形態に係る発光ダイオードアレイの他の変形例の一部を表す概略断面図。
実施形態に係る発光ダイオードアレイの製造の一例における一つの工程を表す概略断面図。
実施形態に係る発光ダイオードアレイの製造の一例における他の工程を表す概略断面図。
実施形態に係る発光ダイオードアレイの製造の一例における他の工程を表す概略断面図。
実施形態に係る発光ダイオードアレイの製造の一例における他の工程を表す概略断面図。
実施形態に係る発光ダイオードアレイの製造の一例における他の工程を表す概略断面図。
実施形態に係る発光ダイオードアレイの製造の一例における他の工程を表す概略断面図。
実施形態に係る発光ダイオードアレイの製造の一例における他の工程を表す概略断面図。
実施形態に係る発光ダイオードアレイの製造の一例における他の工程を表す概略断面図。
実施形態に係る発光ダイオードアレイの製造の一例における他の工程を表す概略断面図。
実施形態に係る発光ダイオードアレイの製造の一例における他の工程を表す概略断面図。
実施形態に係る発光ダイオードアレイの製造の変形例における一つの工程を表す概略断面図。
実施形態に係る発光ダイオードアレイの製造の変形例における他の工程を表す概略断面図。
実施形態に係る発光ダイオードアレイの製造の変形例における他の工程を表す概略断面図。
実施形態に係る発光ダイオードアレイの製造の変形例における他の工程を表す概略断面図。
実施形態に係る発光ダイオードアレイの製造の変形例における他の工程を表す概略断面図。
実施形態に係る発光ダイオード素子の他の変形例の一部を表す概略断面図。
図27に示す変形例における発光の概念を表す概略断面図。
実施形態に係る発光ダイオード素子の他の変形例の一部を表す概略断面図。
実施形態に係る発光ダイオード素子の他の変形例の一部を表す概略断面図。
図29に示す変形例における発光の概念を表す概略断面図。
図30に示す変形例における発光の概念を表す概略断面図。
実施形態に係る発光ダイオードアレイの他の製造の変形例における一つの工程を表す概略断面図。
実施形態に係る発光ダイオードアレイの他の製造の変形例における一つの工程を表す概略断面図。
【発明を実施するための形態】
【0008】
発光ダイオード(LED)アレイにおけるLEDより出射した光の光クロストークに対する対策として、例えば、遮光材が用いられている。遮光材から成る層をLEDアレイの表面に設け、LED光源の位置で遮光材の層に開口を設けることで、指向性がある程度定まった出射光のみ開口部分を通過させることで、光クロストークを低減する。また、開口部分をマイクロレンズで覆うことで、開口を通過する光の指向性をさらに高めることができる。
【0009】
しかし、紫外光を発するLEDを用いた場合は、LEDから出射した紫外光が遮光材の裏側にある部材を透過することができるため、反射と透過を繰り返して隣接するLED上の開口まで到達し得る。従って、単純に遮光材を利用しただけでは紫外光LEDを使用したLEDアレイにおける光クロストークの抑制が不十分であった。また、可視光を発するLEDを用いた場合でも、短波長の光を発するLEDと薄い部材を用いた場合にも光が透過するおそれがあり、同様の理由で光クロストークの懸念がある。
【0010】
実施形態によれば、発光ダイオードアレイが提供される。発光ダイオードアレイは、基板と、基板上に配置された複数の発光ダイオード素子と、発光ダイオード素子を覆う二層構造の遮光部材とを具備する。発光ダイオード素子は、発光電極を含む。遮光部材は、各発光電極と各々重なる複数の開口を有する。遮光部材の発光ダイオード素子側の第1層の光に対する第1反射率は、第1層に対し遮光部材の裏側にある第2層の光に対する第2反射率より低い。
(【0011】以降は省略されています)
この特許をJ-PlatPat(特許庁公式サイト)で参照する
関連特許
株式会社東芝
固定子
1か月前
株式会社東芝
センサ
1か月前
株式会社東芝
モータ
12日前
株式会社東芝
センサ
17日前
株式会社東芝
センサ
17日前
株式会社東芝
回路素子
2か月前
株式会社東芝
吸音装置
12日前
株式会社東芝
電子装置
11日前
株式会社東芝
金型構造
17日前
株式会社東芝
ドア構造
1か月前
株式会社東芝
電動送風機
1か月前
株式会社東芝
半導体装置
24日前
株式会社東芝
ラック装置
1か月前
株式会社東芝
半導体装置
14日前
株式会社東芝
半導体装置
14日前
株式会社東芝
半導体装置
26日前
株式会社東芝
半導体装置
14日前
株式会社東芝
半導体装置
14日前
株式会社東芝
半導体装置
14日前
株式会社東芝
粒子加速器
11日前
株式会社東芝
半導体装置
14日前
株式会社東芝
半導体装置
14日前
株式会社東芝
ディスク装置
14日前
株式会社東芝
ディスク装置
14日前
株式会社東芝
電子デバイス
12日前
株式会社東芝
海水用構造体
24日前
株式会社東芝
重量測定装置
10日前
株式会社東芝
電子デバイス
12日前
株式会社東芝
電子デバイス
12日前
株式会社東芝
ディスク装置
1か月前
株式会社東芝
走行システム
1か月前
株式会社東芝
音響制御装置
10日前
株式会社東芝
熱電変換装置
12日前
株式会社東芝
計測システム
2か月前
株式会社東芝
ディスク装置
1か月前
株式会社東芝
異常検出装置
2か月前
続きを見る
他の特許を見る