TOP
|
特許
|
意匠
|
商標
特許ウォッチ
Twitter
他の特許を見る
公開番号
2025144438
公報種別
公開特許公報(A)
公開日
2025-10-02
出願番号
2024044207
出願日
2024-03-19
発明の名称
通信端末、撮影システム、撮影方法、及びプログラム
出願人
株式会社リコー
代理人
個人
,
個人
主分類
H04N
5/92 20060101AFI20250925BHJP(電気通信技術)
要約
【課題】撮影することで得られた複数の画像の選別するにあたって、複数の画像を撮影場所毎に区分する手間を軽減することを目的とする。
【解決手段】本開示は、撮影装置によって撮影されることで得られた映像を受信し、当該映像からの取込みにより得た画像を記憶する通信端末であって、前記撮影装置が撮影する撮影場所の設定を受け付けた後に、前記取込みの実行を受け付ける受付部と、前記取込みにより得られた前記画像、及び前記撮影場所を示す場所情報を関連付けて記憶部に記憶する記憶制御部と、前記撮影場所における前記画像が前記記憶部に記憶された際に、前記撮影場所を示す場所情報に関連付けられている画像を表示部に表示する表示制御部と、を有する通信端末である。
【選択図】図22
特許請求の範囲
【請求項1】
撮影装置によって撮影されることで得られた映像を受信し、当該映像からの取込みにより得た画像を記憶する通信端末であって、
前記撮影装置が撮影する撮影場所の設定を受け付けた後に、前記取込みの実行を受け付ける受付部と、
前記取込みにより得られた前記画像、及び前記撮影場所を示す場所情報を関連付けて記憶部に記憶する記憶制御部と、
前記撮影場所における前記画像が前記記憶部に記憶された際に、前記撮影場所を示す場所情報に関連付けられている画像を表示部に表示する表示制御部と、
を有する通信端末。
続きを表示(約 1,600 文字)
【請求項2】
前記記憶制御部は、複数回の前記取込みにより複数の画像が得られた場合、当該複数の画像同士及び前記場所情報を関連付けて前記記憶部に記憶する、請求項1に記載の通信端末。
【請求項3】
前記表示制御部は、前記撮影場所に関して前記複数の画像を表示する、請求項2に記載の通信端末。
【請求項4】
前記受付部が、予め関連付けられた第1の撮影場所及び第2の撮影場所の設定を受け付けた後、前記記憶制御部は、前記第1の撮影場所に関する映像からの取込みにより得られた第1の画像、及び前記第2の撮影場所に関する映像からの取込みにより得られた第2の画像を関連付けて前記記憶部に記憶する、請求項1に記載の通信端末。
【請求項5】
請求項1に記載の通信端末であって、
前記受付部は、前記撮影場所を設定するための撮影場所設定画面において前記撮影場所の設定を受け付け、
前記表示制御部は、前記撮影場所設定画面から遷移することで、前記取込みの実行を受け付けるための受付画面を表示し、
前記受付部が、前記受付画面において前記取込みの実行を受け付けることにより、前記記憶制御部は、前記取込みにより得られた画像を前記場所情報に関連付けて前記記憶部に記憶する、
通信端末。
【請求項6】
前記記憶制御部は、所定のタイミングで前記取込みにより得られた画像を基準画像として前記場所情報に関連付けて前記記憶部に記憶し、
前記受付部は、前記基準画像における所定位置を受け付け、
前記記憶制御部は、前記所定のタイミング後に前記取込みにより得られた画像を前記基準画像の関連画像として、前記基準画像に関連付けて前記記憶部に記憶する、
請求項1に記載の通信端末。
【請求項7】
請求項6に記載の通信端末であって、
前記表示制御部は、前記受付部が受け付けた前記基準画像における所定位置を示す位置情報を表示し、
前記受付部は、前記所定のタイミング後に前記位置情報の指定を受け付け、
前記表示制御部は、前記記憶制御部が前記関連画像を前記基準画像に関連付けて前記記憶部に記憶する際に、前記位置情報の表示態様を変更する、
通信端末。
【請求項8】
請求項1乃至7のいずれか一項に記載の通信端末と、
前記撮影装置と、
を有する撮影システム。
【請求項9】
撮影装置によって撮影されることで得られた映像を受信し、当該映像からの取込みにより得た画像を記憶する通信端末が実行する撮影方法であって、
前記撮影装置が撮影する撮影場所の設定を受け付けた後に、前記取込みの実行を受け付ける受付処理と、
前記取込みにより得られた前記画像、及び前記撮影場所を示す場所情報を関連付けて記憶部に記憶する記憶制御処理と、
前記撮影場所における前記画像が前記記憶部に記憶された際に、前記撮影場所を示す場所情報に関連付けられている画像を表示部に表示する表示制御部と、
を実行する撮影方法。
【請求項10】
撮影装置によって撮影されることで得られた映像を受信し、当該映像からの取込みにより得た画像を記憶させるためのプログラムであって、
コンピュータに、
前記撮影装置が撮影する撮影場所の設定を受け付けた後に、前記取込みの実行を受け付ける受付処理と、
前記取込みにより得られた前記画像、及び前記撮影場所を示す場所情報を関連付けて記憶部に記憶する記憶制御処理と、
前記撮影場所における前記画像が前記記憶部に記憶された際に、前記撮影場所を示す場所情報に関連付けられている画像を表示部に表示する表示制御部と、
を実行させるプログラム。
発明の詳細な説明
【技術分野】
【0001】
本開示は、通信端末、撮影システム、撮影方法、及びプログラムに関する。
続きを表示(約 2,700 文字)
【背景技術】
【0002】
通常の画角では確認しきれないような箇所も含む撮像範囲として、例えば360度の全周囲が撮像された360度画像(全天球画像、全方位画像、全周囲画像ともいう)等の広い視野角を有する広視野の画像(以下「広視野画像」と示す。)が知られている。このような広視野画像の全てを表示端末で表示させようとすると、広視野画像が湾曲して見えづらいため、各ユーザは同じ広視野画像において所望の所定領域を示す所定領域画像を表示して閲覧している。
【0003】
また、近年、不動産業者がインターネットを介して不動産物件の間取り図及び広視野画像を閲覧可能な物件紹介サイトを構築することで、購入希望者が実際に不動産物件の現場に行かなくても、おおよその物件内容を把握することができるようになった(特許文献1参照)。この場合、不動産業者は、各物件の現場に出向いて、カメラ等の撮影装置により各部屋を撮影して複数の画像を得た後、自社で複数の画像を整理して、各物件の各部屋の画像を区分すると共に、物件紹介サイトに掲示すべき写りが良い画像を選別している。
【発明の概要】
【発明が解決しようとする課題】
【0004】
しかしながら、不動産業者が、画像を選別する際に、画像が複数あるため、複数の画像のそれぞれがどの部屋(撮影場所)の画像であるが分からなくなる場合がある。また、そのために、不動産業者が、物件の部屋毎にフォルダを作成してもよいが、部屋が多数ある物件の場合には、部屋毎にフォルダを作成しなければならず、手間が掛かってしまう。
【0005】
本開示は、撮影することで得られた複数の画像の選別するにあたって、複数の画像を撮影場所毎に区分する手間を軽減することを目的とする。
【課題を解決するための手段】
【0006】
本開示は、撮影装置によって撮影されることで得られた映像を受信し、当該映像からの取込みにより得た画像を記憶する通信端末であって、前記撮影装置が撮影する撮影場所の設定を受け付けた後に、前記取込みの実行を受け付ける受付部と、前記取込みにより得られた前記画像、及び前記撮影場所を示す場所情報を関連付けて記憶部に記憶する記憶制御部と、前記撮影場所における前記画像が前記記憶部に記憶された際に、前記撮影場所を示す場所情報に関連付けられている画像を表示部に表示する表示制御部と、を有する通信端末である。
【発明の効果】
【0007】
以上説明したように本開示によれば、撮影することで得られた複数の画像の選別するにあたって、複数の画像を撮影場所毎に区分する手間を軽減することができるという効果を奏する。
【図面の簡単な説明】
【0008】
(a)は撮影装置の左側面図であり、(b)は撮影装置の正面図であり、(c)は撮影装置の平面図である。
撮影装置の使用イメージ図である。
(a)は撮影装置で撮影された半球画像(前)、(b)は撮影装置で撮影された半球画像(後)、(c)はメルカトル図法により表された画像を示した図である。
(a)メルカトル画像で球を被う状態を示した概念図、(b)全天球画像を示した図である。
全天球画像を3次元の立体球とした場合の仮想カメラ及び所定領域の位置を示した図である。
(a)は図5の立体斜視図、(b)は(a)の状態の所定領域画像がディスプレイに表示されている図、(c)は(a)における仮想カメラICの視点を変更後の所定領域を示した図、(d)は(c)の状態の所定領域画像がディスプレイに表示されている図である。
球座標による三次元ユークリッド空間内の点を示した図である。
所定領域と注目点との関係を示した概念図である。
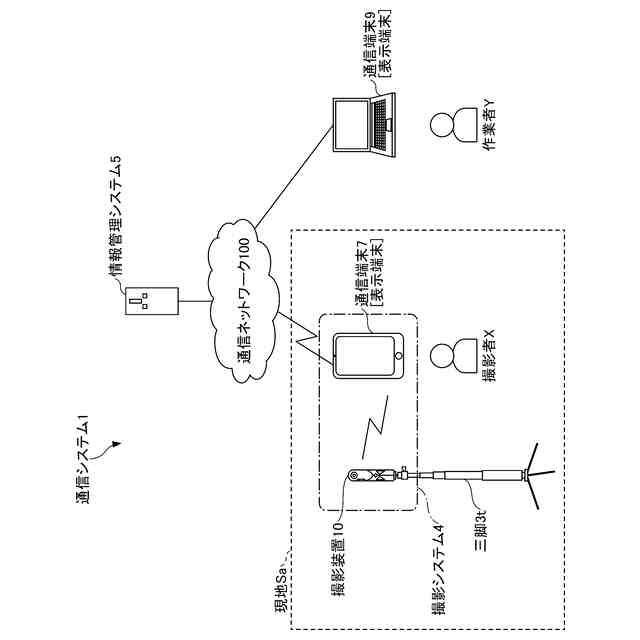
本発明の実施形態に係る通信システムの概略図である。
撮影装置のハードウェア構成図である。
情報管理システム及び通信端末のハードウェア構成図である。
実施形態に係る通信システムの各機能構成図である。
第1の実施形態に係る物件情報管理DBの概念図である。
通信システムにおいてコンテンツデータの通信処理を示したシーケンス図である。
第1の実施形態に係る画像登録処理を示すフローチャートである。
第1の実施形態に係る画像登録処理を示すフローチャートである。
第1の実施形態に係る通信端末7が表示する画面例を示す図である。
第1の実施形態に係る通信端末7が表示する画面例を示す図である。
第1の実施形態に係る通信端末7が表示する画面例を示す図である。
第1の実施形態に係る通信端末7が表示する画面例を示す図である。
第1の実施形態に係る通信端末7が表示する画面例を示す図である。
第1の実施形態に係る通信端末7が表示する画面例を示す図である。
第1の実施形態に係る通信端末7が表示する画面例を示す図である。
第1の実施形態に係る通信端末7が表示する画面例を示す図である。
複数の取込み画像のパスを示す図である。
第2の実施形態に係る物件情報管理DBの概念図である。
第2の実施形態に係る画像登録処理を示すフローチャートである。
第2の実施形態に係る画像登録処理を示すフローチャートである。
第2の実施形態に係る通信端末7が表示する画面例を示す図である。
第2の実施形態に係る通信端末7が表示する画面例を示す図である。
基準となる広視野画像(基準画像)に対して撮影予定の位置を示す図である。
第2の実施形態に係る通信端末7が表示する画面例を示す図である。
第2の実施形態に係る通信端末7が表示する画面例を示す図である。
第2の実施形態に係る通信端末7が表示する画面例を示す図である。
【発明を実施するための形態】
【0009】
以下、図面を用いて、本発明の実施形態について説明する。
【0010】
〔全天球画像の概要〕
図1乃至図8を用いて、全天球画像の生成方法について説明する。なお、全天球画像は、全天球パノラマ画像、360°パノラマ画像とも言われ、広範囲の視野角を有する広視野動画の一例である。広視野画像には、180°程度の単なるパノラマ画像も含まれる。なお、広視野画像は動画(広視野動画)であっても静止画(広視野静止画)であってもよい。
(【0011】以降は省略されています)
この特許をJ-PlatPat(特許庁公式サイト)で参照する
関連特許
株式会社リコー
綴じ装置
1か月前
株式会社リコー
液体吐出装置
1か月前
株式会社リコー
画像形成装置
9日前
株式会社リコー
画像形成装置
24日前
株式会社リコー
印刷システム
6日前
株式会社リコー
画像形成装置
1か月前
株式会社リコー
画像形成装置
2日前
株式会社リコー
画像形成装置
1か月前
株式会社リコー
履帯式走行体
1か月前
株式会社リコー
画像形成装置
6日前
株式会社リコー
画像形成装置
1か月前
株式会社リコー
画像形成装置
1か月前
株式会社リコー
映像表示装置
27日前
株式会社リコー
液体塗布装置
10日前
株式会社リコー
画像形成装置
25日前
株式会社リコー
画像形成装置
6日前
株式会社リコー
画像形成装置
6日前
株式会社リコー
感熱記録媒体
3日前
株式会社リコー
画像形成装置
17日前
株式会社リコー
拡張アンテナ装置
9日前
株式会社リコー
情報処理システム
27日前
株式会社リコー
画像形成システム
2日前
株式会社リコー
画像投射システム
17日前
株式会社リコー
投薬管理システム
25日前
株式会社リコー
印刷応答補償機構
10日前
株式会社リコー
生体情報測定装置
3日前
株式会社リコー
カラー画像形成装置
1か月前
株式会社リコー
液体を吐出する装置
3日前
株式会社リコー
マーキングシステム
9日前
株式会社リコー
電極及びその製造方法
4日前
株式会社リコー
電極及びその製造方法
6日前
株式会社リコー
測定装置および測定方法
26日前
株式会社リコー
測定装置および測定方法
26日前
株式会社リコー
多孔質構造体の製造方法
6日前
株式会社リコー
測定装置および測定方法
26日前
株式会社リコー
定着装置及び画像形成装置
16日前
続きを見る
他の特許を見る