TOP
|
特許
|
意匠
|
商標
特許ウォッチ
Twitter
他の特許を見る
10個以上の画像は省略されています。
公開番号
2025144752
公報種別
公開特許公報(A)
公開日
2025-10-03
出願番号
2024044590
出願日
2024-03-21
発明の名称
位相同期回路及びクロックデータリカバリ回路
出願人
ローム株式会社
代理人
弁理士法人太陽国際特許事務所
主分類
H03L
7/087 20060101AFI20250926BHJP(基本電子回路)
要約
【課題】本開示は、充放電電流を位相差に関わらず一定値とした場合と比較して、ジッタの抑制と応答性の向上とを両立することができる位相同期回路及びクロックデータリカバリ回路を提供することを目的とする。
【解決手段】位相同期回路は、隣接するクロック信号の位相を比較した結果に基づいて、複数のアップ信号及び複数のダウン信号を生成する位相比較回路と、前記複数のアップ信号に応じた複数の充電電流により電荷を充電して制御電圧を昇圧させ、前記複数のダウン信号に応じた複数の放電電流により前記電荷を放電して前記制御電圧を降圧させるチャージポンプと、前記制御電圧に応じて、前記クロック信号の周波数を制御する電圧制御発振器と、を備える。
【選択図】図10
特許請求の範囲
【請求項1】
隣接するクロック信号の位相を比較した結果に基づいて、複数のアップ信号及び複数のダウン信号を生成する位相比較回路と、
前記複数のアップ信号に応じた複数の充電電流により電荷を充電して制御電圧を昇圧させ、前記複数のダウン信号に応じた複数の放電電流により前記電荷を放電して前記制御電圧を降圧させるチャージポンプと、
前記制御電圧に応じて、前記クロック信号の周波数を制御する電圧制御発振器と、
を備える、位相同期回路。
続きを表示(約 1,000 文字)
【請求項2】
前記位相比較回路は、生成した前記複数のアップ信号及び前記複数のダウン信号を全て前記チャージポンプへ出力する、
請求項1に記載の位相同期回路。
【請求項3】
前記チャージポンプは、各々が、前記複数のアップ信号のうちのいずれかに応じて前記複数の充電電流のうちのいずれかを流し、前記複数のダウン信号のうちのいずれかに応じて前記複数の放電電流のうちのいずれかを流す複数の電流パスを有する、
請求項2に記載の位相同期回路。
【請求項4】
前記複数の電流パスの各々は、
正電源に接続されてバイアス電流を流す第1のトランジスタと、
前記第1のトランジスタと前記制御電圧が印加される端子との間に接続されて、前記複数のアップ信号のうちの一つのアップ信号に応じてスイッチングする第2のトランジスタと、
基準電位に接続されてバイアス電流を流す第3のトランジスタと、
前記第3のトランジスタと前記端子との間に接続されて、前記複数のダウン信号のうちの一つのダウン信号に応じてスイッチングする第4のトランジスタと、
を含む、
請求項3に記載の位相同期回路。
【請求項5】
前記複数の充電電流の各々は、前記複数のアップ信号の論理和からなる論理和アップ信号に応じた単一の充電電流よりも電流値が小さい、
請求項1に記載の位相同期回路。
【請求項6】
前記複数の放電電流の各々は、前記複数のダウン信号の論理和からなる論理和ダウン信号に応じた単一の放電電流よりも電流値が小さい、
請求項1に記載の位相同期回路。
【請求項7】
請求項1から6のいずれか一項に記載の位相同期回路を備えた、
クロックデータリカバリ回路。
【請求項8】
受信した入力信号を前記クロック信号のタイミングでラッチして出力するフリップフロップを更に備える、
請求項7に記載のクロックデータリカバリ回路。
【請求項9】
前記位相比較回路は、前記入力信号の単位データ周期における中央付近で立ち上がる前記クロック信号と、前記入力信号の単位データ周期におけるエッジ付近で立ち上がる前記クロック信号との位相を比較する、
請求項8に記載のクロックデータリカバリ回路。
発明の詳細な説明
【技術分野】
【0001】
本開示の技術は、位相同期回路及びクロックデータリカバリ回路に関する。
続きを表示(約 1,800 文字)
【背景技術】
【0002】
特許文献1には「論理和信号生成回路(15)は、複数のアップ信号の論理和からなる第1論理和信号(UPOUT)と、複数のダウン信号の論理和からなる第2論理和信号(DNOUT)とを生成する。チャージポンプ(16)は、第1論理和信号に基づいて電荷をチャージし、第2論理和信号に基づいて電荷をディスチャージして、位相制御電圧(CTRL)を生成する。」と記載されている。
【先行技術文献】
【特許文献】
【0003】
特開2016-116012号公報
【発明の概要】
【発明が解決しようとする課題】
【0004】
特許文献1に示される従来の技術では、複数のアップ信号の論理和が最終的なアップ信号となり、複数のダウン信号の論理和が最終的なダウン信号となる。このような従来の技術では、最終的なアップ信号が出力し続けている場合に一定の充電電流が流れ続け、最終的なダウン信号が出力し続けている場合に一定の放電電流が流れ続ける。すなわち、従来の技術では、充放電電流は位相差に関わらず一定値となる。
【0005】
ここで、充放電電流が小さいほどクロック信号のジッタを小さくすることができるが、充放電電流が小さいほど位相同期回路の応答が遅くなってしまう。すなわち、両者はトレードオフの関係にある。したがって、ジッタの抑制と応答性の向上とを両立することが望まれている。
【0006】
そこで、本開示は、充放電電流を位相差に関わらず一定値とした場合と比較して、ジッタの抑制と応答性の向上とを両立することができる位相同期回路及びクロックデータリカバリ回路を提供することを目的とする。
【課題を解決するための手段】
【0007】
本開示に係る位相同期回路は、隣接するクロック信号の位相を比較した結果に基づいて、複数のアップ信号及び複数のダウン信号を生成する位相比較回路と、前記複数のアップ信号に応じた複数の充電電流により電荷を充電して制御電圧を昇圧させ、前記複数のダウン信号に応じた複数の放電電流により前記電荷を放電して前記制御電圧を降圧させるチャージポンプと、前記制御電圧に応じて、前記クロック信号の周波数を制御する電圧制御発振器と、を備える。
【図面の簡単な説明】
【0008】
背景技術に係る表示装置10の構成の一例を示す図である。
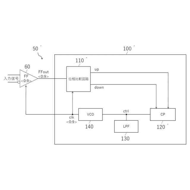
従来例に係るクロックデータリカバリ回路50´の機能構成を示す図である。
従来例に係る位相比較回路110´の回路構成を示す図である。
従来例に係るチャージポンプ120´の回路構成を示す図である。
従来例に係る位相比較回路110´の動作波形を示す図である。
従来例に係る位相比較回路110´がアップ信号を出力する場合における動作波形を示す図である。
従来例に係る位相比較回路110´がダウン信号を出力する場合における動作波形を示す図である。
従来例に係るアップ信号と充電電流との関係を示す図である。
従来例に係る課題を説明する図である。
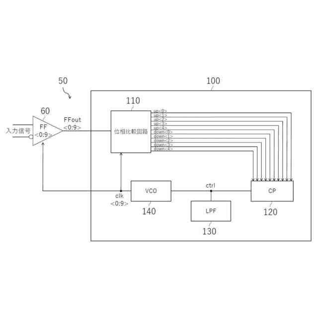
本実施形態に係るクロックデータリカバリ回路50の機能構成の一例を示す図である。
本実施形態に係る位相比較回路110の回路構成の一例を示す図である。
本実施形態に係るチャージポンプ120の回路構成の一例を示す図である。
本実施形態に係るアップ信号と充電電流との関係の一例を示す図である。
従来例と本実施形態との比較結果の一例を示す図である。
【発明を実施するための形態】
【0009】
以下、本開示の技術の実施形態の一例を、図面を参照しつつ説明する。なお、各図面において同一又は等価な構成要素及び部分には同一の参照符号を付与している。また、図面の寸法比率は、説明の都合上誇張されている場合があり、実際の比率とは異なる場合がある。
【0010】
なお、これより先「接続」という用語が用いられる場合、当該用語は、電気的な接続を意味するものであって、直接的な接続のみならず、間接的な接続(例えば、受動部品を介した接続)をも含むものと広義に解釈されてよい。
(【0011】以降は省略されています)
この特許をJ-PlatPat(特許庁公式サイト)で参照する
関連特許
ローム株式会社
タイマ
11日前
ローム株式会社
電子装置
7日前
ローム株式会社
監視回路
7日前
ローム株式会社
発振回路
7日前
ローム株式会社
発振回路
1か月前
ローム株式会社
半導体装置
3日前
ローム株式会社
半導体装置
5日前
ローム株式会社
半導体装置
5日前
ローム株式会社
半導体装置
5日前
ローム株式会社
半導体装置
26日前
ローム株式会社
半導体装置
3日前
ローム株式会社
半導体装置
7日前
ローム株式会社
半導体装置
26日前
ローム株式会社
半導体装置
18日前
ローム株式会社
半導体装置
7日前
ローム株式会社
半導体装置
17日前
ローム株式会社
メモリ装置
7日前
ローム株式会社
半導体装置
11日前
ローム株式会社
半導体装置
26日前
ローム株式会社
半導体装置
5日前
ローム株式会社
半導体装置
27日前
ローム株式会社
入出力回路
28日前
ローム株式会社
照度センサ
1か月前
ローム株式会社
圧電共振器
28日前
ローム株式会社
半導体装置
3日前
ローム株式会社
半導体装置
3日前
ローム株式会社
半導体装置
1か月前
ローム株式会社
メモリ装置
3日前
ローム株式会社
基準電圧源
28日前
ローム株式会社
半導体装置
3日前
ローム株式会社
信号出力回路
17日前
ローム株式会社
信号出力回路
17日前
ローム株式会社
信号出力回路
3日前
ローム株式会社
MEMSセンサ
27日前
ローム株式会社
半導体記憶装置
10日前
ローム株式会社
電圧制御発振器
27日前
続きを見る
他の特許を見る