TOP
|
特許
|
意匠
|
商標
特許ウォッチ
Twitter
他の特許を見る
公開番号
2025144765
公報種別
公開特許公報(A)
公開日
2025-10-03
出願番号
2024044605
出願日
2024-03-21
発明の名称
プロジェクター
出願人
セイコーエプソン株式会社
代理人
個人
,
個人
,
個人
主分類
G03B
21/14 20060101AFI20250926BHJP(写真;映画;光波以外の波を使用する類似技術;電子写真;ホログラフイ)
要約
【課題】プロジェクターにおいて、導光素子よりも後段に配置されている光学素子及び部品にかかる熱負荷を抑える。
【解決手段】実施形態のプロジェクターは、第1波長帯の第1光を射出する第1光源と、第1光源から射出される第1光が入射する第1入射端と第1光を射出する第1射出端とを有する第1導光素子と、第1導光素子から射出される第1光の第1偏光成分を画像情報に基づいて変調する第1光変調素子と、第1光変調素子から射出される光を投射する投射光学系と、を備える。第1導光素子は、第1基材と、第1基材において第1導光素子の内面を形成する第1面に配置された第1反射膜と、を有し、第1反射膜は第1偏光成分を反射し、第1光の第2偏光成分を透過し、第1反射膜で反射される第1偏光成分は第1射出端から射出される。
【選択図】図2
特許請求の範囲
【請求項1】
第1波長帯の第1光を射出する第1光源と、
前記第1光源から射出される前記第1光が入射する第1入射端と前記第1光を射出する第1射出端とを有する第1導光素子と、
前記第1導光素子から射出される前記第1光の第1偏光成分を画像情報に基づいて変調する第1光変調素子と、
前記第1光変調素子から射出される光を投射する投射光学系と、
を備え、
前記第1導光素子は、
第1基材と、
前記第1基材において前記第1導光素子の内面を形成する第1面に配置された第1反射膜と、
を有し、
前記第1反射膜は前記第1偏光成分を反射し、前記第1光の第2偏光成分を透過し、
前記第1反射膜で反射される前記第1偏光成分は前記第1射出端から射出される、
プロジェクター。
続きを表示(約 1,200 文字)
【請求項2】
第2波長帯の第2光を射出する第2光源と、
第3波長帯の第3光を射出する第3光源と、
前記第2光源から射出される前記第2光が入射する第2入射端と前記第2光を射出する第2射出端とを有する第2導光素子と、
前記第3光源から射出される前記第3光が入射する第3入射端と前記第3光を射出する第3射出端とを有する第3導光素子と、
前記第2導光素子から射出される前記第2光を画像情報に基づいて変調する第2光変調素子と、
前記第3導光素子から射出される前記第3光を画像情報に基づいて変調する第3光変調素子と、
前記第1光変調素子から射出される光と前記第2光変調素子から射出される光と前記第3光変調素子から射出される光とを合成する光合成素子と、
をさらに備える、
請求項1に記載のプロジェクター。
【請求項3】
前記第1導光素子の前記第1光の光軸に直交する断面形状は矩形状である、
請求項1又は請求項2に記載のプロジェクター。
【請求項4】
前記第1反射膜はダイクロイック膜であり、
前記ダイクロイック膜は前記第1波長帯に含まれる第4波長帯の光を反射する、
請求項1又は請求項2に記載のプロジェクター。
【請求項5】
前記第1射出端の断面積は前記第1入射端の断面積より大きい、
請求項1又は請求項2に記載のプロジェクター。
【請求項6】
前記第1導光素子の前記第1光の光軸に沿った方向での中心よりも前記第1入射端側の前記第1反射膜の膜厚は、前記中心よりも前記第1射出端側の前記第1反射膜の膜厚よりも小さい、
請求項5に記載のプロジェクター。
【請求項7】
前記第1導光素子の前記第1光の光軸に沿った方向において、前記第1射出端側の前記第1反射膜に入射する前記第1光の入射角は、前記第1入射端側の前記第1反射膜に入射する前記第1光の入射角よりも大きい、
請求項6に記載のプロジェクター。
【請求項8】
前記第1導光素子と前記第1光変調素子との間に配置された入射側偏光板をさらに備える、
請求項1又は請求項2に記載のプロジェクター。
【請求項9】
前記第1導光素子は第1吸収層をさらに有し、
前記第1吸収層は前記第1基材の前記第1面とは反対側の第2面に配置され、前記第1反射膜を透過する前記第2偏光成分を吸収する、
請求項1又は請求項2に記載のプロジェクター。
【請求項10】
前記第1基材は前記第1反射膜を透過する前記第2偏光成分を吸収する、
請求項1又は請求項2に記載のプロジェクター。
(【請求項11】以降は省略されています)
発明の詳細な説明
【技術分野】
【0001】
本発明は、プロジェクターに関する。
続きを表示(約 2,200 文字)
【背景技術】
【0002】
従来、色光を射出する光源と、光源から射出される色光から画像光を生成する光変調素子と、光変調素子から射出される画像光を投射する投射光学系と、を備えるプロジェクターが知られている。プロジェクターには、光源及び光変調素子の数に応じて、例えば、単板式や3板式等の種類がある。
【0003】
例えば、特許文献1には、光源の発光素子として複数の発光ダイオード(Light Emitting Diode;LED)が用いられたプロジェクターが開示されている。特許文献1に開示されているプロジェクターでは、各々のLEDから射出される色光がブロックを通った後に互いに同方向の経路上に重ねられ、光変調素子によって画像光に変調され、投射レンズによって投射される。各々のブロックの射出端から射出される色光の明るさは、光軸に交差する面内で均一化される。複数のブロックから射出される色光は、複数のLEDからの光を互いに合成するためのダイクロイックプリズムに入射する。
【先行技術文献】
【特許文献】
【0004】
特願平10-361256号公報
【発明の概要】
【発明が解決しようとする課題】
【0005】
特許文献1に開示されている3板式のプロジェクターでは、リフレクターとして作用するブロックの側壁面で光源から射出される光の全ての偏光成分が反射され、全ての偏光成分がブロックの射出端に導かれ、光変調素子に向けて射出される。光源から射出される光の全ての偏光成分には画像形成に寄与しない偏光成分が含まれるため、光変調素子をはじめとするブロックよりも後段の光学素子及び部品に対して画像形成に寄与しない光の偏光成分が入射する。特許文献1に開示されているプロジェクターでは、ブロックよりも後段に配置されている光学素子及び部品にかかる熱負荷が大きくなる可能性がある。
【課題を解決するための手段】
【0006】
本実施形態のプロジェクターは、第1波長帯の第1光を射出する第1光源と、第1光源から射出される第1光が入射する第1入射端と第1光を射出する第1射出端とを有する第1導光素子と、第1導光素子から射出される第1光の第1偏光成分を画像情報に基づいて変調する第1光変調素子と、第1光変調素子から射出される光を投射する投射光学系と、を備える。第1導光素子は、第1基材と、第1基材において第1導光素子の内面を形成する第1面に配置された第1反射膜と、を有し、第1反射膜は第1偏光成分を反射し、第1光の第2偏光成分を透過し、第1反射膜で反射される第1偏光成分は第1射出端から射出される。
【図面の簡単な説明】
【0007】
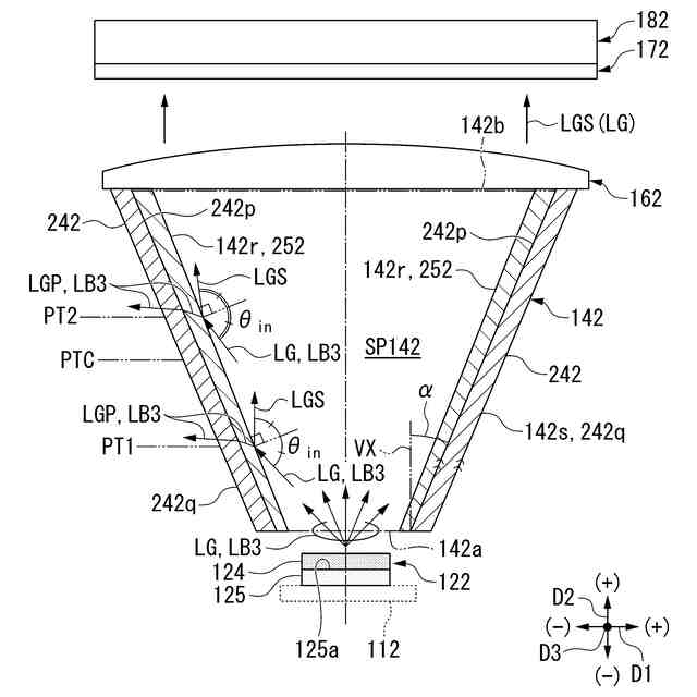
一実施形態のプロジェクターの構成を示す概略図である。
図1のプロジェクターの青色光射出部の導光素子の斜視図である。
図1のプロジェクターの青色光射出部の光源、導光素子、平行化素子、入射側偏光素子、及び、光変調素子の断面図である。
図1のプロジェクターの緑色光射出部の光源、導光素子、平行化素子、入射側偏光素子、及び、光変調素子の断面図である。
図1のプロジェクターの赤色光射出部の光源、導光素子、平行化素子、入射側偏光素子、及び、光変調素子の断面図である。
図1のプロジェクターの第2変形例の青色光射出部の光源及び導光素子の断面図である。
図1のプロジェクターの第3変形例の青色光射出部の光源及び導光素子の断面図である。
図1のプロジェクターの第4変形例の青色光射出部の光源及び導光素子の断面図である。
【発明を実施するための形態】
【0008】
以下、本発明の実施形態について、図面を参照して説明する。各図面では、各構成要素を見やすくするために、構成要素によって寸法の縮尺が変更されている場合がある。
【0009】
先ず、本発明の一実施形態について、図1から図5を参照して説明する。図1は、本発明の一実施形態のプロジェクター301の構成を示す概略図である。プロジェクター301は、光変調装置として3枚の液晶パネルを備える画像表示装置であり、所謂、3板式のプロジェクターである。図1に示すように、プロジェクター301は、青色光射出部101と、緑色光射出部102と、赤色光射出部103と、入射側偏光素子171,172,173と、光変調素子181,182,183と、射出側偏光素子175,176,177と、光合成素子200と、投射光学系250と、を備える。
【0010】
青色光射出部101は、青色光LBを射出する。以下の説明では、青色光射出部101から射出される青色光LBの光軸に平行な軸を方向を、D1方向とする。D1方向における一方の側を-D1側とし、D1方向における-D1側とは反対側を+D1側とする。青色光LBの光軸を含む面内でD1方向に直交する方向を、D2方向とする。D2方向における一方の側を-D2側とし、D2方向における-D2側とは反対側を+D2側とする。D1方向及びD2方向に直交する方向をD3方向とする。青色光射出部101から射出された青色光LBは、D1方向に沿って+D1側に進行する。
(【0011】以降は省略されています)
この特許をJ-PlatPat(特許庁公式サイト)で参照する
関連特許
株式会社シグマ
絞りユニット
20日前
平和精機工業株式会社
雲台
1か月前
キヤノン株式会社
撮像装置
13日前
キヤノン株式会社
撮像装置
19日前
キヤノン株式会社
撮像装置
1か月前
株式会社リコー
画像形成装置
1か月前
株式会社リコー
画像形成装置
1か月前
株式会社リコー
画像形成装置
1か月前
株式会社リコー
画像形成装置
27日前
株式会社リコー
画像形成装置
9日前
株式会社リコー
画像形成装置
2か月前
ブラザー工業株式会社
再生方法
1か月前
キヤノン株式会社
トナー
5日前
株式会社オプトル
プロジェクタ
12日前
キヤノン株式会社
トナー
1か月前
キヤノン株式会社
画像形成装置
2か月前
キヤノン株式会社
画像形成装置
2か月前
キヤノン株式会社
画像形成装置
2か月前
キヤノン株式会社
画像形成装置
2か月前
キヤノン株式会社
画像形成装置
1か月前
キヤノン株式会社
トナー
今日
キヤノン株式会社
画像形成装置
1か月前
株式会社オプトル
プロジェクタ
1か月前
キヤノン株式会社
画像形成装置
1か月前
シャープ株式会社
画像形成装置
1か月前
興和株式会社
マウント構造
2か月前
スタンレー電気株式会社
照明装置
1日前
株式会社シグマ
絞り機構及びレンズ鏡筒
1か月前
アイホン株式会社
機器の設置構造
1か月前
沖電気工業株式会社
画像形成装置
1か月前
アイホン株式会社
機器の設置構造
1か月前
ブラザー工業株式会社
画像形成装置
27日前
株式会社リコー
画像形成装置
2か月前
株式会社リコー
画像形成装置
9日前
ブラザー工業株式会社
画像形成装置
29日前
ブラザー工業株式会社
画像形成装置
29日前
続きを見る
他の特許を見る