TOP
|
特許
|
意匠
|
商標
特許ウォッチ
Twitter
他の特許を見る
10個以上の画像は省略されています。
公開番号
2025144884
公報種別
公開特許公報(A)
公開日
2025-10-03
出願番号
2024044787
出願日
2024-03-21
発明の名称
印刷システム、プログラム、及び、印刷特性調整方法
出願人
セイコーエプソン株式会社
代理人
個人
主分類
G06F
3/12 20060101AFI20250926BHJP(計算;計数)
要約
【課題】撮像部からの画像に含まれるテストパターンにブレがないことを精度よく判定する。
【解決手段】媒体は、テストパターン、並びに、撮像部のブレを検知するための複数のブレ検知領域であって第一ブレ検知領域及び第二ブレ検知領域を含む前記複数のブレ検知領域を撮像対象領域に有している。前記第一ブレ検知領域と前記第二ブレ検知領域とは、互いに、前記撮像対象領域の中心を通る直線と、前記テストパターンと、の少なくとも一方を挟む位置にある。制御部は、撮像部から前記撮像対象領域の画像を取得し、前記画像に含まれる前記第一ブレ検知領域にブレがあるか否か、及び、前記画像に含まれる前記第二ブレ検知領域にブレがあるか否かを検知し、前記第一ブレ検知領域と前記第二ブレ検知領域の両方にブレがないと検知すると前記画像に含まれる前記テストパターンにブレがないと判定する。
【選択図】図7
特許請求の範囲
【請求項1】
記録ヘッドを含み、印刷特性を調整するためのテストパターンを媒体に形成する印刷装置と、
前記媒体を撮像する撮像部と、
前記テストパターンを含む撮像対象領域の撮像を前記撮像部に実行させる制御部と、を備え、
前記印刷装置は、前記撮像部のブレを検知するための複数のブレ検知領域であって第一ブレ検知領域及び第二ブレ検知領域を含む前記複数のブレ検知領域を前記媒体に形成し、
前記複数のブレ検知領域は、前記媒体の前記撮像対象領域に含まれ、
前記第一ブレ検知領域と前記第二ブレ検知領域とは、互いに、前記撮像対象領域の中心を通る直線と、前記テストパターンと、の少なくとも一方を挟む位置にあり、
前記制御部は、前記撮像部から前記撮像対象領域の画像を取得し、前記画像に含まれる前記第一ブレ検知領域にブレがあるか否か、及び、前記画像に含まれる前記第二ブレ検知領域にブレがあるか否かを検知し、前記第一ブレ検知領域と前記第二ブレ検知領域の両方にブレがないと検知すると前記画像に含まれる前記テストパターンにブレがないと判定する、印刷システム。
続きを表示(約 2,400 文字)
【請求項2】
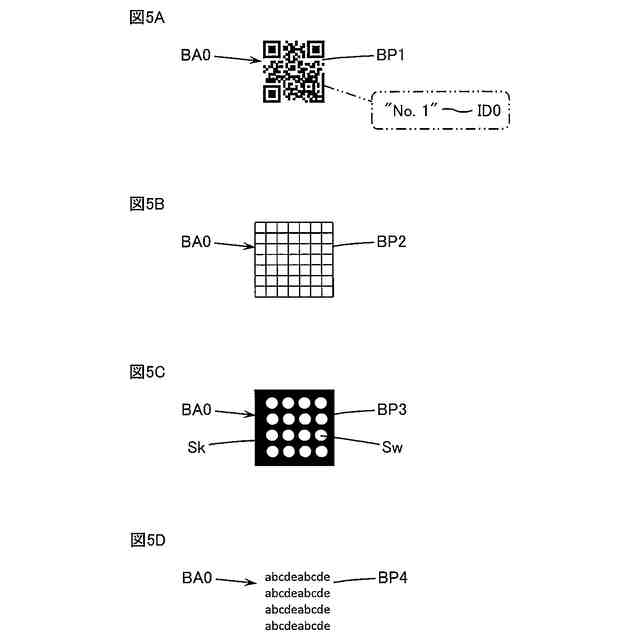
前記複数のブレ検知領域は、読み取り可能なコード情報を含み、
前記制御部は、前記画像に含まれる前記第一ブレ検知領域の前記コード情報を読み取ることができると前記画像に含まれる前記第一ブレ検知領域にブレがないと検知し、前記画像に含まれる前記第二ブレ検知領域の前記コード情報を読み取ることができると前記画像に含まれる前記第二ブレ検知領域にブレがないと検知する、請求項1に記載の印刷システム。
【請求項3】
前記コード情報には、前記複数のブレ検知領域のそれぞれを識別可能な識別情報が埋め込まれ、
前記制御部は、前記画像に含まれる前記コード情報を読み取り、該コード情報に埋め込まれている前記識別情報に基づいて、前記画像から読み取り対象の前記テストパターンを特定する、請求項2に記載の印刷システム。
【請求項4】
前記複数のブレ検知領域は、前記第一ブレ検知領域及び前記第二ブレ検知領域から離れている第三ブレ検知領域を含み、
前記制御部は、前記画像に含まれる前記第一ブレ検知領域にブレがあるか否か、前記画像に含まれる前記第二ブレ検知領域にブレがあるか否か、及び、前記画像に含まれる前記第三ブレ検知領域にブレがあるか否かを検知し、前記第一ブレ検知領域、前記第二ブレ検知領域、及び、前記第三ブレ検知領域の全てにブレがないと検知すると前記画像に含まれる前記テストパターンにブレがないと判定する、請求項1又は請求項2に記載の印刷システム。
【請求項5】
前記テストパターンが複数あり、
前記複数のブレ検知領域は、第三ブレ検知領域を含み、
前記複数のテストパターンは、前記第一ブレ検知領域と前記第二ブレ検知領域との間にある第一テストパターン、及び、前記第二ブレ検知領域と前記第三ブレ検知領域との間にある第二テストパターンを含み、
前記制御部は、
前記第一ブレ検知領域及び前記第二ブレ検知領域が前記画像に含まれる場合、前記画像に含まれる前記第一ブレ検知領域にブレがあるか否か、及び、前記画像に含まれる前記第二ブレ検知領域にブレがあるか否かを検知し、前記第一ブレ検知領域と前記第二ブレ検知領域の両方にブレがないと検知すると前記画像に含まれる前記第一テストパターンにブレがないと判定し、
前記第二ブレ検知領域及び前記第三ブレ検知領域が前記画像に含まれる場合、前記画像に含まれる前記第二ブレ検知領域にブレがあるか否か、及び、前記画像に含まれる前記第三ブレ検知領域にブレがあるか否かを検知し、前記第二ブレ検知領域と前記第三ブレ検知領域の両方にブレがないと検知すると前記画像に含まれる前記第二テストパターンにブレがないと判定する、請求項1又は請求項2に記載の印刷システム。
【請求項6】
記録ヘッドを備える印刷装置の印刷特性を調整するためのテストパターンを有する媒体を撮像する撮像部から取得される画像に含まれる前記テストパターンのブレを判定するためのプログラムであって、
前記媒体は、前記撮像部のブレを検知するための複数のブレ検知領域であって第一ブレ検知領域及び第二ブレ検知領域を含む前記複数のブレ検知領域を撮像対象領域に有し、
前記第一ブレ検知領域と前記第二ブレ検知領域とは、互いに、前記撮像対象領域の中心を通る直線と、前記テストパターンと、の少なくとも一方を挟む位置にあり、
前記プログラムは、
前記撮像部から前記撮像対象領域の画像を取得する取得機能と、
前記画像に含まれる前記第一ブレ検知領域にブレがあるか否か、及び、前記画像に含まれる前記第二ブレ検知領域にブレがあるか否かを検知し、前記第一ブレ検知領域と前記第二ブレ検知領域の両方にブレがないと検知すると前記画像に含まれる前記テストパターンにブレがないと判定する判定機能と、をコンピューターに実現させる、プログラム。
【請求項7】
前記画像は、前記撮像部から繰り返し取得されるフレームであり、
前記プログラムは、前記フレームに含まれる前記テストパターンにブレがないと判定される条件を含む撮像条件が満たされたことをトリガーとして前記撮像対象領域の撮像を前記撮像部に実行させることにより撮像画像を取得する撮像制御機能をさらに前記コンピューターに実現させる、請求項6に記載のプログラム。
【請求項8】
記録ヘッドを備える印刷装置の印刷特性を調整するためのテストパターンを含む撮像対象領域を有する媒体を撮像部において撮像し、得られる撮像画像に含まれる前記テストパターンに基づいて前記印刷特性を調整する印刷特性調整方法であって、
前記媒体は、前記撮像部のブレを検知するための複数のブレ検知領域であって第一ブレ検知領域及び第二ブレ検知領域を含む前記複数のブレ検知領域を前記撮像対象領域に有し、
前記第一ブレ検知領域と前記第二ブレ検知領域とは、互いに、前記撮像対象領域の中心を通る直線と、前記テストパターンと、の少なくとも一方を挟む位置にあり、
前記印刷特性調整方法は、
前記撮像部から前記撮像対象領域の画像を取得する第一工程と、
前記画像に含まれる前記第一ブレ検知領域にブレがあるか否か、及び、前記画像に含まれる前記第二ブレ検知領域にブレがあるか否かを検知し、前記第一ブレ検知領域と前記第二ブレ検知領域の両方にブレがないと検知すると前記撮像画像を取得する第二工程と、
前記撮像画像に含まれる前記テストパターンに基づいて前記印刷特性を調整するための調整値を決定する第三工程と、
前記調整値に基づいて前記印刷特性を調整する第四工程と、を含む、印刷特性調整方法。
発明の詳細な説明
【技術分野】
【0001】
本発明は、印刷特性調整用のテストパターンを有する媒体を撮像するための印刷システム、プログラム、及び、印刷特性調整方法に関する。
続きを表示(約 2,900 文字)
【背景技術】
【0002】
インクジェットプリンター等の印刷装置の印刷特性を調整するためのテストパターンをスキャナーに読み取らせることが行われている。
特許文献1には、プリンターが印刷した印刷補正テストパターンをデジタルカメラで撮影することにより印刷補正のデータを生成する印刷補正方法が開示されている。
【先行技術文献】
【特許文献】
【0003】
特開2006-121486号公報
【発明の概要】
【発明が解決しようとする課題】
【0004】
撮像部にブレが発生すると、撮像部からの画像に含まれるテストパターンにブレが生じ、撮像画像に含まれるテストパターンを使用することができない可能性がある。特に、撮像部に回転したり傾いたりするようなブレが発生すると、画像中にブレが大きい箇所がある一方、画像中にブレが小さい箇所があることによりブレが適切に検知されないことが想定される。
【課題を解決するための手段】
【0005】
本発明の印刷システムは、
記録ヘッドを含み、印刷特性を調整するためのテストパターンを媒体に形成する印刷装置と、
前記媒体を撮像する撮像部と、
前記テストパターンを含む撮像対象領域の撮像を前記撮像部に実行させる制御部と、を備え、
前記印刷装置は、前記撮像部のブレを検知するための複数のブレ検知領域であって第一ブレ検知領域及び第二ブレ検知領域を含む前記複数のブレ検知領域を前記媒体に形成し、
前記複数のブレ検知領域は、前記媒体の前記撮像対象領域に含まれ、
前記第一ブレ検知領域と前記第二ブレ検知領域とは、互いに、前記撮像対象領域の中心を通る直線と、前記テストパターンと、の少なくとも一方を挟む位置にあり、
前記制御部は、前記撮像部から前記撮像対象領域の画像を取得し、前記画像に含まれる前記第一ブレ検知領域にブレがあるか否か、及び、前記画像に含まれる前記第二ブレ検知領域にブレがあるか否かを検知し、前記第一ブレ検知領域と前記第二ブレ検知領域の両方にブレがないと検知すると前記画像に含まれる前記テストパターンにブレがないと判定する、態様を有する。
【0006】
また、本発明のプログラムは、記録ヘッドを備える印刷装置の印刷特性を調整するためのテストパターンを有する媒体を撮像する撮像部から取得される画像に含まれる前記テストパターンのブレを判定するためのプログラムであって、
前記媒体は、前記撮像部のブレを検知するための複数のブレ検知領域であって第一ブレ検知領域及び第二ブレ検知領域を含む前記複数のブレ検知領域を撮像対象領域に有し、
前記第一ブレ検知領域と前記第二ブレ検知領域とは、互いに、前記撮像対象領域の中心を通る直線と、前記テストパターンと、の少なくとも一方を挟む位置にあり、
前記プログラムは、
前記撮像部から前記撮像対象領域の画像を取得する取得機能と、
前記画像に含まれる前記第一ブレ検知領域にブレがあるか否か、及び、前記画像に含まれる前記第二ブレ検知領域にブレがあるか否かを検知し、前記第一ブレ検知領域と前記第二ブレ検知領域の両方にブレがないと検知すると前記画像に含まれる前記テストパターンにブレがないと判定する判定機能と、をコンピューターに実現させる、態様を有する。
【0007】
さらに、本発明の印刷特性調整方法は、記録ヘッドを備える印刷装置の印刷特性を調整するためのテストパターンを含む撮像対象領域を有する媒体を撮像部において撮像し、得られる撮像画像に含まれる前記テストパターンに基づいて前記印刷特性を調整する印刷特性調整方法であって、
前記媒体は、前記撮像部のブレを検知するための複数のブレ検知領域であって第一ブレ検知領域及び第二ブレ検知領域を含む前記複数のブレ検知領域を前記撮像対象領域に有し、
前記第一ブレ検知領域と前記第二ブレ検知領域とは、互いに、前記撮像対象領域の中心を通る直線と、前記テストパターンと、の少なくとも一方を挟む位置にあり、
前記印刷特性調整方法は、
前記撮像部から前記撮像対象領域の画像を取得する第一工程と、
前記画像に含まれる前記第一ブレ検知領域にブレがあるか否か、及び、前記画像に含まれる前記第二ブレ検知領域にブレがあるか否かを検知し、前記第一ブレ検知領域と前記第二ブレ検知領域の両方にブレがないと検知すると前記撮像画像を取得する第二工程と、
前記撮像画像に含まれる前記テストパターンに基づいて前記印刷特性を調整するための調整値を決定する第三工程と、
前記調整値に基づいて前記印刷特性を調整する第四工程と、を含む、態様を有する。
【図面の簡単な説明】
【0008】
印刷システムの例を模式的に示す図。
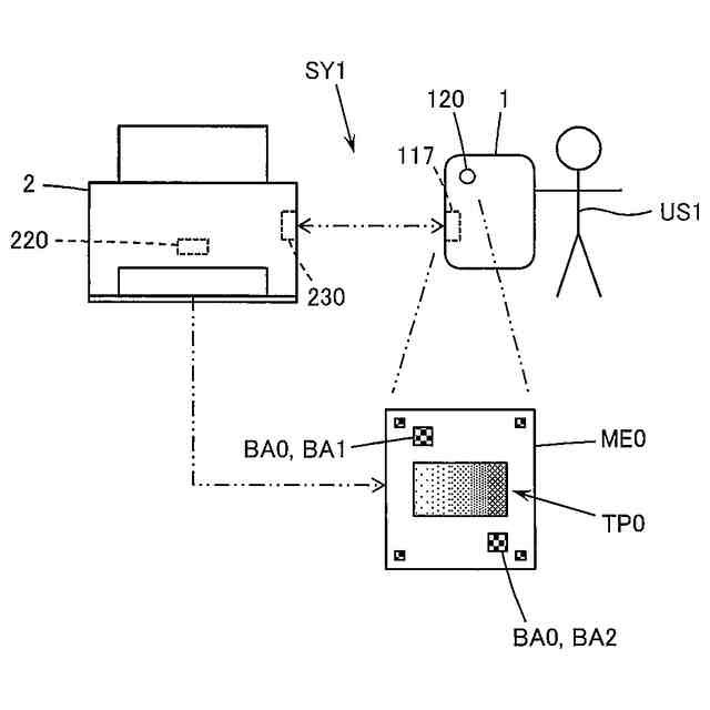
印刷システムの構成例を模式的に示す図。
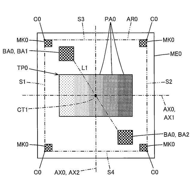
テストパターンを有する媒体の例を模式的に示す図。
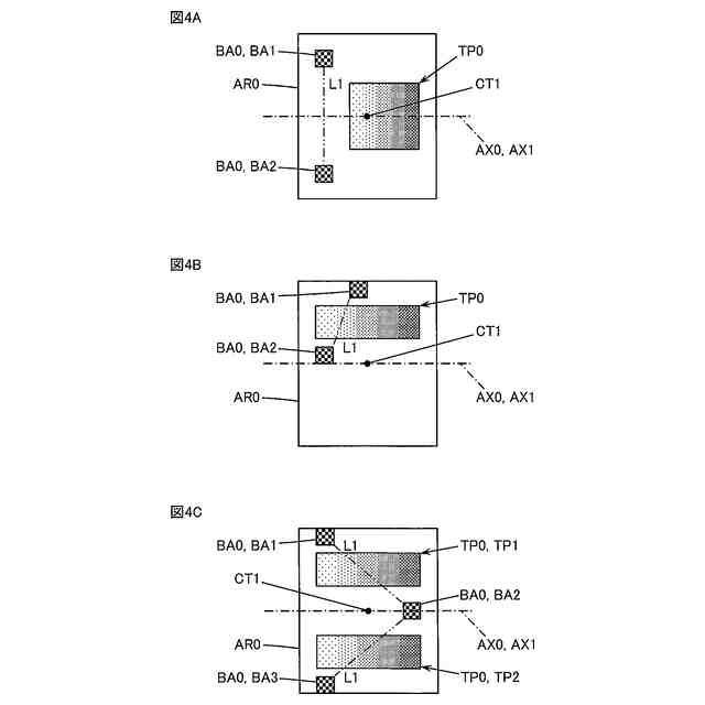
図4A~4Cは撮像対象領域の別の例を模式的に示す図。
図5A~5Dはブレ検知領域の例を模式的に示す図。
撮像時の情報端末の動作例を模式的に示す図。
印刷特性調整処理の例を模式的に示すフローチャート。
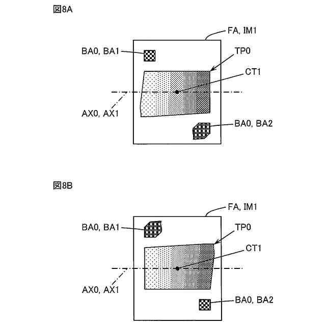
図8Aは第一ブレ検知領域を中心として回転するようなブレが撮像部からの画像にある例を模式的に示す図、図8Bは第二ブレ検知領域を中心として回転するようなブレが撮像部からの画像にある例を模式的に示す図。
図9Aは第一テストパターン、第一ブレ検知領域、及び、第二ブレ検知領域を含む画像の例を模式的に示す図、図9Bは第二テストパターン、第二ブレ検知領域、及び、第三ブレ検知領域を含む画像の例を模式的に示す図。
印刷特性の調整の例を模式的に示す図。
撮像制御処理の例を模式的に示すフローチャート。
比較例においてブレ検知領域を中心として回転するようなブレが撮像部からの画像にある様子を模式的に示す図。
【発明を実施するための形態】
【0009】
以下、本発明の実施形態を説明する。むろん、以下の実施形態は本発明を例示するものに過ぎず、実施形態に示す特徴の全てが発明の解決手段に必須になるとは限らない。
【0010】
(1)本発明に含まれる態様の概要:
まず、図1~12に示される例を参照して本発明に含まれる態様の概要を説明する。尚、本願の図は模式的に例を示す図であり、これらの図に示される各方向の拡大率は異なることがあり、各図は整合していないことがある。むろん、本態様の各要素は、符号で示される具体例に限定されない。「本発明に含まれる態様の概要」において、括弧内は直前の語の補足説明を意味する。
(【0011】以降は省略されています)
この特許をJ-PlatPat(特許庁公式サイト)で参照する
関連特許
個人
裁判のAI化
2か月前
個人
工程設計支援装置
1か月前
個人
地球保全システム
3日前
個人
フラワーコートA
1か月前
個人
為替ポイント伊達夢貯
1か月前
個人
冷凍食品輸出支援構造
1か月前
個人
介護情報提供システム
2か月前
個人
設計支援システム
2か月前
個人
設計支援システム
2か月前
個人
表変換編集支援システム
23日前
個人
携帯情報端末装置
1か月前
個人
結婚相手紹介支援システム
1か月前
個人
知財出願支援AIシステム
1か月前
個人
行動時間管理システム
25日前
株式会社カクシン
支援装置
2か月前
個人
パスワード管理支援システム
23日前
個人
AIによる情報の売買の仲介
1か月前
個人
アンケート支援システム
2か月前
個人
システム及びプログラム
16日前
株式会社キーエンス
受発注システム
2日前
個人
食品レシピ生成システム
2日前
株式会社キーエンス
受発注システム
2日前
個人
AIキャラクター制御システム
23日前
株式会社キーエンス
受発注システム
2日前
個人
パスポートレス入出国システム
1か月前
個人
海外支援型農作物活用システム
15日前
日本精機株式会社
施工管理システム
1か月前
株式会社アジラ
進入判定装置
1か月前
個人
ジェスチャーパッドのガイド部材
2か月前
個人
食事受注会計処理システム
1か月前
大同特殊鋼株式会社
疵判定方法
9日前
キヤノン株式会社
表示システム
2日前
個人
人格進化型対話応答制御システム
23日前
サクサ株式会社
中継装置
2か月前
個人
未来型家系図構築システム
15日前
大阪瓦斯株式会社
住宅設備機器
1か月前
続きを見る
他の特許を見る