TOP
|
特許
|
意匠
|
商標
特許ウォッチ
Twitter
他の特許を見る
10個以上の画像は省略されています。
公開番号
2025144974
公報種別
公開特許公報(A)
公開日
2025-10-03
出願番号
2024044925
出願日
2024-03-21
発明の名称
液冷式抵抗器
出願人
日立建機株式会社
代理人
弁理士法人相原国際知財事務所
主分類
H01C
1/082 20060101AFI20250926BHJP(基本的電気素子)
要約
【課題】抵抗ユニットの冷却性能を向上し、ひいては抵抗ユニットの異常高温を防止することができる液冷式抵抗器を提供する。
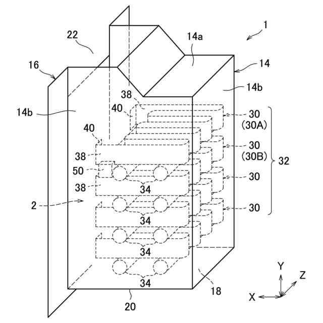
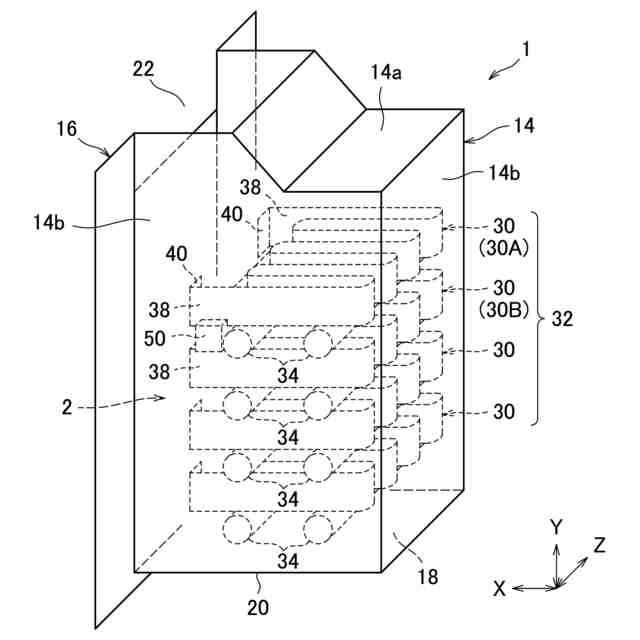
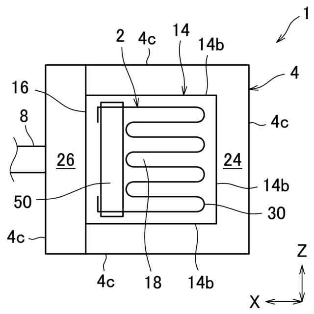
【解決手段】液冷式抵抗器(1)は、抵抗ユニット(2)を冷却容器(4)の収容空間(18)に収容して液体で冷却し、冷却容器(4)は、入口ポート(20)を下部に形成する入口側隔壁(14)と、出口ポート(22)を上部に形成する出口側隔壁(16)とを備え、抵抗ユニット(2)は、抵抗素子(30)と、抵抗素子(30)を電気的に接続しつつ縦方向(Y)に複数段配置することで構成される抵抗体(32)と、各抵抗素子(30)をそれぞれ支持する複数の碍子(34)とを備え、縦方向(Y)において最上段に位置する抵抗素子(30A)と、縦方向(Y)において最上段の下の段に位置する抵抗素子(30B)との間であって且つ出口側隔壁(16)と対向する位置に、液体の流れを妨げる流路抵抗部材(50)を設ける。
【選択図】図4
特許請求の範囲
【請求項1】
抵抗ユニットを冷却容器の収容空間に収容して液体で冷却する液冷式抵抗器であって、
前記冷却容器は、
前記収容空間に前記液体を流入させる入口ポートを縦方向における前記収容空間の下部に形成する入口側隔壁と、
前記収容空間から前記液体を流出させる出口ポートを前記縦方向における前記収容空間の上部に形成する出口側隔壁と
を備え、
前記抵抗ユニットは、
通電により発熱する抵抗素子と、
前記抵抗素子を電気的に接続しつつ前記縦方向に複数段配置することで構成される抵抗体と、
前記縦方向において前記抵抗素子と交互に配置され、前記各抵抗素子をそれぞれ支持する複数の碍子と
を備え、
前記縦方向において最上段に位置する前記抵抗素子と、前記縦方向において前記最上段の下の段に位置する前記抵抗素子との間であって且つ前記出口側隔壁と対向する位置に、前記液体の流れを妨げる流路抵抗部材を設けることを特徴とする、液冷式抵抗器。
続きを表示(約 720 文字)
【請求項2】
前記抵抗素子は、
前記縦方向と交差する横方向における両端において前記抵抗素子を屈曲することにより形成される複数の屈曲部、前記横方向に連なる前記各屈曲部を互いに接続する直線部を含む抵抗部と、
前記出口側隔壁に対向する一対の前記直線部の端から、それぞれ前記出口側隔壁に向けて延設される一対の延長部と、
前記各延長部から、互いに対向する前記延長部に向けて屈曲して形成され、複数段に配置される前記抵抗素子を電気的に接続して前記抵抗体を構成する一対の端子部と
を有し、
前記流路抵抗部材は、前記最上段に位置する前記抵抗素子の前記各延長部と、前記最上段の下の段に位置する前記抵抗素子の前記各延長部との間に位置付けられることを特徴とする、請求項1に記載の液冷式抵抗器。
【請求項3】
前記碍子は、同一の前記抵抗素子の前記横方向における両端寄りに互いに離間し対をなして配置され、
前記流路抵抗部材は、前記各延長部の間において前記出口側隔壁の側の前記碍子と前記横方向に隣接して配置されることを特徴とする、請求項2に記載の液冷式抵抗器。
【請求項4】
前記流路抵抗部材は、電気絶縁体であることを特徴とする、請求項1に記載の液冷式抵抗器。
【請求項5】
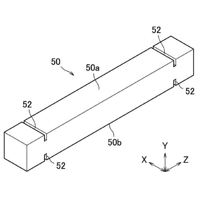
前記流路抵抗部材は、弾性材料から形成され、前記縦方向に並ぶ前記各抵抗素子に挟持されることを特徴とする、請求項1に記載の液冷式抵抗器。
【請求項6】
前記流路抵抗部材は、前記縦方向に並ぶ前記各抵抗素子に嵌め込まれるスリットを有することを特徴とする、請求項1に記載の液冷式抵抗器。
発明の詳細な説明
【技術分野】
【0001】
本発明は、液冷式抵抗器に関し、詳しくは、通電により発熱する抵抗素子を有する抵抗ユニットを冷却容器の収容空間に収容して液体により冷却する液冷式抵抗器に関する。
続きを表示(約 1,900 文字)
【背景技術】
【0002】
通電により発熱するコイルなどの抵抗素子を有する電気部品を液体で冷却する冷却システムが広く知られている。例えば、特許文献1には、変圧器本体を冷却する送油冷却式油入変圧器が開示されている。この特許文献1においては、タンクに発熱体である変圧器本体が収容され、冷却媒体である液体(絶縁油)が、ポンプが設置された下部通油管、タンク、上部通油管、及び放熱器を順に流れて循環する。
【0003】
変圧器本体の冷却によって加熱された液体の熱対流を考慮して、液体はタンクの下部に接続した下部通油管から供給され、タンクの上部に接続した上部通油管から排出される。上部通油管から排出された液体は、放熱器で冷却された後、ポンプによって下部通油管から再びタンクに供給される。
【先行技術文献】
【特許文献】
【0004】
実開昭54-123884号公報
【発明の概要】
【発明が解決しようとする課題】
【0005】
特許文献1においては、タンクの一方の側壁に下部通油管及び上部通油管の双方が接続されている。従って、タンク内において、下部通油管及び上部通油管の近傍であって且つ流路抵抗の小さい箇所、具体的には、タンクの一方の側壁と変圧器本体との間に形成される流路に多くの液体が流れ込む。これでは、変圧器本体の全体が液体で十分に冷却されないため、変圧器本体の一部に異常高温が発生するおそれがある。従って、変圧器本体、換言すると抵抗ユニットの冷却性能を向上し、抵抗ユニットの異常高温を防止することができる液冷式抵抗器が求められている。
【0006】
本発明は、このような課題に鑑みてなされたもので、抵抗ユニットの冷却性能を向上し、ひいては抵抗ユニットの異常高温を防止することができる液冷式抵抗器を提供することを目的とする。
【課題を解決するための手段】
【0007】
上記の目的を達成するべく、本発明の液冷式抵抗器は、抵抗ユニットを冷却容器の収容空間に収容して液体で冷却する液冷式抵抗器であって、冷却容器は、収容空間に液体を流入させる入口ポートを縦方向における収容空間の下部に形成する入口側隔壁と、収容空間から液体を流出させる出口ポートを縦方向における収容空間の上部に形成する出口側隔壁とを備え、抵抗ユニットは、通電により発熱する抵抗素子と、抵抗素子を電気的に接続しつつ縦方向に複数段配置することで構成される抵抗体と、縦方向において抵抗素子と交互に配置され、各抵抗素子をそれぞれ支持する複数の碍子とを備え、縦方向において最上段に位置する抵抗素子と、縦方向において最上段の下の段に位置する抵抗素子との間であって且つ出口側隔壁と対向する位置に、液体の流れを妨げる流路抵抗部材を設けることを特徴とする。
【発明の効果】
【0008】
本発明によれば、抵抗ユニットの冷却性能を向上し、ひいては抵抗ユニットの異常高温を防止することができる。
【図面の簡単な説明】
【0009】
本発明の一実施形態に係る液冷式抵抗器が組み込まれる冷却システムの構成図である。
液冷式抵抗器を側面から見た概略図である。
液冷式抵抗器を上面から見た概略図である。
液冷式抵抗器の要部を透過した斜視図である。
抵抗素子の上面図である。
流路抵抗部材の斜視図である。
変形例に係る流路抵抗部材の斜視図である。
本実施形態の液冷式抵抗器における液体の流れを説明するための側面図である。
第1比較例の液冷式抵抗器における液体の流れを説明するための側面図である。
第2比較例の液冷式抵抗器における液体の流れを説明するための側面図である。
【発明を実施するための形態】
【0010】
以下、本発明の一実施形態に係る液冷式抵抗器1について図面を参照して説明する。図1は、本発明の一実施形態に係る液冷式抵抗器1が組み込まれる冷却システムの構成図を示す。液冷式抵抗器1は、抵抗ユニット2を冷却容器4の後述する収容空間18に収容して冷却する。液体は、冷却媒体であって、例えば絶縁油であり、少なくとも収容空間18において抵抗ユニット2の全体が液体で浸されるまで充填される。冷却容器4の上壁4aと下壁4bとには、それぞれ液体が流れる入口配管6と出口配管8とが接続されている。
(【0011】以降は省略されています)
この特許をJ-PlatPat(特許庁公式サイト)で参照する
関連特許
日立建機株式会社
作業機械
8日前
日立建機株式会社
作業機械
16日前
日立建機株式会社
作業機械
12日前
日立建機株式会社
建設機械
2か月前
日立建機株式会社
建設機械
12日前
日立建機株式会社
建設機械
2か月前
日立建機株式会社
建設機械
8日前
日立建機株式会社
建設機械
8日前
日立建機株式会社
作業機械
2か月前
日立建機株式会社
油圧機器
3日前
日立建機株式会社
作業車両
8日前
日立建機株式会社
作業機械
4日前
日立建機株式会社
作業機械
4日前
日立建機株式会社
作業機械
2日前
日立建機株式会社
作業機械
4日前
日立建機株式会社
作業車両
4日前
日立建機株式会社
作業車両
4日前
日立建機株式会社
建設機械
1か月前
日立建機株式会社
建設機械
4日前
日立建機株式会社
建設機械
4日前
日立建機株式会社
作業機械
22日前
日立建機株式会社
建設機械
8日前
日立建機株式会社
油圧機器
8日前
日立建機株式会社
作業機械
8日前
日立建機株式会社
作業機械
1か月前
日立建機株式会社
作業機械
3か月前
日立建機株式会社
作業機械
9日前
日立建機株式会社
作業機械
1か月前
日立建機株式会社
作業車両
3か月前
日立建機株式会社
作業機械
1日前
日立建機株式会社
作業機械
4か月前
日立建機株式会社
作業車両
1日前
日立建機株式会社
作業機械
1日前
日立建機株式会社
作業機械
9日前
日立建機株式会社
作業機械
8日前
日立建機株式会社
減速装置
3か月前
続きを見る
他の特許を見る