TOP
|
特許
|
意匠
|
商標
特許ウォッチ
Twitter
他の特許を見る
10個以上の画像は省略されています。
公開番号
2025145041
公報種別
公開特許公報(A)
公開日
2025-10-03
出願番号
2024045014
出願日
2024-03-21
発明の名称
管継手構造及び支柱
出願人
株式会社栗本鐵工所
代理人
個人
,
個人
,
個人
,
個人
主分類
E04H
12/22 20060101AFI20250926BHJP(建築物)
要約
【課題】管体間の屈曲を抑制しつつ簡便に両管体を接合することができる管継手構造及びこの管継手構造を採用した支柱を提供する。
【解決手段】挿し側管体2の挿し口の受け側管体7の受口への飲み込み代の管軸方向長さLが所定長さとなる管軸方向位置に径方向外向きに延びる第一フランジ8が形成されているとともに、受け側管体7の受口端部に径方向外向きに延びる第二フランジ9が形成され、第一フランジ8と第二フランジ9が管軸方向に当接しており、第一フランジ8及び第二フランジ9に、両フランジ8、9を嵌合させる嵌合部12が形成されている管継手構造1、及び、この管継手構造1を採用した支柱とする。
【選択図】図2
特許請求の範囲
【請求項1】
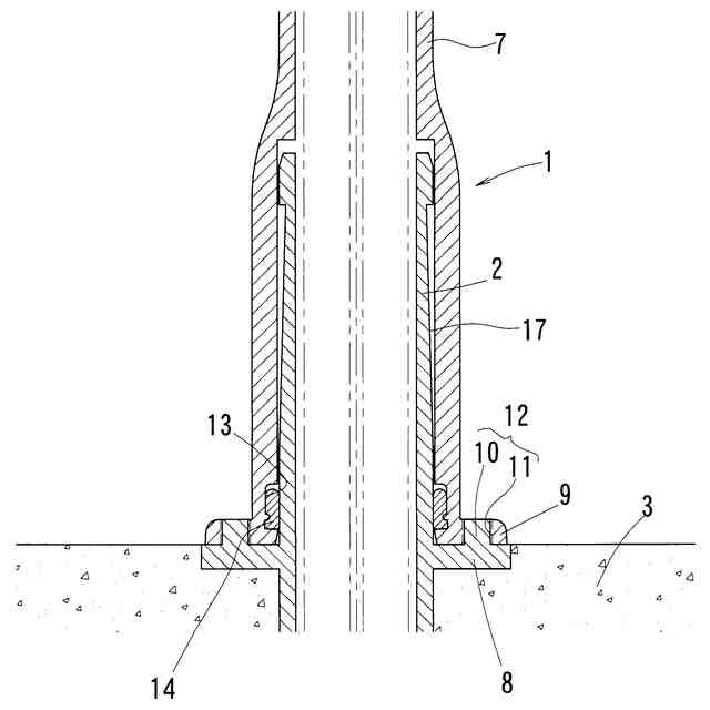
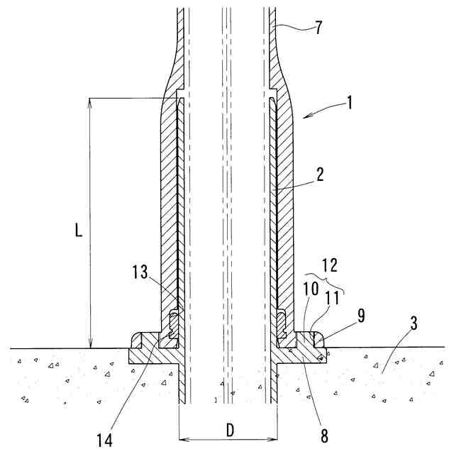
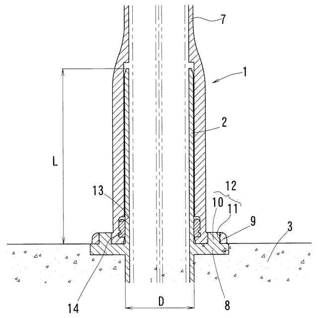
挿し側管体(2)の挿し口を受け側管体(7)の受口に挿入して前記両管体(2、7)を接合した管継手構造において、
前記挿し口の前記受口への飲み込み代の管軸方向長さ(L)が所定長さとなる管軸方向位置に径方向外向きに延びる第一フランジ(8)が形成されているとともに、前記受け側管体(7)の受口端部に径方向外向きに延びる第二フランジ(9)が形成され、前記第一フランジ(8)と前記第二フランジ(9)が管軸方向に当接しており、前記第一フランジ(8)及び前記第二フランジ(9)に、前記両フランジ(8、9)を嵌合させる嵌合部(12)が形成されていることを特徴とする管継手構造。
続きを表示(約 660 文字)
【請求項2】
前記嵌合部(12)が、前記第一フランジ(8)または前記第二フランジ(9)の一方側に形成された突起部(10)と、前記第一フランジ(8)または前記第二フランジ(9)の他方側に形成された前記突起部(10)が嵌まり込む嵌合穴(11)と、を有している請求項1に記載の管継手構造。
【請求項3】
前記突起部(10)と前記嵌合穴(11)との間の隙間を塞ぐ封止部材(15)を有する請求項2に記載の管継手構造。
【請求項4】
前記受け側管体(7)の受け口の内面に形成された周溝(13)にゴム輪(14)が設けられており、一方の前記管体(2、7)が前記ゴム輪(14)を介して他方の前記管体(2、7)を支持している請求項1に記載の管継手構造。
【請求項5】
前記飲み込み代の管軸方向長さ(L)が、前記挿し側管体(2)の呼び径(D)の2倍以上4倍以下の範囲内である請求項1に記載の管継手構造。
【請求項6】
前記挿し側管体(2)の挿し口の外径と前記受け側管体(7)の受口の内径との差が、管軸方向の中央部と比較して管軸方向の両端部で小さくなっている請求項1に記載の管継手構造。
【請求項7】
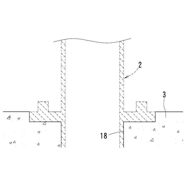
前記挿し側管体(2)または前記受け側管体(7)の一方がコンクリート製土台(3)に埋設され、前記挿し側管体(2)または前記受け側管体(7)の他方が前記コンクリート製土台(3)から立設された請求項1から6のいずれか1項に記載の管継手構造を採用した支柱。
発明の詳細な説明
【技術分野】
【0001】
この発明は、管継手構造及びこの管継手構造を採用した支柱に関する。
続きを表示(約 1,600 文字)
【背景技術】
【0002】
街頭や高速道路等の道路脇に設けられる照明用の支柱や、道路標識を設置するための支柱として、例えば下記特許文献1に示すように、地面に形成されたコンクリート製の基礎18にボルト22を埋め込み、支柱10に形成されたフランジ部20aをボルト22とナット23で固定する構成が知られている(特許文献1の特に段落0019~0021、図1を参照)。
【0003】
ダクタイル鋳鉄管は、挿し側管体の挿し口を受け側管体の受口に挿入する継手形式にて接合される。受口の内面と挿し口の外面との隙間にはゴム輪が設置されており、両管体の間には、所定角度の屈曲が許容されている。また、屈曲が生じると不都合がある場合は、例えば下記特許文献2に示すように、挿口4先端の挿口テーパ面5と受口テーパ面6を接触させるとともに、受口2の開口部に固定された屈曲防止リング14の周方向に配置された屈曲防止ボルト17で挿口4を径方向に押圧することによって、管1、3間の屈曲を防止することができる(特許文献2の特に第4頁第11行目~第6頁第20行目、第1図を参照)。
【先行技術文献】
【特許文献】
【0004】
特許第7357374号公報
実開平2-16895号公報
【発明の概要】
【発明が解決しようとする課題】
【0005】
特許文献1に係る構成においては、ボルト22の一端側がコンクリート製の基礎18中、他端側が大気中という異なる環境に曝されていることから、コンクリートマクロセル腐食が発生しやすく、ボルト22の早期交換や腐食対策等が必要となる。また、特許文献2に係る構成においては、屈曲防止リング14の設置に手間を要する問題がある。
【0006】
そこで、この発明は、管体間の屈曲を抑制しつつ簡便に両管体を接合することができる管継手構造及びこの管継手構造を採用した支柱を提供することを課題とする。
【課題を解決するための手段】
【0007】
上記の課題を解決するため、この発明では、
挿し側管体の挿し口を受け側管体の受口に挿入して前記両管体を接合した管継手構造において、
前記挿し口の前記受口への飲み込み代の管軸方向長さが所定長さとなる管軸方向位置に径方向外向きに延びる第一フランジが形成されているとともに、前記受け側管体の受口端部に径方向外向きに延びる第二フランジが形成され、前記第一フランジと前記第二フランジが管軸方向に当接しており、前記第一フランジ及び前記第二フランジに、前記両フランジを嵌合させる嵌合部が形成されていることを特徴とする管継手構造を構成(第1構成)した。
【0008】
このようにすると、両管体にそれぞれ形成されたフランジ同士の当接と、両フランジに形成された嵌合部の嵌合によって、ボルトを用いることなく管体間の屈曲を抑制しつつ簡便に両管体を接合することができる。
【0009】
第1構成においては、前記嵌合部が、前記第一フランジまたは前記第二フランジの一方側に形成された突起部と、前記第一フランジまたは前記第二フランジの他方側に形成された前記突起部が嵌まり込む嵌合穴と、を有している構成(第2構成)とすることができる。このようにすると、管体間の屈曲をより確実に抑制することができるとともに、両管体が管軸周りに相対回転するのを抑制することができる。
【0010】
第2構成においては、前記突起部と前記嵌合穴との間の隙間を塞ぐ封止部材を有する構成(第3構成)とすることができる。このようにすると、管体間の屈曲をさらに抑制することができるとともに、この隙間に砂等の異物が堆積して管継手の解体に支障をきたしたり、雨水が入り込んで腐食が生じたりするのを防止することができる。
(【0011】以降は省略されています)
この特許をJ-PlatPat(特許庁公式サイト)で参照する
関連特許
株式会社栗本鐵工所
オリフィス弁
3日前
株式会社栗本鐵工所
外面防食鉄管
1日前
株式会社栗本鐵工所
触覚提示装置
3日前
株式会社栗本鐵工所
触覚提示システム
3日前
株式会社栗本鐵工所
磁気粘性流体装置
1か月前
株式会社栗本鐵工所
摺動部材用銅合金
16日前
株式会社栗本鐵工所
触覚提示システム
4日前
株式会社栗本鐵工所
磁気粘性流体装置
3日前
株式会社栗本鐵工所
触覚提示システム
2日前
株式会社栗本鐵工所
触覚提示システム
2日前
株式会社栗本鐵工所
触覚提示システム
2日前
株式会社栗本鐵工所
触覚提示システム
2日前
株式会社栗本鐵工所
管継手構造及び支柱
8日前
株式会社栗本鐵工所
検査路及びステップ
1か月前
株式会社栗本鐵工所
弁箱構造および管体構造
8日前
株式会社栗本鐵工所
ハウジング管の製造方法
2日前
株式会社栗本鐵工所
操作装置及び操作受付方法
1日前
株式会社栗本鐵工所
磁気粘性流体装置の生産方法
1日前
株式会社栗本鐵工所
接続構造および磁気粘性流体装置
1日前
株式会社栗本鐵工所
外面防食鉄管およびその製造方法
1日前
株式会社栗本鐵工所
触覚提示可能な入力装置の制御方法
4日前
株式会社栗本鐵工所
破砕制御システムおよびプログラム
2日前
株式会社栗本鐵工所
溶湯量予測システムおよびプログラム
4日前
株式会社栗本鐵工所
管路更生工法および管路更生工法用管
12日前
株式会社栗本鐵工所
トラフ乾燥方法、及び、トラフ乾燥装置
3日前
個人
樹脂管の寿命試験方法及び寿命試験装置
16日前
株式会社栗本鐵工所
破砕制御システム、摩耗量予測装置およびプログラム
3日前
株式会社栗本鐵工所
送風量制御システム、および、送風量決定プログラム
9日前
株式会社栗本鐵工所
情報処理装置、触覚提示方法及びコンピュータプログラム
1日前
株式会社栗本鐵工所
遠隔検査装置、遠隔検査方法及びコンピュータプログラム
8日前
株式会社栗本鐵工所
情報処理装置、触覚提示方法及びコンピュータプログラム
2日前
株式会社栗本鐵工所
情報処理システム、情報処理方法、及び情報処理プログラム
2日前
株式会社栗本鐵工所
情報処理システム、情報処理方法、及び情報処理プログラム
1日前
株式会社栗本鐵工所
情報処理システム、情報処理方法、情報処理装置及びコンピュータプログラム
8日前
八千代エンジニヤリング株式会社
水切り装置、その設置方法、およびその設置方法に使用される位置決め治具とフック
4日前
個人
接合構造
5日前
続きを見る
他の特許を見る