TOP
|
特許
|
意匠
|
商標
特許ウォッチ
Twitter
他の特許を見る
10個以上の画像は省略されています。
公開番号
2025145234
公報種別
公開特許公報(A)
公開日
2025-10-03
出願番号
2024045312
出願日
2024-03-21
発明の名称
サーバ、搬送体管理システム、搬送体管理方法及びプログラム
出願人
日本電気株式会社
代理人
個人
主分類
G06Q
10/08 20240101AFI20250926BHJP(計算;計数)
要約
【課題】本開示により、搬送体管理者の手間を削減しつつ、搬送体を管理できるサーバ、搬送体管理システム、搬送体管理方法及びプログラムを提供できる。
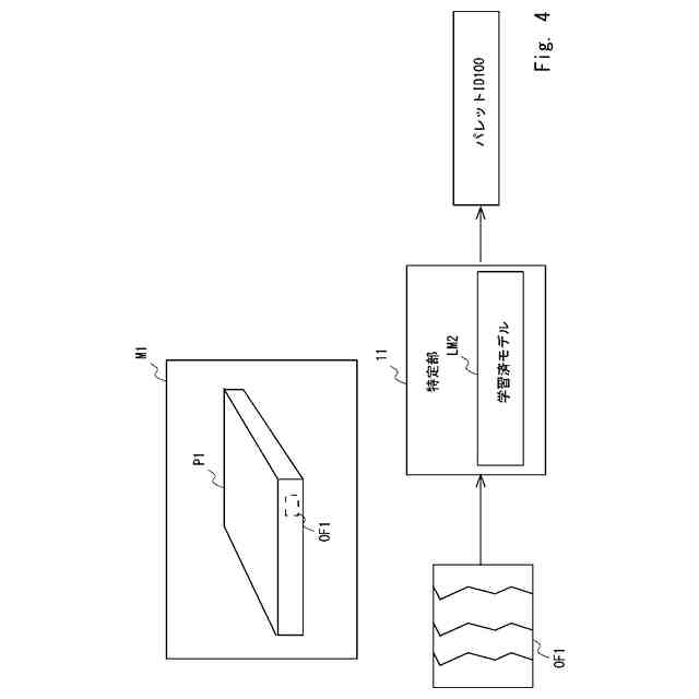
【解決手段】本開示に係るサーバは、画像から認識された搬送体の特徴を示す特徴情報に基づいて、搬送体に固有な情報を示す識別情報を特定する特定部と、識別情報を出力する出力部と、を備える。
【選択図】図1
特許請求の範囲
【請求項1】
搬送体を含む画像から認識された前記搬送体の特徴を示す特徴情報に基づいて、前記搬送体に固有な情報を示す識別情報を特定する特定部と、
前記識別情報を出力する出力部と、
を備えた、
サーバ。
続きを表示(約 1,100 文字)
【請求項2】
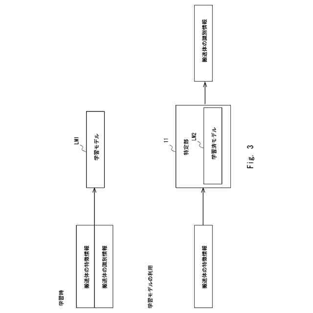
前記特定部は、前記特徴情報を入力として前記識別情報を出力する学習済モデルを用いて、前記識別情報を特定する、
請求項1に記載のサーバ。
【請求項3】
前記特定部は、さらに、前記搬送体を含む画像に基づいて、前記搬送体の位置を示す位置情報を特定し、
前記出力部は、さらに、前記位置情報を出力する、
請求項1又は2に記載のサーバ。
【請求項4】
前記特定部が特定した前記識別情報と前記位置情報とに基づいて、位置に対する前記搬送体の集積量を示す集積量情報を生成する生成部をさらに備え、
前記出力部は、さらに、前記集積量情報を出力する、
請求項3に記載のサーバ。
【請求項5】
前記生成部は、さらに、前記搬送体を含む画像に基づいて、位置に対する前記搬送体の状態を示す状態情報を生成し、
前記出力部は、さらに、前記状態情報を出力する、
請求項4に記載のサーバ。
【請求項6】
前記生成部が生成した前記集積量情報に基づいて、前記搬送体の搬送先を示す搬送先情報を決定する搬送先決定部をさらに備え、
前記出力部は、さらに、前記搬送先情報を出力する、
請求項4に記載のサーバ。
【請求項7】
前記搬送先決定部は、さらに、搬送体に搭載して搬送される搬送物の搬送計画に基づいて、前記搬送先への前記搬送体の搬送量を示す搬送量情報を決定し、
前記出力部は、さらに、前記搬送量情報を出力する、
請求項6に記載のサーバ。
【請求項8】
カメラとサーバとを備えた搬送体管理システムであって、
前記カメラは、
搬送体を含む画像を撮影し、
前記画像を前記サーバに対して送信し、
前記サーバは、
前記カメラから受信した前記画像から認識された搬送体の特徴を示す特徴情報に基づいて、前記搬送体に固有な情報を示す識別情報を特定し、
前記識別情報を出力する、
搬送体管理システム。
【請求項9】
搬送体を含む画像から認識された前記搬送体の特徴を示す特徴情報に基づいて、前記搬送体に固有な情報を示す識別情報を特定し、
前記識別情報を出力する、
処理をコンピュータが実行する、
搬送体管理方法。
【請求項10】
搬送体を含む画像から認識された前記搬送体の特徴を示す特徴情報に基づいて、前記搬送体に固有な情報を示す識別情報を特定し、
前記識別情報を出力する、
処理をコンピュータに実行させる、
プログラム。
発明の詳細な説明
【技術分野】
【0001】
本開示は、サーバ、搬送体管理システム、搬送体管理方法及びプログラムに関する。
続きを表示(約 1,000 文字)
【背景技術】
【0002】
搬送体、例えば、パレットを管理する技術の開発がされている。
特許文献1には、拠点毎にパレットの枚数を管理するパレット管理方法が開示されている。
【先行技術文献】
【特許文献】
【0003】
特開2023-157320号公報
【発明の概要】
【発明が解決しようとする課題】
【0004】
特許文献1に開示されたパレット管理方法では、パレットにカラーコード等の識別情報を付す必要があり、パレット管理者の手間がかかる。
【0005】
本開示の目的は、上述した課題に鑑み、搬送体管理者の手間を削減しつつ、搬送体を管理できるサーバ、搬送体管理システム、搬送体管理方法及びプログラムを提供することにある。
【課題を解決するための手段】
【0006】
本開示に係るサーバは、
搬送体を含む画像から認識された前記搬送体の特徴を示す特徴情報に基づいて、前記搬送体に固有な情報を示す識別情報を特定する特定部と、
前記識別情報を出力する出力部と、
を備える。
【0007】
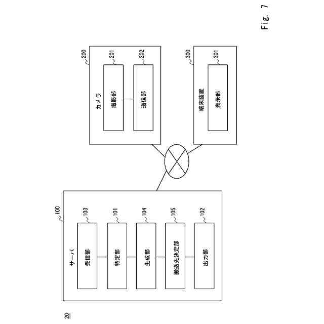
本開示に係る搬送体管理システムは、
カメラとサーバとを備えた搬送体管理システムであって、
前記カメラは、搬送体を含む画像を撮影し、前記画像を前記サーバに対して送信し、
前記サーバは、前記カメラから受信した画像から認識された搬送体の特徴を示す特徴情報に基づいて、前記搬送体に固有な情報を示す識別情報を特定し、前記識別情報を出力する。
【0008】
本開示に係る搬送体管理方法は、
搬送体を含む画像から認識された前記搬送体の特徴を示す特徴情報に基づいて、前記搬送体に固有な情報を示す識別情報を特定し、前記識別情報を出力する、
処理をコンピュータが実行する。
【0009】
本開示に係るプログラムは、
搬送体を含む画像から認識された前記搬送体の特徴を示す特徴情報に基づいて、前記搬送体に固有な情報を示す識別情報を特定し、前記識別情報を出力する、
処理をコンピュータに実行させる。
【発明の効果】
【0010】
本開示により、搬送体管理者の手間を削減しつつ、搬送体を管理できるサーバ、搬送体管理システム、搬送体管理方法及びプログラムを提供できる。
【図面の簡単な説明】
(【0011】以降は省略されています)
この特許をJ-PlatPat(特許庁公式サイト)で参照する
関連特許
日本電気株式会社
学習装置
1か月前
日本電気株式会社
分析装置
7日前
日本電気株式会社
原子発振器
1か月前
日本電気株式会社
超伝導量子回路
27日前
日本電気株式会社
マルチバンドバラン
25日前
日本電気株式会社
送信装置および通信装置
3日前
日本電気株式会社
量子回路装置と制御方法
7日前
日本電気株式会社
量子回路装置と制御方法
7日前
日本電気株式会社
検知装置および検知方法
7日前
日本電気株式会社
通信装置および通信方法
3日前
日本電気株式会社
分析方法および分析システム
4日前
日本電気株式会社
端末装置および無線通信方法
18日前
日本電気株式会社
機器冷却装置及びその冷却方法
19日前
日本電気株式会社
共振器及びそれを備えた導波回路
5日前
日本電気株式会社
プログラム、算出装置、及び方法
19日前
日本電気株式会社
処理装置、方法、及びプログラム
1か月前
日本電気株式会社
推定装置、推定方法及びプログラム
10日前
日本電気株式会社
推定装置、推定方法及びプログラム
10日前
日本電気株式会社
リング共振器、およびその製造方法
1か月前
日本電気株式会社
ピーク抑圧装置及びピーク抑圧方法
17日前
日本電気株式会社
システム及びマイグレーション方法
7日前
日本電気株式会社
リング共振器、およびその製造方法
1か月前
日本電気株式会社
画像管理システムおよび画像管理方法
5日前
日本電気株式会社
処理装置、処理方法、及びプログラム
7日前
日本電気株式会社
波長可変レーザ装置及びその構成方法
3日前
日本電気株式会社
推定装置、推定方法、及び、記録媒体
4日前
日本電気株式会社
通信装置、通信方法及び通信プログラム
4日前
日本電気株式会社
判定装置、判定方法、及び、プログラム
27日前
日本電気株式会社
管理システム、管理方法及びプログラム
17日前
日本電気株式会社
予測システム、予測方法及びプログラム
10日前
日本電気株式会社
注文端末、注文受付方法及びプログラム
3日前
日本電気株式会社
通信システム及びパケット順序補正方法
18日前
日本電気株式会社
管理装置、管理方法および管理プログラム
5日前
日本電気株式会社
情報処理装置、情報処理方法、プログラム
1か月前
日本電気株式会社
画像選択装置、画像選択方法及び記憶媒体
5日前
日本電気株式会社
映像伝送装置、映像伝送方法、プログラム
7日前
続きを見る
他の特許を見る