TOP
|
特許
|
意匠
|
商標
特許ウォッチ
Twitter
他の特許を見る
公開番号
2025145265
公報種別
公開特許公報(A)
公開日
2025-10-03
出願番号
2024045354
出願日
2024-03-21
発明の名称
通信システム、基地局装置、及び、通信システムの制御方法
出願人
日本電気株式会社
代理人
個人
主分類
H04B
7/06 20060101AFI20250926BHJP(電気通信技術)
要約
【課題】高品質の通信を行うことが可能な通信システム、基地局装置、及び、通信システムの制御方法を提供すること。
【解決手段】本開示にかかる通信システムは、複数のAAS(Active Antenna System)を有する基地局装置と、複数のAASのそれぞれと通信可能に構成された管理装置と、を備え、管理装置は、共通の時刻、及び、複数のAASのそれぞれに固有のID(Identification)を、複数のAASに対して通知するように構成され、各AASは、共通の時刻によって規定され、且つ、割り当てられたIDに応じて周期的に設定される所定時刻、から所定期間内に、ダウンリンク及びアップリンクのキャリブレーションを行うように構成されている。
【選択図】図1
特許請求の範囲
【請求項1】
複数のAAS(Active Antenna System)を有する基地局装置と、
前記複数のAASのそれぞれと通信可能に構成された管理装置と、
を備え、
前記管理装置は、共通の時刻、及び、前記複数のAASのそれぞれに固有のID(Identification)を、前記複数のAASに対して通知するように構成され、
各前記AASは、前記共通の時刻によって規定され、且つ、割り当てられた前記IDに応じて周期的に設定される所定時刻、から所定期間内に、ダウンリンク及びアップリンクのキャリブレーションを行うように構成されている、
通信システム。
続きを表示(約 1,100 文字)
【請求項2】
各前記AASは、ダウンリンク及びアップリンクのキャリブレーションを行う時間帯が、他のAASによるキャリブレーションの時間帯と重複しないような、前記所定時刻及び前記所定期間を設定する、
請求項1に記載の通信システム。
【請求項3】
前記基地局装置は、前記複数のAASとして3台のAASを有する、
請求項1に記載の通信システム。
【請求項4】
前記複数のAASのそれぞれと前記管理装置との間に通信に用いられる光フロントホールをさらに備えた、
請求項1に記載の通信システム。
【請求項5】
複数のAAS(Active Antenna System)を有し、
各前記AASは、前記複数のAASに対して通知された共通の時刻によって規定され、且つ、割り当てられた固有のIDに応じて周期的に設定される所定時刻、から所定期間内に、ダウンリンク及びアップリンクのキャリブレーションを行うように構成されている、
基地局装置。
【請求項6】
各前記AASは、ダウンリンク及びアップリンクのキャリブレーションを行う時間帯が、他のAASによるキャリブレーションの時間帯と重複しないような、前記所定時刻及び前記所定期間を設定する、
請求項5に記載の基地局装置。
【請求項7】
前記複数のAASとして3台のAASを有する、
請求項5に記載の基地局装置。
【請求項8】
複数のAAS(Active Antenna System)を有する基地局装置と、
前記複数のAASのそれぞれと通信可能に構成された管理装置と、
を備えた、通信システムの制御方法であって、
前記管理装置から、共通の時刻、及び、前記複数のAASのそれぞれに固有のID(Identification)を、前記複数のAASに対して通知し、
各前記AASにおいて、前記共通の時刻によって規定され、且つ、割り当てられた前記IDに応じて周期的に設定される所定時刻、から所定期間内に、ダウンリンク及びアップリンクのキャリブレーションを行う、
通信システムの制御方法。
【請求項9】
各前記AASにおいて、ダウンリンク及びアップリンクのキャリブレーションを行う時間帯が、他のAASによるキャリブレーションの時間帯と重複しないような、前記所定時刻及び前記所定期間を設定する、
請求項8に記載の通信システムの制御方法。
【請求項10】
前記基地局装置は、前記複数のAASとして3台のAASを有する、
請求項8に記載の通信システムの制御方法。
発明の詳細な説明
【技術分野】
【0001】
本開示は、通信システム、基地局装置、及び、通信システムの制御方法に関する。
続きを表示(約 1,700 文字)
【背景技術】
【0002】
5G用超多素子アクティブアンテナシステム(AAS)に対して高周波数利用効率を実現可能なフルデジタルビームフォーミング方式を採用し、Massive MIMOによる空間多重性能を追求しつつ、5Gでのモバイル用途としての伝搬性能がミリ波より良好なSub6GHz以下の周波数帯を用いて通信を行うAAS置局数が更に増加中である。
【0003】
しかしながら、Sub6GHzと言えどもLow band(800MHz帯プラチナバンド)と比較すると伝搬性能が劣るため、安定した通信性能を維持しつつエリアカバレッジの拡大を図るためには、水平360度方向をカバーする3セクタ構成(3台のAASを用いた構成)の基地局装置を、面的に繰り返し複数配置することにより、LTE同様不感地帯を無くした置局設計が重要となる。通信システムに関連する技術は、例えば特許文献1及び特許文献2にも開示されている。
【先行技術文献】
【特許文献】
【0004】
特表2020-507286号公報
特表2006-515141号公報
【発明の概要】
【発明が解決しようとする課題】
【0005】
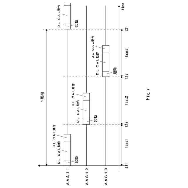
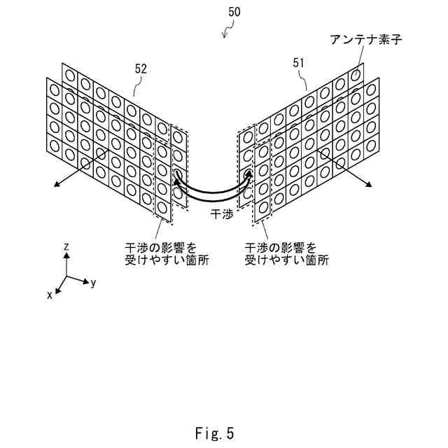
しかしながら、関連技術に開示された通信システムにおける、複数のAASを有する基地局装置では、各AASのDL CAL(Downlink Calibration)信号による、当該AASに隣接する他のAASのUL CAL(Uplink Calibration)信号への干渉により、各AASのキャリブレーションの精度が劣化してしまい、その結果、通信品質が劣化してしまう、という課題があった。
【0006】
本開示の目的は、上述した課題を解決する通信システム、基地局装置、及び、通信システムの制御方法を提供することにある。
【課題を解決するための手段】
【0007】
本開示にかかる通信システムは、複数のAAS(Active Antenna System)を有する基地局装置と、前記複数のAASのそれぞれと通信可能に構成された管理装置と、を備え、前記管理装置は、共通の時刻、及び、前記複数のAASのそれぞれに固有のID(Identification)を、前記複数のAASに対して通知するように構成され、各前記AASは、前記共通の時刻によって規定され、且つ、割り当てられた前記IDに応じて周期的に設定される所定時刻、から所定期間内に、ダウンリンク及びアップリンクのキャリブレーションを行うように構成されている。
【0008】
本開示にかかる基地局装置は、複数のAAS(Active Antenna System)を有し、各前記AASは、前記複数のAASに対して通知された共通の時刻によって規定され、且つ、割り当てられた固有のIDに応じて周期的に設定される所定時刻、から所定期間内に、ダウンリンク及びアップリンクのキャリブレーションを行うように構成されている。
【0009】
本開示にかかる通信システムの制御方法は、複数のAAS(Active Antenna System)を有する基地局装置と、前記複数のAASのそれぞれと通信可能に構成された管理装置と、を備えた、通信システムの制御方法であって、前記管理装置から、共通の時刻、及び、前記複数のAASのそれぞれに固有のID(Identification)を、前記複数のAASに対して通知し、各前記AASにおいて、前記共通の時刻によって規定され、且つ、割り当てられた前記IDに応じて周期的に設定される所定時刻、から所定期間内に、ダウンリンク及びアップリンクのキャリブレーションを行う。
【発明の効果】
【0010】
本開示は、高品質の通信を行うことが可能な通信システム、基地局装置、及び、通信システムの制御方法を提供することができる。
【図面の簡単な説明】
(【0011】以降は省略されています)
この特許をJ-PlatPat(特許庁公式サイト)で参照する
関連特許
個人
店内配信予約システム
2か月前
WHISMR合同会社
収音装置
25日前
サクサ株式会社
中継装置
2か月前
キヤノン株式会社
撮像装置
3か月前
アイホン株式会社
電気機器
19日前
キヤノン株式会社
撮像装置
1か月前
キヤノン株式会社
電子機器
2か月前
電気興業株式会社
無線中継器
3か月前
株式会社リコー
画像形成装置
1か月前
日本精機株式会社
画像投映システム
3か月前
個人
ワイヤレスイヤホン対応耳掛け
17日前
キヤノン電子株式会社
画像読取装置
26日前
キヤノン電子株式会社
モバイル装置
2か月前
株式会社リコー
画像形成装置
1か月前
ヤマハ株式会社
信号処理装置
3か月前
株式会社リコー
画像形成装置
1か月前
ブラザー工業株式会社
読取装置
1か月前
キヤノン株式会社
撮像システム
19日前
キヤノン株式会社
通信システム
3か月前
株式会社ニコン
撮像装置
2か月前
パテントフレア株式会社
水中電波通信法
2か月前
株式会社小糸製作所
画像照射装置
1か月前
沖電気工業株式会社
画像形成装置
7日前
有限会社フィデリックス
マイクロフォン
3日前
国立大学法人電気通信大学
小型光学装置
1か月前
キヤノン電子株式会社
画像読取システム
3か月前
パテントフレア株式会社
超高速電波通信
1か月前
DXO株式会社
情報処理システム
2か月前
株式会社松平商会
携帯機器カバー
28日前
エルメック株式会社
信号伝送回路
3か月前
株式会社JVCケンウッド
通信システム
3日前
大日本印刷株式会社
写真撮影装置
18日前
キヤノン電子株式会社
シート材搬送装置
1か月前
株式会社リコー
画像形成装置
1か月前
日本無線株式会社
無線通信システム
1か月前
日本無線株式会社
無線通信システム
1か月前
続きを見る
他の特許を見る