TOP
|
特許
|
意匠
|
商標
特許ウォッチ
Twitter
他の特許を見る
公開番号
2025145690
公報種別
公開特許公報(A)
公開日
2025-10-03
出願番号
2024046002
出願日
2024-03-22
発明の名称
光学素子及び面発光型レーザ
出願人
株式会社東芝
代理人
弁理士法人iX
主分類
H01S
5/185 20210101AFI20250926BHJP(基本的電気素子)
要約
【課題】特性を向上可能な光学素子及び面発光型レーザを提供する。
【解決手段】実施形態によれば、光学素子は、第1平面に沿う第1領域を含む第1部材を含む。前記第1領域は、複数の第1構造体を含む。前記複数の第1構造体は、第1ピッチで第1方向に沿って、第2ピッチで第2方向に沿って並ぶ。前記第1方向は、前記第1平面に沿う。前記第2方向は、前記第1平面に沿い、前記第1方向と交差する。前記第1ピッチは、前記第2ピッチよりも長い。前記第1領域の前記第1方向に沿う第1長は、前記第1領域の前記第2方向に沿う第2長よりも長い。
【選択図】図1
特許請求の範囲
【請求項1】
第1平面に沿う第1領域を含む第1部材を備え、
前記第1領域は、複数の第1構造体を含み、
前記複数の第1構造体は、第1ピッチで第1方向に沿って、第2ピッチで第2方向に沿って並び、
前記第1方向は、前記第1平面に沿い、
前記第2方向は、前記第1平面に沿い、前記第1方向と交差し、
前記第1ピッチは、前記第2ピッチよりも長く、
前記第1領域の前記第1方向に沿う第1長は、前記第1領域の前記第2方向に沿う第2長よりも長い、光学素子。
続きを表示(約 1,200 文字)
【請求項2】
前記第1部材は、第2領域をさらに含み、
前記第2領域は、前記第1平面において前記第1領域の周りに設けられ、
前記複数の第1構造体は、前記第2領域には設けられていない、請求項1に記載の光学素子。
【請求項3】
前記第1ピッチの前記第2ピッチに対する第1比は、前記第1長の前記第2長に対する第2比の0.8倍以上1.2倍以下である、請求項1に記載の光学素子。
【請求項4】
前記複数の第1構造体の1つの前記第1平面に沿う断面形状は、円、扁平円、または、多角形である、請求項1~3のいずれか1つに記載の光学素子。
【請求項5】
前記複数の第1構造体の1つの前記第1平面に沿う断面形状は、前記第1方向に沿う第1線及び、前記第2方向に沿う第2線に関して非対称である、請求項1~3のいずれか1つに記載の光学素子。
【請求項6】
前記複数の第1構造体の、前記第2方向に沿って並ぶ第2数は、前記第1方向に沿い前記第1領域の中心から前記第1領域の外への向きにおいて減少し、
前記複数の第1構造体の、前記第1方向に沿って並ぶ第1数は、前記第2方向に沿い前記中心から前記外への向きにおいて減少する、請求項1に記載の光学素子。
【請求項7】
前記複数の第1構造体は、前記第2方向に沿って並ぶ第1群と、前記第2方向に沿って並ぶ第2群と、を含み、
前記第1群から前記第2群への向きは、前記第1領域の中心から前記第1領域の外への向きであり、
前記第2群に含まれる前記複数の第1構造体の数は、前記第1群に含まれる前記複数の第1構造体の数よりも小さい、請求項1に記載の光学素子。
【請求項8】
第1部分領域を含む第2部材をさらに備え、
前記第1部分領域は、前記複数の第1構造体の間に設けられ、
前記第2部材の第2屈折率は、前記第1部材の第1屈折率と異なる、請求項1に記載の光学素子。
【請求項9】
前記第2部材は、第2部分領域をさらに含み、
前記複数の第1構造体から前記第2部分領域への方向は、前記第1平面と交差する第3方向に沿う、請求項8に記載の光学素子。
【請求項10】
請求項8に記載の光学素子と、
第1電極と、
第2電極と、
前記第1電極と前記第2電極との間に設けられた第1クラッド層と、
前記第1クラッド層の一部と、前記第2電極と、の間に設けられた発光層と、
を備え、
前記光学素子は、前記発光層と前記第2電極との間に設けられ、
前記第1部材は、前記発光層と前記第2部材との間に設けられ、
前記第2屈折率は、前記第1屈折率よりも低い、面発光型レーザ。
(【請求項11】以降は省略されています)
発明の詳細な説明
【技術分野】
【0001】
本発明の実施形態は、光学素子及び面発光型レーザに関する。
続きを表示(約 1,300 文字)
【背景技術】
【0002】
例えば、フォトニック結晶など光学素子が面発光型レーザに用いられる。光学素子において特性の向上が望まれる。
【先行技術文献】
【特許文献】
【0003】
特開2020-136557号公報
【発明の概要】
【発明が解決しようとする課題】
【0004】
実施形態は、特性を向上可能な光学素子及び面発光型レーザを提供する。
【課題を解決するための手段】
【0005】
実施形態によれば、光学素子は、第1平面に沿う第1領域を含む第1部材を含む。前記第1領域は、複数の第1構造体を含む。前記複数の第1構造体は、第1ピッチで第1方向に沿って、第2ピッチで第2方向に沿って並ぶ。前記第1方向は、前記第1平面に沿う。前記第2方向は、前記第1平面に沿い、前記第1方向と交差する。前記第1ピッチは、前記第2ピッチよりも長い。前記第1領域の前記第1方向に沿う第1長は、前記第1領域の前記第2方向に沿う第2長よりも長い。
【図面の簡単な説明】
【0006】
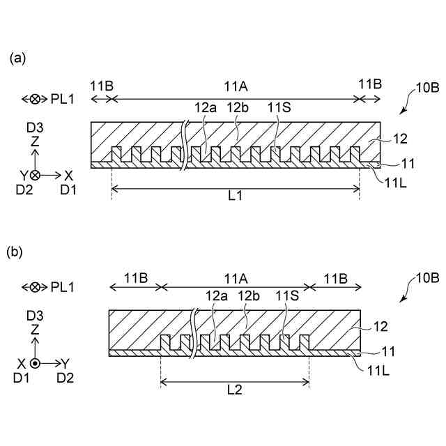
図1は、第1実施形態に係る光学素子を例示する模式的平面図である。
図2は、第1実施形態に係る光学素子の一部を例示する模式的平面図である。
図3(a)及び図3(b)は、第1実施形態に係る光学素子を例示する模式的断面図である。
図4(a)~図4(d)は、光学素子の特性を例示する模式図である。
図5(a)及び図5(b)は、第1実施形態に係る光学素子を例示する模式的断面図である。
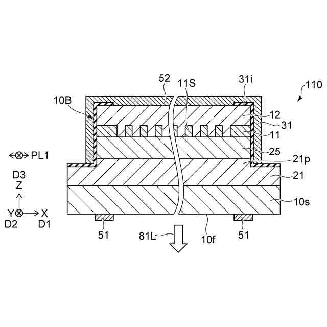
図6は、第2実施形態に係る面発光型レーザを例示する模式的断面図である。
【発明を実施するための形態】
【0007】
以下に、本発明の各実施の形態について図面を参照しつつ説明する。
図面は模式的または概念的なものであり、各部分の厚さと幅との関係、部分間の大きさの比率などは、必ずしも現実のものと同一とは限らない。同じ部分を表す場合であっても、図面により互いの寸法や比率が異なって表される場合もある。
本願明細書と各図において、既出の図に関して前述したものと同様の要素には同一の符号を付して詳細な説明は適宜省略する。
【0008】
(第1実施形態)
図1は、第1実施形態に係る光学素子を例示する模式的平面図である。
図2は、第1実施形態に係る光学素子の一部を例示する模式的平面図である。
図3(a)及び図3(b)は、第1実施形態に係る光学素子を例示する模式的断面図である。
図3(a)は、図1のA1-A2線断面に対応する。図3(b)は、図1のB1-B2断面に対応する。
【0009】
図1に示すように、実施形態に係る光学素子10Aは、第1部材11を含む。第1部材11は、第1領域11Aを含む。第1領域11Aは、第1平面PL1に沿う。
【0010】
第1平面PL1は、例えば、X-Y平面に対して実質的に平行である。第1方向D1及び第2方向D2は、第1平面PL1に沿う。第1方向D1は、例えば、X軸方向で良い。
(【0011】以降は省略されています)
この特許をJ-PlatPat(特許庁公式サイト)で参照する
関連特許
株式会社東芝
センサ
11日前
株式会社東芝
センサ
2か月前
株式会社東芝
センサ
11日前
株式会社東芝
固定子
1か月前
株式会社東芝
センサ
1か月前
株式会社東芝
モータ
6日前
株式会社東芝
ドア構造
1か月前
株式会社東芝
電子装置
5日前
株式会社東芝
金型構造
11日前
株式会社東芝
吸音装置
6日前
株式会社東芝
回路素子
2か月前
株式会社東芝
燃料電池
2か月前
株式会社東芝
半導体装置
8日前
株式会社東芝
半導体装置
8日前
株式会社東芝
半導体装置
8日前
株式会社東芝
半導体装置
18日前
株式会社東芝
半導体装置
8日前
株式会社東芝
半導体装置
8日前
株式会社東芝
電動送風機
1か月前
株式会社東芝
ラック装置
1か月前
株式会社東芝
半導体装置
8日前
株式会社東芝
半導体装置
8日前
株式会社東芝
半導体装置
20日前
株式会社東芝
粒子加速器
5日前
株式会社東芝
半導体装置
2か月前
株式会社東芝
X線厚み計
2か月前
株式会社東芝
差動伝送回路
1か月前
株式会社東芝
異常検出装置
1か月前
株式会社東芝
ディスク装置
1か月前
株式会社東芝
ディスク装置
1か月前
株式会社東芝
アンテナ装置
2か月前
株式会社東芝
電子デバイス
6日前
株式会社東芝
電子デバイス
6日前
株式会社東芝
電子デバイス
6日前
株式会社東芝
音響制御装置
4日前
株式会社東芝
熱電変換装置
6日前
続きを見る
他の特許を見る