TOP
|
特許
|
意匠
|
商標
特許ウォッチ
Twitter
他の特許を見る
公開番号
2025144381
公報種別
公開特許公報(A)
公開日
2025-10-02
出願番号
2024044127
出願日
2024-03-19
発明の名称
遠心ファン構造
出願人
本田技研工業株式会社
代理人
弁理士法人クシブチ国際特許事務所
主分類
F04D
29/28 20060101AFI20250925BHJP(液体用容積形機械;液体または圧縮性流体用ポンプ)
要約
【課題】遠心ファン外周部とファン覆い部材との間に高圧領域が発生する事態を抑制し、遠心ファンの回転抵抗を低減すること。
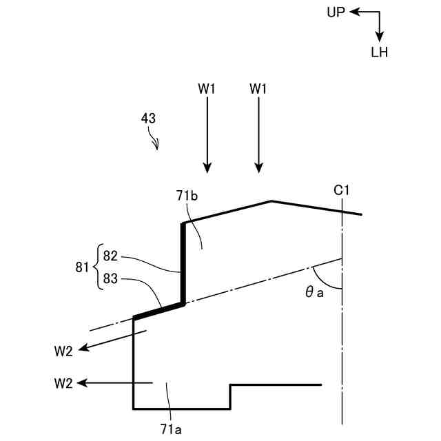
【解決手段】遠心ファン(43)は、回転軸(31)の端部に取り付けられるボス部(61)に周方向に間隔を空けて複数のブレード(71)を備え、各ブレード(71)は、ボス部(61)の基部側に相対的に径方向外側に拡径するブレード拡径部(71a)を有し、各ブレード(71)のうちのブレード拡径部(71a)を除くブレード外周縁を互いに連結する第1壁部(82)と、各ブレード(71)のうちのブレード拡径部(71a)のブレード外周縁を互いに連結する第2壁部(83)を備え、第1壁部(82)と第2壁部(83)が回転軸方向に連結されている。
【選択図】図3
特許請求の範囲
【請求項1】
回転軸(31)の端部に設けられ、回転軸方向に位置する吸気口(41a)から吸気して径方向外側に排気する強制空冷式パワーユニットの遠心ファン(43)であって、前記遠心ファン(43)が前記回転軸(31)の外側からファン覆い部材(45)で覆われる遠心ファン構造において、
前記遠心ファン(43)は、前記回転軸(31)の端部に取り付けられるボス部(61)に周方向に間隔を空けて複数のブレード(71)を備え、各ブレード(71)は、前記ボス部(61)の基部側に相対的に径方向外側に拡径するブレード拡径部(71a)を有し、
各ブレード(71)のうちの前記ブレード拡径部(71a)を除くブレード外周縁を互いに連結すると共に前記吸気口(41a)の外周枠(41g)に向けて指向する第1壁部(82)と、各ブレード(71)のうちの前記ブレード拡径部(71a)のブレード外周縁を互いに連結する第2壁部(83)を備え、前記第1壁部(82)と前記第2壁部(83)が回転軸方向に連結されている
遠心ファン構造。
続きを表示(約 520 文字)
【請求項2】
前記遠心ファン(43)の側断面視で、前記第2壁部(83)と前記回転軸(31)とがなす角度は鋭角である
請求項1に記載の遠心ファン構造。
【請求項3】
前記吸気口(41a)の外周枠(41g)は、吸気方向と逆側に凹む筒状部(41t)を有し、前記第1壁部(82)は、前記筒状部(41t)の開口に向けて指向する
請求項1に記載の遠心ファン構造。
【請求項4】
前記第1壁部(82)は、前記筒状部(41t)の内周部分を構成すると共に前記遠心ファン(43)に向けて突出する内周側突出リブ(41p)と、前記筒状部(41t)の外周部分を構成すると共に前記遠心ファン(43)に向けて突出する外周側突出リブ(41q)の間の開口に向けて指向する
請求項3に記載の遠心ファン構造。
【請求項5】
前記第1壁部(82)は、ブレード外周縁に位置する
請求項1に記載の遠心ファン構造。
【請求項6】
前記回転軸(31)は、クランク軸であり、
前記第1壁部(82)は、前記クランク軸に平行である
請求項1に記載の遠心ファン構造。
発明の詳細な説明
【技術分野】
【0001】
本発明は、遠心ファン構造に関する。
続きを表示(約 1,900 文字)
【背景技術】
【0002】
近年、より多くの人々が手ごろで信頼でき、持続可能かつ先進的なエネルギーへのアクセスを確保できるようにするため、エネルギーの効率化に貢献する遠心ファンの研究開発が行われている。
この種の技術として、遠心ファンの翼頂部の外周付近の連結部を外側に延長し、ファンシュラウドのグリル枠に入り込ませてラビリンス構造とした構成が知られている(例えば特許文献1参照)。
【先行技術文献】
【特許文献】
【0003】
特開平03-18691号公報
【発明の概要】
【発明が解決しようとする課題】
【0004】
ところで、遠心ファンの技術においては、ファンの回転抵抗をより低減することが課題である。
従来の構成は、遠心ファンの翼頂部の外周付近の連結部を外側に延長し、ファンシュラウドのグリル枠に入り込ませるため、遠心ファンとグリル枠との間に空気の流れが殆ど発生しない。そのため、遠心ファンから径方向外側に離れ、且つ、グリル枠側に相当する吸気口側に近接した領域に、内圧が高圧になる領域が生じるおそれがあった。この高圧の領域は、遠心ファンの回転抵抗の増大を招く要因となる。
本発明は、上述した事情に鑑みてなされたものであり、遠心ファン外周部とファン覆い部材との間に高圧領域が発生する事態を抑制し、遠心ファンの回転抵抗を低減することを目的とする。そして、延いてはエネルギーの効率化に寄与するものである。
【課題を解決するための手段】
【0005】
回転軸の端部に設けられ、回転軸方向に位置する吸気口から吸気して径方向外側に排気する強制空冷式パワーユニットの遠心ファンであって、前記遠心ファンが前記回転軸の外側からファン覆い部材で覆われる遠心ファン構造において、前記遠心ファンは、前記回転軸の端部に取り付けられるボス部に周方向に間隔を空けて複数のブレードを備え、各ブレードは、前記ボス部の基部側に相対的に径方向外側に拡径するブレード拡径部を有し、各ブレードのうちの前記ブレード拡径部を除くブレード外周縁を互いに連結すると共に前記吸気口の外周枠に向けて指向する第1壁部と、各ブレードのうちの前記ブレード拡径部のブレード外周縁を互いに連結する第2壁部を備え、前記第1壁部と前記第2壁部が回転軸方向に連結されている遠心ファン構造を提供する。
【発明の効果】
【0006】
本発明によれば、遠心ファン外周部とファン覆い部材との間に高圧領域が発生する事態を抑制し、遠心ファンの回転抵抗を低減することができる。
【図面の簡単な説明】
【0007】
本発明の実施の形態に係る鞍乗り型車両の側面図である。
パワーユニットの右側面図である。
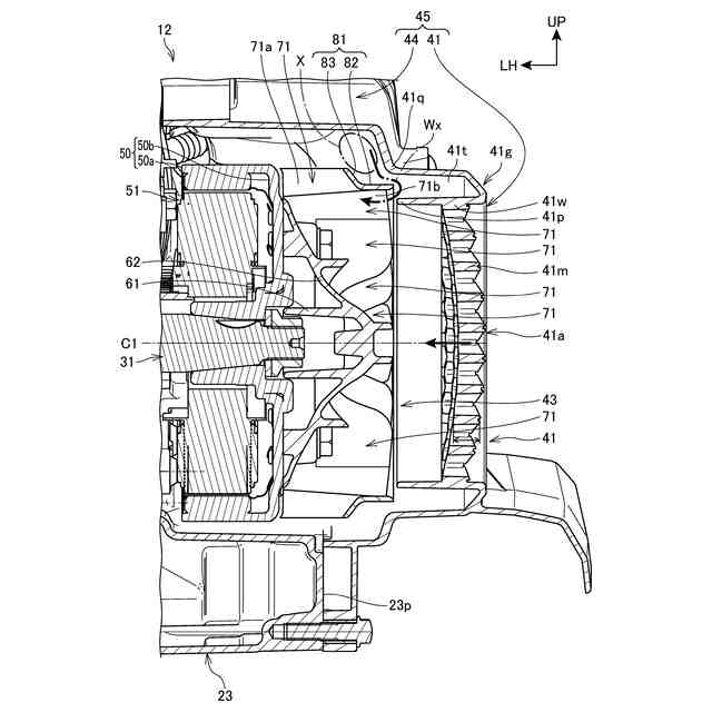
図2のIII-III断面図である。
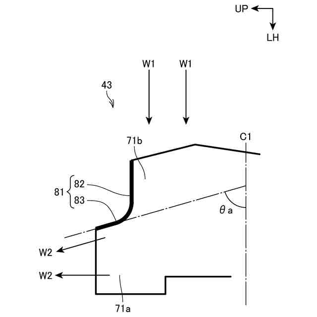
第1壁部及び第2壁部を周辺構成と共に模式的に示す図である。
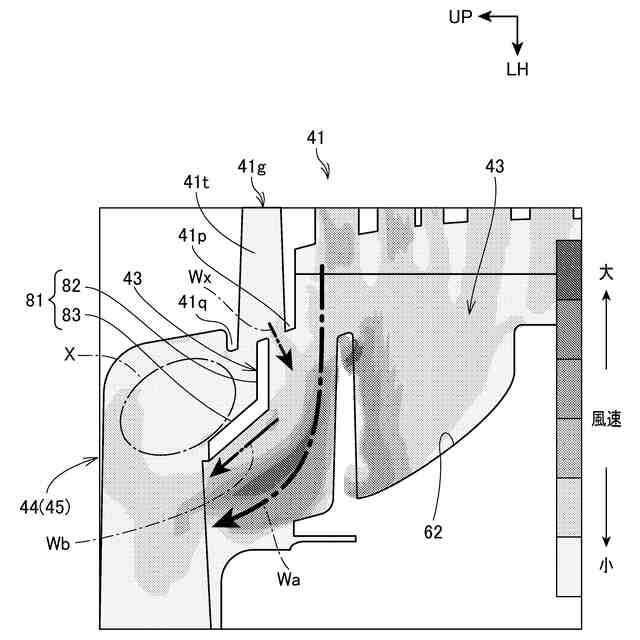
ファン回転時のブレード周囲の空気の流れのシミュレーション結果を示す図である。
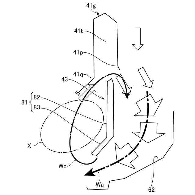
第1壁部及び第2壁部の周囲の空気の流れを示す図である。
変形例の説明に供する図である。
【発明を実施するための形態】
【0008】
以下、図面を参照して本発明の実施の形態について説明する。なお、説明中、前後左右および上下といった方向の記載は、特に記載がなければ車体に対する方向と同一とする。また、各図に示す符号FRは車体前方を示し、符号UPは車体上方を示し、符号LHは車体左方を示す。
【0009】
[実施の形態]
図1は、本発明の実施の形態に係る鞍乗り型車両10の側面図である。
鞍乗り型車両10は、車体フレーム11と、車体フレーム11に支持されるパワーユニット12と、前輪13を操舵自在に支持するフロントフォーク14と、後輪15を支持するスイングアーム16と、乗員用のシート17とを備える車両である。
鞍乗り型車両10は、乗員がシート17に跨るようにして着座する車両である。シート17は、車体フレーム11の後部の上方に設けられる。
【0010】
車体フレーム11は、車体フレーム11の前端部に設けられるヘッドパイプ18と、ヘッドパイプ18の後方に位置するフロントフレーム19と、フロントフレーム19の後方に位置するリアフレーム20とを備える。フロントフレーム19の前端部は、ヘッドパイプ18に接続される。
シート17は、リアフレーム20に支持される。
(【0011】以降は省略されています)
この特許をJ-PlatPat(特許庁公式サイト)で参照する
関連特許
本田技研工業株式会社
モータ
5日前
本田技研工業株式会社
車両構造
5日前
本田技研工業株式会社
断続装置
3日前
本田技研工業株式会社
保持装置
2日前
本田技研工業株式会社
会話装置
1日前
本田技研工業株式会社
車両構造
5日前
本田技研工業株式会社
受電装置
3日前
本田技研工業株式会社
内燃機関
8日前
本田技研工業株式会社
ステータ
1日前
本田技研工業株式会社
送電装置
3日前
本田技研工業株式会社
内燃機関
8日前
本田技研工業株式会社
バッテリ
2日前
本田技研工業株式会社
バッテリ
2日前
本田技研工業株式会社
保管装置
3日前
本田技研工業株式会社
切断装置
1日前
本田技研工業株式会社
保管装置
3日前
本田技研工業株式会社
固体電池
3日前
本田技研工業株式会社
リンク機構
1日前
本田技研工業株式会社
リアクトル
8日前
本田技研工業株式会社
潤滑システム
3日前
本田技研工業株式会社
運転制御装置
5日前
本田技研工業株式会社
鞍乗り型車両
2日前
本田技研工業株式会社
電源システム
3日前
本田技研工業株式会社
放電処理方法
3日前
本田技研工業株式会社
分離システム
5日前
本田技研工業株式会社
鞍乗り型車両
1日前
本田技研工業株式会社
鞍乗り型車両
1日前
本田技研工業株式会社
遠心ファン構造
2日前
本田技研工業株式会社
遠心ファン構造
2日前
本田技研工業株式会社
リリーフバルブ
2日前
本田技研工業株式会社
車両用冷却装置
1日前
本田技研工業株式会社
モータ制御装置
3日前
本田技研工業株式会社
車両用冷却装置
1日前
本田技研工業株式会社
能動型防振装置
5日前
本田技研工業株式会社
CO2電解装置
1日前
本田技研工業株式会社
CO2変換方法
1日前
続きを見る
他の特許を見る