TOP
|
特許
|
意匠
|
商標
特許ウォッチ
Twitter
他の特許を見る
公開番号
2025144380
公報種別
公開特許公報(A)
公開日
2025-10-02
出願番号
2024044126
出願日
2024-03-19
発明の名称
遠心ファン構造
出願人
本田技研工業株式会社
代理人
弁理士法人クシブチ国際特許事務所
主分類
F04D
29/28 20060101AFI20250925BHJP(液体用容積形機械;液体または圧縮性流体用ポンプ)
要約
【課題】遠心ファン外周部とファン覆い部材との間に高圧領域が発生する事態を抑制し、遠心ファンの回転抵抗を低減すること。
【解決手段】遠心ファン(43)は、回転軸(31)の端部に取り付けられるボス部(61)に周方向に間隔を空けて複数のブレード(71)を備え、各ブレード(71)は、ボス部(61)の基部側に相対的に径方向外側に拡径するブレード拡径部(71a)を有し、各ブレード(71)のうちのブレード拡径部(71a)を除くブレード外周縁を互いに連結する第1壁部(82)と、各ブレード(71)のうちのブレード拡径部(71a)のブレード外周縁を互いに連結する第2壁部(83)を備え、第1壁部(82)と第2壁部(83)が回転軸方向に連結されている。
【選択図】図3
特許請求の範囲
【請求項1】
回転軸(31)の端部に設けられ、回転軸(31)方向から吸気して径方向外側に排気する強制空冷式パワーユニットの遠心ファン(43)であって、前記遠心ファン(43)が前記回転軸(31)の外側からファン覆い部材(45)で覆われる遠心ファン構造において、
前記遠心ファン(43)は、前記回転軸(31)の端部に取り付けられるボス部(61)に周方向に間隔を空けて複数のブレード(71)を備え、各ブレード(71)は、前記ボス部(61)の基部側に相対的に径方向外側に拡径するブレード拡径部(71a)を有し、
各ブレード(71)のうちの前記ブレード拡径部(71a)を除くブレード外周縁を互いに連結する第1壁部(82)と、各ブレード(71)のうちの前記ブレード拡径部(71a)のブレード外周縁を互いに連結する第2壁部(83)を備え、前記第1壁部(82)と前記第2壁部(83)が回転軸方向に連結されている
遠心ファン構造。
続きを表示(約 560 文字)
【請求項2】
前記遠心ファン(43)の側断面視で、前記第2壁部(83)と前記回転軸(31)とがなす角度は鋭角である
請求項1に記載の遠心ファン構造。
【請求項3】
前記第2壁部(83)は、前記遠心ファン(43)の側断面視で、前記第1壁部(82)から連続する曲線に沿った形状である
請求項1に記載の遠心ファン構造。
【請求項4】
前記第1壁部(82)、及び前記第2壁部(83)は、前記ブレード(71)の外周側且つクランク軸方向外側から前記ブレード(71)の外周面の半分を覆う
請求項1に記載の遠心ファン構造。
【請求項5】
前記ブレード(71)の前記第1壁部(82)で囲まれた部分は、前記ブレード(71)に対向する位置に設けられた吸気口(41a)と同じ外径である
請求項1に記載の遠心ファン構造。
【請求項6】
前記ブレード拡径部(71a)は、前記遠心ファン(43)の基端まで連続する
請求項1に記載の遠心ファン構造。
【請求項7】
前記遠心ファン(43)の基部の外径は、ファン外周よりも小さく、前記ブレード拡径部(71a)は基端に向けて延びる
請求項1に記載の遠心ファン構造。
発明の詳細な説明
【技術分野】
【0001】
本発明は、遠心ファン構造に関する。
続きを表示(約 1,900 文字)
【背景技術】
【0002】
近年、より多くの人々が手ごろで信頼でき、持続可能かつ先進的なエネルギーへのアクセスを確保できるようにするため、エネルギーの効率化に貢献する遠心ファンの研究開発が行われている。
この種の技術として、遠心ファンにおける吸気口側の一側面に、駆動軸の軸方向に延びる円周状のファン側リブを設けることによって、気流の逆流を低減するラビリンス構造を設けた構成が知られている(例えば特許文献1参照)。
【先行技術文献】
【特許文献】
【0003】
特開2021-110261号公報
【発明の概要】
【発明が解決しようとする課題】
【0004】
ところで、遠心ファンの技術においては、ファンの回転抵抗をより低減することが課題である。
遠心ファン周囲の空気の流れを検討したところ、遠心ファン外周部とファンシュラウドとの間の空間のうち、遠心ファンから径方向外側に離れ、且つ、吸気口側に近接した領域には、空気の流れが殆ど発生せず、内圧が高圧になる領域が生じるおそれがあった。この高圧の領域は、遠心ファンの回転抵抗の増大を招く要因となる。
本発明は、上述した事情に鑑みてなされたものであり、遠心ファン外周部とファン覆い部材との間に高圧領域が発生する事態を抑制し、遠心ファンの回転抵抗を低減することを目的とする。そして、延いてはエネルギーの効率化に寄与するものである。
【課題を解決するための手段】
【0005】
回転軸の端部に設けられ、回転軸方向から吸気して径方向外側に排気する強制空冷式パワーユニットの遠心ファンであって、前記遠心ファンが前記回転軸の外側からファン覆い部材で覆われる遠心ファン構造において、前記遠心ファンは、前記回転軸の端部に取り付けられるボス部に周方向に間隔を空けて複数のブレードを備え、各ブレードは、前記ボス部の基部側に相対的に径方向外側に拡径するブレード拡径部を有し、各ブレードのうちの前記ブレード拡径部を除くブレード外周縁を互いに連結する第1壁部と、各ブレードのうちの前記ブレード拡径部のブレード外周縁を互いに連結する第2壁部を備え、前記第1壁部と前記第2壁部が回転軸方向に連結されている遠心ファン構造を提供する。
【発明の効果】
【0006】
本発明によれば、遠心ファン外周部とファン覆い部材との間に高圧領域が発生する事態を抑制し、遠心ファンの回転抵抗を低減することができる。
【図面の簡単な説明】
【0007】
本発明の実施の形態に係る鞍乗り型車両の側面図である。
パワーユニットの右側面図である。
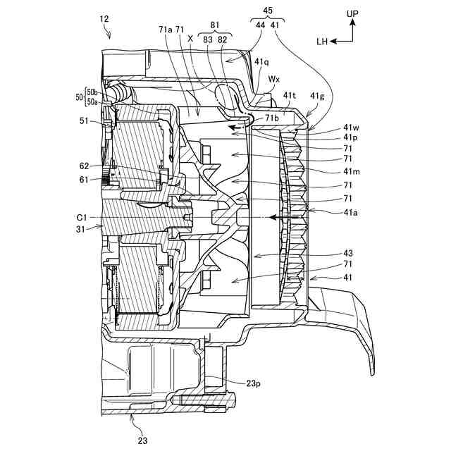
図2のIII-III断面図である。
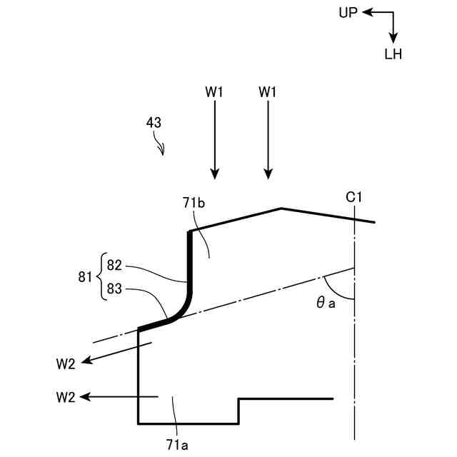
第1壁部及び第2壁部を周辺構成と共に模式的に示す図である。
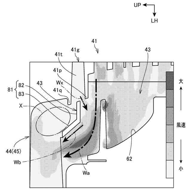
ファン回転時のブレード周囲の空気の流れのシミュレーション結果を示す図である。
第1壁部及び第2壁部の周囲の空気の流れを示す図である。
変形例の説明に供する図である。
【発明を実施するための形態】
【0008】
以下、図面を参照して本発明の実施の形態について説明する。なお、説明中、前後左右および上下といった方向の記載は、特に記載がなければ車体に対する方向と同一とする。また、各図に示す符号FRは車体前方を示し、符号UPは車体上方を示し、符号LHは車体左方を示す。
【0009】
[実施の形態]
図1は、本発明の実施の形態に係る鞍乗り型車両10の側面図である。
鞍乗り型車両10は、車体フレーム11と、車体フレーム11に支持されるパワーユニット12と、前輪13を操舵自在に支持するフロントフォーク14と、後輪15を支持するスイングアーム16と、乗員用のシート17とを備える車両である。
鞍乗り型車両10は、乗員がシート17に跨るようにして着座する車両である。シート17は、車体フレーム11の後部の上方に設けられる。
【0010】
車体フレーム11は、車体フレーム11の前端部に設けられるヘッドパイプ18と、ヘッドパイプ18の後方に位置するフロントフレーム19と、フロントフレーム19の後方に位置するリアフレーム20とを備える。フロントフレーム19の前端部は、ヘッドパイプ18に接続される。
シート17は、リアフレーム20に支持される。
(【0011】以降は省略されています)
この特許をJ-PlatPat(特許庁公式サイト)で参照する
関連特許
本田技研工業株式会社
装置
6日前
本田技研工業株式会社
車両
1か月前
本田技研工業株式会社
車両
7日前
本田技研工業株式会社
モータ
3日前
本田技研工業株式会社
保持装置
今日
本田技研工業株式会社
バッテリ
今日
本田技研工業株式会社
回転機械
1か月前
本田技研工業株式会社
内燃機関
6日前
本田技研工業株式会社
保管装置
1日前
本田技研工業株式会社
ロボット
29日前
本田技研工業株式会社
内燃機関
6日前
本田技研工業株式会社
保管装置
1日前
本田技研工業株式会社
送電装置
1日前
本田技研工業株式会社
断続装置
1日前
本田技研工業株式会社
電解装置
14日前
本田技研工業株式会社
通知装置
6日前
本田技研工業株式会社
バッテリ
今日
本田技研工業株式会社
受電装置
1日前
本田技研工業株式会社
固体電池
1日前
本田技研工業株式会社
車両構造
3日前
本田技研工業株式会社
車両構造
3日前
本田技研工業株式会社
鞍乗型車両
13日前
本田技研工業株式会社
触媒インク
1か月前
本田技研工業株式会社
触媒インク
1か月前
本田技研工業株式会社
リアクトル
6日前
本田技研工業株式会社
電源システム
1日前
本田技研工業株式会社
潤滑システム
13日前
本田技研工業株式会社
車両制御装置
13日前
本田技研工業株式会社
潤滑システム
1日前
本田技研工業株式会社
固体二次電池
13日前
本田技研工業株式会社
車両制御装置
15日前
本田技研工業株式会社
鞍乗り型車両
今日
本田技研工業株式会社
管理システム
1か月前
本田技研工業株式会社
車両制御装置
7日前
本田技研工業株式会社
物体検出装置
1か月前
本田技研工業株式会社
運転制御装置
3日前
続きを見る
他の特許を見る