TOP
|
特許
|
意匠
|
商標
特許ウォッチ
Twitter
他の特許を見る
10個以上の画像は省略されています。
公開番号
2025146093
公報種別
公開特許公報(A)
公開日
2025-10-03
出願番号
2024046695
出願日
2024-03-22
発明の名称
弾性波デバイス、フィルタ、マルチプレクサ、及び弾性波デバイスの製造方法
出願人
太陽誘電株式会社
代理人
個人
主分類
H03H
9/25 20060101AFI20250926BHJP(基本電子回路)
要約
【課題】配線層に亀裂が発生することを抑制可能な弾性波デバイスを提供する。
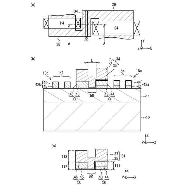
【解決手段】弾性波デバイスは、圧電基板14と、圧電基板14上に設けられ、複数の電極指18aを有する直列共振器S4と、圧電基板14上に設けられ、電極指18aとは異なる材料を含む複数の電極指18bを有する並列共振器P4と、圧電基板14上に設けられ、直列共振器S4に接続し、電極指18aと同じ層構造を有する第1下地導電層36と、圧電基板14上に設けられ、並列共振器P4に接続し、電極指18bと同じ層構造を有し、第1下地導電層36に隙間50を介して対向する第2下地導電層38と、第1下地導電層36上から第2下地導電層38上にかけて設けられ、直列共振器S4と並列共振器P4を接続する配線層34とを備える。
【選択図】図5
特許請求の範囲
【請求項1】
圧電基板と、
前記圧電基板上に設けられ、複数の第1電極指を有する第1弾性波共振器と、
前記圧電基板上に設けられ、前記複数の第1電極指とは異なる材料を含む複数の第2電極指を有する第2弾性波共振器と、
前記圧電基板上に設けられ、前記第1弾性波共振器に接続し、前記複数の第1電極指と同じ層構造を有する第1下地導電層と、
前記圧電基板上に設けられ、前記第2弾性波共振器に接続し、前記複数の第2電極指と同じ層構造を有し、前記第1下地導電層に隙間を介して対向する第2下地導電層と、
前記第1下地導電層上から前記第2下地導電層上にかけて設けられ、前記第1弾性波共振器と前記第2弾性波共振器を接続する配線層と、を備える弾性波デバイス。
続きを表示(約 1,300 文字)
【請求項2】
前記第1下地導電層の厚さは、前記第1下地導電層の全体において一定であり、
前記第2下地導電層の厚さは、前記第2下地導電層の全体において一定である、請求項1に記載の弾性波デバイス。
【請求項3】
前記配線層の厚さは、前記第1下地導電層及び前記第2下地導電層のうち膜厚が大きい方の厚さの2倍以上である、請求項1または2に記載の弾性波デバイス。
【請求項4】
前記隙間を介して前記第1下地導電層と前記第2下地導電層とが対向する間隔は、前記第1下地導電層及び前記第2下地導電層のうち膜厚が大きい方の厚さの1倍以上である、請求項1または2に記載の弾性波デバイス。
【請求項5】
前記複数の第1電極指及び前記複数の第2電極指は同じ方向に配列していて、
前記隙間は、前記配列の方向における前記第1弾性波共振器と前記第2弾性波共振器との間に設けられている、請求項1または2に記載の弾性波デバイス。
【請求項6】
請求項1または2に記載の弾性波デバイスを備えるフィルタ。
【請求項7】
前記第1弾性波共振器は入力端子と出力端子との間に直列に接続された直列共振器であり、
前記第2弾性波共振器は前記入力端子と前記出力端子との間に並列に接続された並列共振器であり、
前記複数の第1電極指は、窒化チタン層である第1導電層と、前記第1導電層上に設けられた第2導電層と、を含み、
前記複数の第2電極指は、チタン層である第3導電層と、前記第3導電層上に設けられ、前記第2導電層と同じ材料の第4導電層と、を含む、請求項6に記載のフィルタ。
【請求項8】
請求項6に記載のフィルタを含むマルチプレクサ。
【請求項9】
圧電基板上に、複数の第1電極指を有する第1弾性波共振器と、前記第1弾性波共振器に接続し、前記複数の第1電極指と同じ層構造を有する第1下地導電層と、を形成する工程と、
前記圧電基板上に、前記第1弾性波共振器と前記第1下地導電層とを覆う第1マスク層を形成する工程と、
前記第1マスク層をマスクとして前記圧電基板上に導電膜を成膜する工程と、
前記第1マスク層を除去した後、前記圧電基板上に前記導電膜の端部に少なくとも開口を有する第2マスク層を形成する工程と、
前記第2マスク層をマスクとして前記導電膜をエッチングし、複数の第2電極指を備える第2弾性波共振器と、前記第2弾性波共振器に接続し、前記複数の第2電極指と同じ層構造を有し、前記第1下地導電層に隙間を介して対向する第2下地導電層と、を形成する工程と、
前記第2マスク層を除去した後、前記第1下地導電層上から前記第2下地導電層上にかけて前記第1弾性波共振器と前記第2弾性波共振器とを接続する配線層を形成する工程と、を備える弾性波デバイスの製造方法。
【請求項10】
前記第2マスク層を形成する工程は、前記導電膜の前記端部に形成された突起部に前記開口が位置するように前記第2マスク層を形成する、請求項9に記載の弾性波デバイスの製造方法。
(【請求項11】以降は省略されています)
発明の詳細な説明
【技術分野】
【0001】
本発明は、弾性波デバイス、フィルタ、マルチプレクサ、及び弾性波デバイスの製造方法に関する。
続きを表示(約 1,600 文字)
【背景技術】
【0002】
スマートフォン等の通信機器に用いられる弾性波デバイスとして弾性表面波(SAW:Surface Acoustic Wave)共振器が知られている。弾性表面波共振器は、圧電基板上に複数の電極指を有するIDT(Interdigital Transducer)が設けられている。弾性表面波共振器は、通信に使用する周波数帯以外の不要な信号を除去するための高周波フィルタに用いられることが知られている(例えば特許文献1-3)。2つの弾性表面波共振器で電極指の積層数を変えることが知られている(例えば特許文献4、5)。
【先行技術文献】
【特許文献】
【0003】
特開2015-89069号公報
特開2008-244523号公報
特開2008-28980号公報
国際公開第2003/005577号
特開2006-333296号公報
【発明の概要】
【発明が解決しようとする課題】
【0004】
第1弾性波共振器と第2弾性波共振器とで電極指の材料を異ならせる場合がある。この場合、第1弾性波共振器の第1電極指と第2弾性波共振器の第2電極指とは別々の工程で形成することになる。第1弾性波共振器と第2弾性波共振器とを接続する配線層はそれぞれの共振器に接続する下地導電層上に形成される。製造工程の簡略化のため、第1弾性波共振器に接続する第1下地導電層は第1電極指と同時に形成され、第2弾性波共振器に接続する第2下地導電層は第2電極と同時に形成される。このような場合に、第1下地導電層上から第2下地導電層上にかけて形成される配線層に亀裂が生じ、電気抵抗の増大又は断線が起こることがある。
【0005】
本発明は、上記課題に鑑みなされたものであり、配線層の亀裂の発生を抑制することを目的とする。
【課題を解決するための手段】
【0006】
本発明は、圧電基板と、前記圧電基板上に設けられ、複数の第1電極指を有する第1弾性波共振器と、前記圧電基板上に設けられ、前記複数の第1電極指とは異なる材料を含む複数の第2電極指を有する第2弾性波共振器と、前記圧電基板上に設けられ、前記第1弾性波共振器に接続し、前記複数の第1電極指と同じ層構造を有する第1下地導電層と、前記圧電基板上に設けられ、前記第2弾性波共振器に接続し、前記複数の第2電極指と同じ層構造を有し、前記第1下地導電層に隙間を介して対向する第2下地導電層と、前記第1下地導電層上から前記第2下地導電層上にかけて設けられ、前記第1弾性波共振器と前記第2弾性波共振器を接続する配線層と、を備える弾性波デバイスである。
【0007】
上記構成において、前記第1下地導電層の厚さは、前記第1下地導電層の全体において一定であり、前記第2下地導電層の厚さは、前記第2下地導電層の全体において一定である構成とすることができる。
【0008】
上記構成において、前記配線層の厚さは、前記第1下地導電層及び前記第2下地導電層のうち膜厚が大きい方の厚さの2倍以上である構成とすることができる。
【0009】
上記構成において、前記隙間を介して前記第1下地導電層と前記第2下地導電層とが対向する間隔は、前記第1下地導電層及び前記第2下地導電層のうち膜厚が大きい方の厚さの1倍以上である構成とすることができる。
【0010】
上記構成において、前記複数の第1電極指及び前記複数の第2電極指は同じ方向に配列していて、前記隙間は、前記配列の方向における前記第1弾性波共振器と前記第2弾性波共振器との間に設けられている構成とすることができる。
(【0011】以降は省略されています)
この特許をJ-PlatPat(特許庁公式サイト)で参照する
関連特許
太陽誘電株式会社
コイル部品
5日前
太陽誘電株式会社
コイル部品
4日前
太陽誘電株式会社
コイル部品
今日
太陽誘電株式会社
コイル部品
4日前
太陽誘電株式会社
生体情報測定装置
4日前
太陽誘電株式会社
セラミック電子部品
4日前
太陽誘電株式会社
積層セラミック電子部品
6日前
太陽誘電株式会社
グルコース濃度推定装置
5日前
太陽誘電株式会社
積層セラミック電子部品
今日
太陽誘電株式会社
積層セラミック電子部品
4日前
太陽誘電株式会社
センサ装置および取付方法
5日前
太陽誘電株式会社
積層セラミックコンデンサ
5日前
太陽誘電株式会社
コイル部品および実装基板
5日前
太陽誘電株式会社
フィルタ及びマルチプレクサ
6日前
太陽誘電株式会社
血圧測定装置および血圧測定方法
5日前
太陽誘電株式会社
コイル部品、コイル部品の製造方法
4日前
太陽誘電株式会社
コイル部品、コイル部品の製造方法
4日前
太陽誘電株式会社
コイル部品及びコイル部品の製造方法
4日前
太陽誘電株式会社
積層セラミックコンデンサ及び回路基板
5日前
太陽誘電株式会社
積層セラミックコンデンサ及び回路基板
7日前
太陽誘電株式会社
磁性基体及び磁性基体を備えるコイル部品
4日前
太陽誘電株式会社
積層セラミック電子部品及びその製造方法
4日前
太陽誘電株式会社
積層セラミック電子部品およびその製造方法
4日前
太陽誘電株式会社
積層セラミック電子部品およびその製造方法
4日前
太陽誘電株式会社
積層セラミック電子部品およびその製造方法
5日前
太陽誘電株式会社
弾性波デバイス、フィルタ、及びマルチプレクサ
11日前
太陽誘電株式会社
心拍検出システム、心拍検出方法およびプログラム
4日前
太陽誘電株式会社
位置情報システム、情報処理装置及び情報処理方法
6日前
太陽誘電株式会社
多重モード型フィルタ、フィルタ、及びマルチプレクサ
11日前
太陽誘電株式会社
積層セラミック電子部品、積層セラミック電子部品の製造方法
4日前
太陽誘電株式会社
積層セラミック電子部品、積層セラミック電子部品の製造方法
4日前
太陽誘電株式会社
積層セラミック電子部品、及び積層セラミック電子部品の製造方法
4日前
太陽誘電株式会社
心拍検出装置、心拍検出システム、心拍検出方法およびプログラム
4日前
太陽誘電株式会社
心拍検出装置、心拍検出システム、心拍検出方法およびプログラム
4日前
太陽誘電株式会社
積層セラミック電子部品、及び積層セラミック電子部品の製造方法
11日前
太陽誘電株式会社
積層セラミックコンデンサ、及び積層セラミックコンデンサの製造方法
4日前
続きを見る
他の特許を見る