TOP
|
特許
|
意匠
|
商標
特許ウォッチ
Twitter
他の特許を見る
10個以上の画像は省略されています。
公開番号
2025145253
公報種別
公開特許公報(A)
公開日
2025-10-03
出願番号
2024045338
出願日
2024-03-21
発明の名称
多重モード型フィルタ、フィルタ、及びマルチプレクサ
出願人
太陽誘電株式会社
代理人
個人
主分類
H03H
9/145 20060101AFI20250926BHJP(基本電子回路)
要約
【課題】通過帯域の帯域幅を広くしかつ通過帯域での損失を低減することが可能な多重モード型フィルタを提供する。
【解決手段】多重モード型フィルタは、支持基板と、支持基板上に設けられ、厚さが3μm以下の圧電層と、圧電層上に設けられ、第1層と第1層より密度の大きい第2層とが積層された複数の電極指を有する1又は複数の入力IDTと、圧電層上に1又は複数の入力IDTと交互に設けられ、第1層と第2層とが積層された複数の電極指を有する1又は複数の出力IDTと、を備え、通過特性において減衰量が-10dBでの通過帯域幅の範囲内にアドミッタンスの実部の周波数特性における共振点が3つ以上存在する。
【選択図】図13
特許請求の範囲
【請求項1】
支持基板と、
前記支持基板上に設けられ、厚さが3μm以下の圧電層と、
前記圧電層上に設けられ、第1層と前記第1層より密度の大きい第2層とが積層された複数の電極指を有する1又は複数の入力IDTと、
前記圧電層上に前記1又は複数の入力IDTと交互に設けられ、前記第1層と前記第2層とが積層された前記複数の電極指を有する1又は複数の出力IDTと、を備え、
通過特性において減衰量が-10dBでの通過帯域幅の範囲内にアドミッタンスの実部の周波数特性における共振点が3つ以上存在する、多重モード型フィルタ。
続きを表示(約 940 文字)
【請求項2】
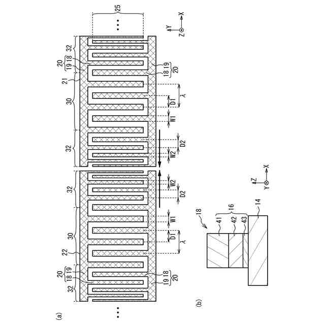
前記1又は複数の入力IDT及び前記1又は複数の出力IDTは、前記複数の電極指が配列した方向において中央に位置する中央領域より端に位置する端部領域における前記複数の電極指の第1ピッチが前記中央領域における前記複数の電極指の第2ピッチより小さい、請求項1に記載の多重モード型フィルタ。
【請求項3】
前記端部領域において前記第1ピッチは前記中央領域側から前記中央領域とは反対側に向かって小さくなる、請求項2に記載の多重モード型フィルタ。
【請求項4】
前記第1ピッチは1ピッチごとに小さくなる、請求項3に記載の多重モード型フィルタ。
【請求項5】
前記3つ以上の共振点のアドミッタンスの実部の値は0.5×10
-1
s以上である、請求項1または2に記載の多重モード型フィルタ。
【請求項6】
前記第2層の厚さは前記複数の電極指の厚さの20%以上である、請求項1または2に記載の多重モード型フィルタ。
【請求項7】
前記複数の電極指は、前記第1層と前記第2層を含む複数層が積層され、前記複数層の各層の密度をρi、前記各層の膜厚をhi、モリブデンの密度をρo、前記1又は複数の入力IDT及び前記1又は複数の出力IDTにおいて前記複数の電極指が配列された方向で中央に位置する中央領域における前記複数の電極指のピッチの平均の2倍をλとした場合に、下記式の値が0.08λ以上0.24λ以下である、
TIFF
2025145253000006.tif
37
170
請求項1または2に記載の多重モード型フィルタ。
【請求項8】
前記第1層はアルミニウムを主成分とする層であり、
前記第2層はモリブデン、タングステン、白金、ルテニウム、又はタンタルを主成分とする層である、請求項1または2に記載の多重モード型フィルタ。
【請求項9】
請求項1または2に記載の多重モード型フィルタを含むフィルタ。
【請求項10】
請求項1または2に記載の多重モード型フィルタを含むマルチプレクサ。
発明の詳細な説明
【技術分野】
【0001】
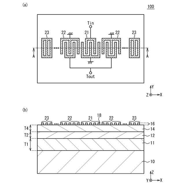
本発明は、多重モード型フィルタ、フィルタ、及びマルチプレクサに関する。
続きを表示(約 2,300 文字)
【背景技術】
【0002】
携帯電話を代表とする高周波通信用システムにおいて、通信に使用する周波数帯以外の不要な信号を除去するために高周波フィルタが用いられている。高周波フィルタとして、複数の電極指を各々有する入力IDT(Interdigital Transducer)と出力IDTとが弾性表面波(SAW:Surface Acoustic Wave)の伝搬方向に交互に配列された多重モード型フィルタが知られている(例えば特許文献1)。
【0003】
また、支持基板上に圧電膜が設けられた弾性波共振器において、圧電膜の厚さを1λ以下とすることで、Q値が高くなることが知られている(例えば特許文献2)。電極指を白金膜、金膜、銀膜、又は銅膜とその上のアルミニウム膜との積層膜にすることで、挿入損失が小さくなることが知られている(例えば特許文献3)。電極指をアルミニウム膜とその上のタングステン膜又はタンタル膜との積層膜にすることで、耐電力性が向上することが知られている(例えば特許文献4)。
【0004】
また、電極指が励振する弾性表面波の音速を、圧電基板内を伝搬するバルク波の音速より遅くすることで低損失となることが知られている(例えば特許文献5)。電極指を白金膜とその上のアルミニウム膜の積層膜とすることで、電極指が励振する弾性表面波の音速が遅くなることが知られている(例えば非特許文献1)。電極指の各層の密度と厚さとモリブデンの密度とから規定される電極指の規格化膜厚を所定範囲内にすることで小型化ができることが知られている(例えば特許文献6)。多重モード型フィルタを形成するIDTのピッチを変調させることで、通過帯域を広くできることが知られている(例えば非特許文献2、3)。
【先行技術文献】
【特許文献】
【0005】
特開2007-181195号公報
特開2015-73331号公報
国際公開第2011/049060号
特開2011-211460号公報
特開2016-136712号公報
特開2019-129508号公報
【非特許文献】
【0006】
Ryo Nakagawa 他2名、“Low Velocity I.H.P.SAW Using Al/Pt Electrodes for Miniaturization”、IEEE International Ultrasonics Symposium、1999年10月6-9日、pp2083-2086
Ken-ya Hashimoto 他2名、”Operation Mechanism of Double-Mode Surface Acoustic Wave Filters with Pitch-Modulated IDTs and Reflectors”、IEEE Ultrasonics Symposium、2005年、pp2157-2161
Ken-ya Hashimoto 他4名、”A Wideband Multi-Mode SAW Filter Employing Pitch-Modulated IDTs on Cu-Grating/15°YX-LiNbO3-Substrate Structure”、IEEE TRANSACTIONS ON ULTRASONICS, FERROELECTRICS, AND FREQUENCY CONTROL、2010年5月、VOL.57、NO.5、pp1183-1187
【発明の概要】
【発明が解決しようとする課題】
【0007】
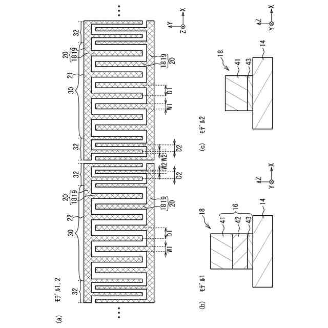
多重モード型フィルタを形成するIDTの電極指のピッチを小さくすることで、多重モード型フィルタを小型化できる。弾性波の音速を遅くすると電極指のピッチは小さくなる。電極指を密度の大きい層を含む構成とすることで、電極指が励振する弾性波の音速は遅くなる。したがって、電極指は、第1層と第1層より密度の大きい第2層とが積層された構成が好ましい。しかしながら、支持基板上に薄い圧電層が設けられた構成では、第1層と第1層より密度の大きい第2層とが積層された電極指を用いた場合、通過帯域の帯域幅が狭くなりかつ通過帯域での損失が大きくなることがある。
【0008】
本発明は、上記課題に鑑みなされたものであり、通過帯域の帯域幅を広くしかつ通過帯域での損失を低減することを目的とする。
【課題を解決するための手段】
【0009】
本発明は、支持基板と、前記支持基板上に設けられ、厚さが3μm以下の圧電層と、前記圧電層上に設けられ、第1層と前記第1層より密度の大きい第2層とが積層された複数の電極指を有する1又は複数の入力IDTと、前記圧電層上に前記1又は複数の入力IDTと交互に設けられ、前記第1層と前記第2層とが積層された前記複数の電極指を有する1又は複数の出力IDTと、を備え、通過特性において減衰量が-10dBでの通過帯域幅の範囲内にアドミッタンスの実部の周波数特性における共振点が3つ以上存在する、多重モード型フィルタである。
【0010】
上記構成において、前記1又は複数の入力IDT及び前記1又は複数の出力IDTは、前記複数の電極指が配列した方向において中央に位置する中央領域より端に位置する端部領域における前記複数の電極指の第1ピッチが前記中央領域における前記複数の電極指の第2ピッチより小さい構成とすることができる。
(【0011】以降は省略されています)
この特許をJ-PlatPat(特許庁公式サイト)で参照する
関連特許
太陽誘電株式会社
全固体電池
今日
太陽誘電株式会社
導波路装置
今日
太陽誘電株式会社
感覚提示システム
1か月前
太陽誘電株式会社
積層セラミック電子部品
1か月前
太陽誘電株式会社
電動アシスト車の制御装置
1か月前
太陽誘電株式会社
導波路装置およびレーダ装置
今日
太陽誘電株式会社
フィルタ及びマルチプレクサ
1か月前
太陽誘電株式会社
バッテリパック及び車両の制御装置
今日
太陽誘電株式会社
特徴量取得装置および特徴量取得方法
14日前
太陽誘電株式会社
積層セラミックコンデンサ及び回路基板
1か月前
太陽誘電株式会社
積層セラミックコンデンサ及び回路基板
7日前
太陽誘電株式会社
積層セラミックコンデンサ及び回路基板
4日前
太陽誘電株式会社
積層セラミックコンデンサ及び回路基板
4日前
太陽誘電株式会社
積層セラミック電子部品及びその製造方法
1か月前
太陽誘電株式会社
圧電トランスデューサおよび電気音響装置
2日前
太陽誘電株式会社
積層セラミック電子部品及びその製造方法
1か月前
太陽誘電株式会社
積層セラミック電子部品及びその製造方法
23日前
太陽誘電株式会社
積層セラミック電子部品およびその製造方法
2か月前
太陽誘電株式会社
電子部品の検査方法および電子部品の製造方法
4日前
太陽誘電株式会社
弾性波デバイス、フィルタ、及びマルチプレクサ
今日
太陽誘電株式会社
積層セラミック電子部品および誘電体磁器組成物
2か月前
太陽誘電株式会社
存在検知システム、存在判定装置および存在判定方法
14日前
太陽誘電株式会社
多重モード型フィルタ、フィルタ、及びマルチプレクサ
今日
太陽誘電株式会社
測位システム、測位装置、測位方法、および測位プログラム
23日前
太陽誘電株式会社
測位システム、測位装置、測位方法、および測位プログラム
23日前
太陽誘電株式会社
弾性波デバイス、フィルタ、及び弾性波デバイスの製造方法
14日前
太陽誘電株式会社
積層セラミック電子部品、及び積層セラミック電子部品の製造方法
今日
太陽誘電株式会社
セラミック電子部品
3日前
太陽誘電株式会社
弾性波デバイス、フィルタ、マルチプレクサ、及び弾性波デバイスの製造方法
1か月前
太陽誘電株式会社
弾性波デバイス、フィルタ、マルチプレクサ、及び弾性波デバイスの製造方法
1か月前
太陽誘電株式会社
弾性波デバイス、フィルタ、マルチプレクサ、及び弾性波デバイスの製造方法
今日
住友ベークライト株式会社
感応膜用組成物、感応膜、におい検出素子、および、においセンサー
7日前
住友ベークライト株式会社
感応膜用組成物、感応膜、におい検出素子、および、においセンサー
7日前
太陽誘電株式会社
劣化検出装置、劣化検出システム、劣化検出方法、重量測定装置、重量測定方法およびプログラム
1か月前
エイブリック株式会社
増幅器
1日前
エイブリック株式会社
電圧検出器
1か月前
続きを見る
他の特許を見る